SWISHER Log Splitter 4-way Wedge L112-195001 Owner’s Manual


swisherinc.com
MODEL NO.
STARTING SERIAL #: L112-195001
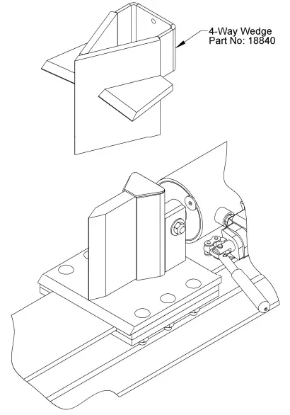
18840
Compatible with all Swisher log splitters except those supplied with permanent log strippers or other features that will interfere with the wedge’s operation.
Contact Customer Service for compatible models.
![]()
IMPORTANT
Read and follow all Safety Precautions and Instructions before operating this equipment.
1602 CORPORATE DRIVE, WARRENSBURG, MISSOURI 64093
PHONE 660-747-8183 FAX 660-747-8650
Manufacturing quality lawn care equipment since 1945
SAFETY PRECAUTIONS
This Safety Alert Symbol indicates important messages in this manual. When you see this symbol, carefully read the message that follows and be alert to the possibility of personal injury.
Read this manual completely. Log splitting equipment can amputate hands, feet, and throw objects. Failure to observe the following safety instructions could result in serious injury or death.
Warning: Operation of engine powered equipment may create sparks from the exhaust that can start fires around dry vegetation. A Spark Arrestor may be required. The operator should contact local fire agencies for laws or regulations relating to fire prevention requirements.
DANGER: Your log splitter was built to be operated according to the rules for safe operation in this manual. As with any type of power equipment, carelessness or error on the part of the operator can result in serious injury. If you violate any of these rules, you may cause serious injury to yourself or others.
- Read and understand the separate log splitter manual and this manual. Learn to operate this equipment in a safe manner. Familiarize yourself with all of the controls in a safe environment before starting to work with log splitting equipment.
- DO NOT under any circumstances alter this 4-way wedge. This equipment was designed and engineered in accordance with operating instructions. Altering this equipment, or using this equipment in such a way as to circumvent its design capabilities and capacities, could result in serious injury or fatality and WILL VOID THE WARRANTY.
- Allow ONLY responsible adults who have read all applicable manuals to operate log splitting equipment. NEVER allow children to operate log splitting equipment.
- NEVER operate or allow someone to operate log splitting equipment while under the influence of alcohol, drugs or medication. Being coherent is essential for safety.
- ALWAYS use outdoors with adequate ventilation. DON’T run the engine in an enclosed area. Exhaust gases contain carbon monoxide. This odorless gas can be deadly when inhaled.
- NEVER use splitter for any other purpose than splitting wood. Any other use can result in injury. Your splitter is a precision piece of power equipment, not a toy. Therefore, exercise extreme caution at all times.
- ONLY a single operator is to load and operate the log splitter. KEEP all others, including pets and children, a minimum of 20 feet away from your work area. More accidents occur when more than one person operates the log splitter than any other time.
- ALWAYS wear protective gear such as safety goggles, protective hearing device, steel-toed shoes, and tight-fitting gloves without drawstrings or loose cuffs.
- NEVER wear loose clothing or jewelry that can be caught by moving parts of the splitter and pull you into it. Keep hair away from moving parts.
- NEVER operate your splitter on wet, muddy, or icy surfaces. KEEP work area clean of split wood. Safe footing is essential in preventing accidents.
- ONLY operate splitter on level ground with wheels blocked, not on the side of a hill. It could tip, or rolling logs, poor footing, etc. could cause an accident.
- NEVER operate your splitter near a flame or spark. Hydraulic oil and gasoline are flammable and can explode.
- NEVER fill gas tank while the engine is hot or running. Allow the engine to cool before refueling.
- ONLY use your hands to operate the control lever. NEVER use foot, knee, rope or any extension device.
- Split ONLY one log at a time. NEVER attempt to split two logs on top of each other.
- NEVER place hands or feet between log and splitting wedge or between log and ram during forward or reverse stroke. ALWAYS keep fingers clear of splits that open in log during splitting operation.
- DO NOT straddle or reach across the splitting area while operating the splitter.
- DO NOT step over splitter when the engine is running. You may trip or accidentally activate the splitting wedge. Walk around to get to the other side.
- NEVER attempt to load splitter while splitting wedge is in motion. When loading log splitter, place hands on the sides of the log, not the ends.
- NEVER attempt to split woods across the grain. Wood may burst or fly out of your splitter and result in serious injury.
- NEVER leave your splitter unattended with the engine running. Shut off the engine if you are leaving your splitter, even for a short period of time. Someone could accidentally activate the ram and be injured.
- Both ends of the log should be cut as squarely as possible to prevent the log from sliding out of the splitter during operation. Log length should be kept to 24” or less when splitting with 4-way wedge or 25 1/2” or less when splitting without 4-way wedge.
- NEVER operate your splitter while it is attached to the tow vehicle.
- NEVER tow splitter with 4-way wedge installed. It can become dislodged and cause serious injuries and/or damage.
- BEFORE towing, be certain that the splitter is securely attached to the towing vehicle and that the support leg, beam and cylinder are secured in there respective towing positions.
- NEVER allow persons to ride on splitter. DO NOT carry any cargo or wood on your splitter. It may fall off and cause an accident.
- DO NOT loosen or remove any hydraulic fitting, line or reservoir cap while your splitter or engine is running.
- Fluid escaping from a very small hole can almost be invisible. DO NOT check for leaks with your hand. See maintenance section of separate log splitter manual for instructions. IF injured by escaping fluid, see a doctor at once. Serious infection or reaction can develop if proper medical treatment is not administered immediately.
- DO NOT operate your splitter in poor mechanical condition or when it is need of repair.
- ALWAYS disconnect the spark plug wire and place the wire where it cannot contact the spark plug, to prevent accidental starting the engine when setting up, transporting, adjusting or repairing.
TOWING SAFETY
- NEVER tow splitter with 4-way wedge installed. It can become dislodged and cause serious injuries and/or damage.
- REFER to separate log splitter manual for all other towing safety information.
ASSEMBLY

To install 4-way wedge, simply slide it over the top of the log splitter wedge ensuring it is fully seated. Ensure appendages are safe from any pinch points during installation.
Inspect all components for damage. If you believe you have a damaged part please contact customer service immediately at 1- 800-222-8183.
WARNING: Exercise extreme caution, as this part is heavy. Serious injury can occur should this product be dropped on any part of the body.
The 4-Way splitting wedge should only be used while log splitter is in the horizontal position.

OPERATION
INTENDED USE: This 4-way wedge is intended and designed to only split wood. NEVER use for any other purposes. Doing so can cause injury or VOID THE WARRANTY.
WARNING: DO NOT START OR RUN A LOG SPLITTER WITHOUT OIL IN THE ENGINE AND/OR HYDRAULIC RESERVOIR.
OPERATING LOG SPLITTER
See separate log splitter and engine manuals for starting and operating instructions. The 4-way wedge is intended to increase speed and efficiency of your Swisher splitter by splitting the log twice during normal operation of the splitter (see separate log splitter manual for normal operation). The 4-way wedge works best when splitting larger logs requiring more than one split to get desired log size. It may be more advantageous to remove the 4-way wedge for smaller logs requiring only one split (see assembly instructions for removal and installation).
MAINTENANCE & STORAGE
See separate log splitter and engine manuals for maintenance instructions. 4-way wedge should be stored in a dry location when not in use. If the wedge becomes dull or nicked a grinder or sharpening tool can be used to sharpen it.

The operation of any splitter can produce foreign objects to be thrown into the eyes, resulting in severe eye damage. Always wear certified safety glasses or wide-vision safety goggles over spectacles before starting any splitting machine and while operating such a machine.

The operation of any splitter produces sound waves that are damaging to the human ear. Ear protection is recommended.


SWISHER HISTORY
Back before electricity came to rural Missouri Max Swisher was producing lawn mowers from his mother’s chicken house. Max never liked to mow grass. He installed a gearbox on his family’s lawn mower creating a self-propelled unit. By tying one end of a rope to the mower and the other end to a tree in the center of the yard the mower circled the tree, shortening the rope and guiding the mower in concentric circles. Max enjoyed relaxing under a shade tree while his invention did all the work.
Max had designed his first self-propelled rotary lawn mower to do his dirty work for him. Neighbors noticed his new invention and began asking him to make more. Today, 60 years later, Swisher is still producing innovative lawn and garden and ATV/UTV equipment designed to give us all more “relaxing in the shade” time.
Swisher products have been featured nationally on television programs such as Regis and Kathie Lee and seen in publications like ATV Magazine, Country Journal, Popular Mechanics Magazine and others. In January 2000 Popular Mechanics Magazine named Max’s zero turning radius riding mower one of the 20th century’s top household inventions.
Swisher offers value and function in its products to meet your grounds maintenance needs.
CELEBRATING OVER 65 YEARS OF INNOVATION
SINCE 1945

LOG SPLITTER
HOW TO ORDER REPAIR PARTS:
Each Log Splitter has its own serial number. Each engine has its own serial number. The serial number for the Log Splitter will be found on the right hand side of the hydraulic oil reservoir. The serial number for the engine will be found on the top of the blower fan housing.
All Log Splitter parts listed herein may be ordered directly from Swisher, your nearest Swisher dealer, or from our website.
All engine parts may be ordered from the nearest dealer of the engine supplied with your log splitter. Parts subject to change without notice.
WHEN ORDERING PARTS, PLEASE HAVE THE FOLLOWING INFORMATION AVAILABLE:
* PRODUCT – SWISHER LOG SPLITTER
* SERIAL NUMBER – _______________
* MODEL NUMBER – _______________
* ENGINE MODEL NUMBER – _______________
TYPE – _______________
* PART NUMBER
* PART DESCRIPTION
www.swisherinc.com
TELEPHONE – 1-800-222-8183
FAX – 1-660-747-8650
SWISHER ACQUISITION INC.
1602 CORPORATE DRIVE
WARRENSBURG, MO 64093
SWISHER


















