best WCT1306SS 30 Inch 650 cfm Convertible Hood

INSTALLATION, USE & CARE INSTRUCTIONS
WARNING
TO REDUCE THE RISK OF FIRE, ELECTRIC SHOCK, OR INJURY TO PERSONS, OBSERVE THE FOLLOWING:
- Use this unit only in the manner intended by the manufacturer. If you have questions, contact the manufacturer at the address or telephone number listed in the warranty.
- Before servicing or cleaning unit, switch power off at service panel and lock the service disconnecting means to prevent power from being switched on accidentally. When the service disconnecting means cannot be locked, securely fasten a prominent warning device, such as a tag, to the service panel.
- Installation work and electrical wiring must be done by qualified personnel in accordance with all applicable codes and standards, including fire-rated construction codes and standards.
- Sufficient air is needed for proper combustion and exhausting of gases through the flue (chimney) of fuel burning equipment to prevent backdrafting. Follow the heating equipment manufacturer’s guideline and safety standards such as those published by the National Fire Protection Association (NFPA), and the American Society for Heating, Refrigeration and Air Conditioning Engineers (ASHRAE), and the local code authorities.
- When cutting or drilling into wall or ceiling, do not damage electrical wiring and other hidden utilities.
- Ducted fans must always be vented to the outdoors.
- Do not use this unit with any separate solid-state speed control device.
- To reduce the risk of fire, use only metal ductwork.
- This unit must be grounded.
- When installing, servicing or cleaning the unit, it is recommended to wear safety glasses and gloves.
- When applicable local regulations comprise more restrictive installation and/or certification requirements, the aforementioned requirements prevail on those of this document and the installer agrees to conform to these at his own expense.
For ADA compliance installation guidelines, please type the model number into our website.
Operation

- Lights:
Press this key to turn ON the lights to the last saved intensity. If there was no light intensity saved, the lights will be set on LOW intensity.
When the lights are ON, press this key to turn the lights OFF and the current light intensity is saved to memory. - Light Slider and Light LED Bar:
The slider area is equally spaced in 4 sections: LOW, MEDIUM-LOW, MEDIUM-HIGH and HIGH intensity. There is no OFF position on the slider.
When touching a section on the slider, the corresponding light intensity illuminates right away on the LED bar.
Light intensity can be increased or decreased by touching the corresponding section on the slider. - WIFI :
This key is used to pair the range hood (via Bluetooth®) to a smart device and to connect it to your home WiFi network or deactivate WiFi/Bluetooth®
ACTIVATING PAIRING MODE
Before starting this procedure, ensure fan and lights are OFF.
Press the key 3 seconds to initiate the pairing process, if the WiFi/Bluetooth function was OFF, it will turn back ON. The WiFi LED indicator will flash (15 sec) showing that the device is ready to be paired.
WIFI/BLUETOOTH FUNCTIONALITY
To turn OFF the WiFi/Bluetooth function, press the key for 3 seconds. Once the WiFi LED is flashing, press the fan Master ON/OFF key for 3 seconds. The WiFi LED will stop flashing and turn OFF. The WiFi/Bluetooth function will turn OFF. To turn back ON the WiFi/Bluetooth function, press the key for 3 seconds.
Sleep mode: When the fan and lights are OFF and not in use for 3 minutes, the WIFI LED will automatically turn OFF. Pressing any key will turn the WIFI LED back on.
RESETTING WIFI/BLUETOOTH
To reset the WIFI/ Bluetooth connectivity (remove saved devices and disconnect from the WIFI network), press the key for 3 seconds. Once the WIFI LED is flashing, press the key again for 10 seconds.
ESSENTIALS TO CONNECT YOUR WIFI/BLUETOOTH UNIT
Before you connect your range hood to a WIFI network, you will need:
- A smart device with the latest version of iOS or Android operating system
- The smart device has access to the internet and WIFI and Bluetooth are enabled
- The smart device within 5 meters (16 ft.) of the range hood unit
- The range hood unit is within the WIFI signal range of your home network
- The name of your WIFI home network (SSID) and its password
- No other Bluetooth enabled smart device nearby.
CONNECTING YOUR WIFI/BLUETOOTH UNIT
- Download the BEST Kitchen app.
- Follow the instructions in the app.
- Scan the QR code below if you need more details for installing and using the app.

Apple and the Apple logo are trademarks of Apple Inc., registered in the U.S. and other countries. App Store is a service mark of Apple Inc., registered in the U.S. and other countries.
Google Play and the Google Play logo are trademarks of Google LLC.
The Bluetooth® word mark and logos are registered trademarks owned by Bluetooth SIG, Inc. and any use of such marks by BEST is under license.
Other trademarks and trade names are those of their respective owners.
USING YOUR CONNECTED ITEM
Now that your unit is properly connected, you can experience all the functionalities through the app. Even if you are not physically close to the unit, you can control it through the app using your WIFI network.
VOICE CONTROL
You can control the range hood through your voice assistant device (Alexa or Google Home).
USING ALEXA APP OR ALEXA SPEAKER OR DISPLAY
You can rename your range hood using the Alexa app. Keep in mind that this only renames the device on Alexa’s end.
Here are some of the currently Alexa voice commands for your range hood:
Range hood:
Alexa, turn ON the range hood
Alexa, turn the range hood ON
Alexa, turn OFF the range hood
Alexa, turn the range hood OFF
Fan
Alexa, turn ON the range hood fan
Alexa, turn OFF the range hood fan
Alexa, set the range hood fan speed to one
Alexa, set the range hood fan speed to two
Alexa, set the range hood fan speed to three Alexa, set the range hood fan speed to four
Lights
Alexa, turn ON the range hood lights
Alexa, turn OFF the range hood lights
Alexa, set the range hood lights to one
Alexa, set the range hood light to two
Alexa, set the range hood lights to three
USING GOOGLE ASSISTANT ENABLED SPEAKER OR DISPLAY
Say “Hey Google” and Google will start listening to your commands.
Here are some of the currently Google voice commands for your powerpack insert:
Range hood
Hey Google, turn ON the range hood
Hey Google, turn the range hood ON
Hey Google, turn OFF the range hood
Hey Google, turn the range hood OFF
Fan:
Hey Google, turn ON the range hood fan
Hey Google, turn OFF the range hood fan
Hey Google, set the range hood fan speed to one Hey Google, set the range hood fan speed to two Hey Google, set the range hood fan speed to three Hey Google, set the range hood fan speed to four
Lights
Hey Google, turn ON the range hood lights
Hey Google, turn OFF the range hood lights
Hey Google, set the range hood lights to one
Hey Google, set the range hood lights to two
Hey Google, set the range hood lights to three
FIRMWARE UPDATE
Periodic firmware updates will improve your experience using the unit. You will be able to explore new features that are added to the device and have enhanced user experience while interacting with the device. A BEST user account must be created in order to take advantage of Firmware updates. When updates are available, you will be notified through the app. We recommend installing updates when they are available; it only takes a few minutes.
When a firmware is available, you will need:
- The range hood connected to your WIFI home network
- Your smart device with the BEST Kitchen app properly installed and configured
Delay OFF:
When fan is ON or AUTO mode enabled and running, press this key to activate the delay function; the delay off LED indicator will turn ON for the duration of the delay (or until cancelled). The fan will continue to operate for 10 minutes and then, will shut off automatically.
When the delay mode is active, it is possible to change the fan speed by touching the fan slider without affecting the remaining time of the delay.
To cancel the delay function before the end of the 10 minute-cycle, press again on the delay OFF key or turn OFF fan using fan Master ON/OFF key.
When the fan is OFF, pressing this key will have no effect.
AUTO (SmartSense®):
When the fan is OFF, press this key to enable the Auto mode. When a cooking session is detected, this function will automatically start or adjust the fan speed according to the heat detected on the cooktop. The fan will automatically turn OFF when there is no longer sufficient heat detected on the cooktop.
When the hood is OFF and not in use for 3 minutes, the Auto LED indicator will automatically turn OFF. Pressing any key will turn the LED indicator back ON.
To disable the Auto mode, press for a long time the
Auto key until the LED indicator turns OFF.
Manual fan speed adjustment in Auto mode:
When the Auto mode is operating, it is possible to manually change the fan speed using the fan slider. The Auto LED indicator will turn OFF to indicate that the Auto mode is on pause until the Auto key is pressed again. When the Auto mode is operating, it is possible to manually turn the fan OFF using the fan master ON/OFF key. The Auto LED indicator will turn OFF to indicate that the Auto mode is on pause. When the heat is sufficiently low on the cooktop, the Auto mode function will automatically be re-enabled and the Auto LED indicator will turn ON. When the Auto mode is on pause, it is also possible to enable it again by pressing the Auto mode key.
Auto Mode Characteristics:
- The Auto Mode sensor measures the temperature related to cooking activity on the range or cooktop.
- When removing a pan or pot from a hot stove surface, the fan speed may increase. This is not unusual since the sensor detects a temperature increase.
- The fan may turn OFF when cooking at a very low temperature level, especially with induction units.
- The fan may turn OFF temporarily when adding cold or frozen items in the pan or pot. When the items heat up sufficiently, the fan will automatically turn back ON.
- When opening the door of a hot oven or when running a self-cleaning oven, the fan may start automatically.
- When starting to cook, there may be a short delay of the fan operation while the pot/pan heats up.
- After cooking is finished, it is normal for the fan to remain ON for a short period of time until the cooking surface/pot/pan cools down.
Fan Slider and Fan LED Bar:
The slider area is equally spaced in 4 sections: LOW, MEDIUM-LOW, MEDIUM-HIGH and HIGH fan speed. There is no OFF position on the slider.
When touching a section on the slider, the corresponding fan speed is activated right away. The fan LED bar will light up as per the corresponding selected section.
When pressing the slider on the same section that is currently active, the fan remains at the same speed. The fan LED bar also remains light up at the same selected section.
It is possible to touch a section on the slider and then slide the finger into another section. During this time, the corresponding fan speed is activated right away. The fan LED bar will also light as per the corresponding selected section.
Fan:
Press this key to turn ON the fan to the last saved speed. If there was no speed saved, the fan will be set on LOW speed.
When the fan is ON, press this key to turn the fan OFF and the current fan speed is saved to memory.
Filter Cleaning Reminder
When the user turns the fan OFF, and the right section of the fan LED bar flashes slowly during 30 seconds, then this means it is time to clean the hood and filters. Refer to the next section. This will happen every time the user turns the fan OFF (and the timer has not been reset).
Once the cleaning is done, at any time during the 30-second signal (and the fan is OFF), a long press on the fan key will reset the timer and stop the fan LED bar flashing.
Code Ready TechnologyTM Activation
The Code Ready Technology option allows to change the blower output from the factory setting to a maximum of 400 CFM or 300 CFM. Activating the CRT option will reduce the airflow, so that the range hood will perform within the allowable limit of Make-Up Air (MUA) codes (to meet some building code requirements). Do not change the blower CFM setting unless this change is required by code. This change will alter the performance of the product.
IMPORTANT NOTES:
- This change CANNOT be reverted.
- CRT can only be set within the first 5 minutes of applying power to the unit.
- A power outage will not deactivate the CRT.
- Fan and lights must be OFF.

- Switch power OFF using the main power switch (located behind the filters) then turn it ON and press simultaneously on Lights (A) and Fan (B) keys for 5 seconds; left section of Lights LED bar and right section of Fan LED bar will now flash to indicate you entered the CRT menu.
400 CFM MAXIMUM AIRFLOW - To select the 400 CFM maximum airflow, press on the Fan (B) key for 5 seconds, then release; the right section of Fan LED bar will now flash to indicate 400 CFM has been selected (the Lights (A) LED bar will be shut).
- A second 5-second press on the Fan (B) key and release confirms the selection; the right section of Fan LED bar quickly flashes twice, and the buzzer sounds a double beep. The user interface returns to normal operation.
- Locate the CRT sticker near the HVI Certification label inside the range hood, behind the filters. Check the proper box (400 CFM).
300 CFM MAXIMUM AIRFLOW - To select the 300 CFM maximum airflow, press on the Lights (A) key for 5 seconds, then release; the left section of Lights LED bar will now flash to indicate 300 CFM has been selected (the Fan (B) LED bar will be shut).
- A second 5-second press on the Lights (A) key and release confirms the selection; the left section of Lights LED bar quickly flashes twice, and the buzzer sounds a double beep. The user interface returns to normal operation.
- Locate the CRT sticker near the HVI Certification label inside the range hood, behind the filters. Check the proper box (300 CFM).
Your unit is equipped with a HEAT SENTRY™ thermostat. This thermostat is a device that will turn on or speed up the blower if it senses excessive heat above the cooking surface.
- If blower is OFF – it turns blower ON to HIGH speed.
- If blower is ON at a lower speed setting – it turns blower up to HIGH speed.
When the temperature level drops to normal, the blower will return to its original setting.
NOTE: When Heat Sentry is activated, the fan LED bar flashes slowly and the fan speed cannot be changed.
WARNING
The HEAT SENTRY thermostat can start the blower even if the hood is turned OFF. When this occurs, it is impossible to turn the blower OFF with its key. If you must stop the blower, set the main power switch (located behind the filters, on inner side of the unit faceplate) in OFF position (if it is possible to do so safely).
Grease Filters
The hybrid baffle filters should be cleaned frequently. Use a warm dishwashing detergent solution. The hybrid baffle filters are dishwasher safe.
Clean the filters in the dishwasher using a non-phosphate detergent. Discoloration of the filters may occur if using phosphate detergents, or as a result of local water conditions – but this will not affect filters performance. This discoloration is not covered by the warranty. To minimize or prevent discoloration, hand wash filters using a mild detergent.
Non-ducted Filters
Change the non-duct recirculation filters every 6 months. Purchase SV22759.
Hood Cleaning
Stainless Steel Cleaning:
Do:
- Regularly wash with clean cloth or rag soaked with warm water and mild soap or liquid dish detergent.
- Always clean in the direction of original polish lines.
- Use clean rag or cloth soaked with clean water (2 or 3 times) after cleaning. Wipe dry completely.
- You may also use a specialized household stainless steel cleaner.
Don’t: - Use any steel or stainless steel wool or any other scrapers to remove stubborn dirt.
- Use any harsh or abrasive cleansers.
- Allow dirt to accumulate.
- Let plaster dust or any other construction residues reach the hood. During construction/renovation, cover the hood to make sure no dust sticks to stainless steel surface.
Avoid when choosing a detergent: - Any cleaners that contain bleach will attack stainless steel.
- Any products containing: chloride, fluoride, iodide, bromide will deteriorate surfaces rapidly.
- Any combustible products used for cleaning such as acetone, alcohol, ether, benzol, etc., are highly explosive and should never be used close to a range.
Installation
Recommended Tools and Accessories
Some illustrations may slightly differ from your actual range hood.
Select Installation Type
Use metal foil duct tape to seal duct joints and openings.
NOTE (WCP1 only): Ceiling greater than 9 ft. must purchase flue extension AEWCP1SS.
Hood Specifications

Construct Wood Wall Framing Trace Center Line and Place Screw Prepare Installation 
| A | B | C | ||
| Hood distance above cooktop | Wood wall framing distance above cooktop | Center screw distance above cooktop (in)
| ||
| WCS1/WCT1 | WCP1 | WCS1/WCT1 | WCP1 | |
| 24 | 34 | 35-1/2 | 36 | 37-1/2 |
| 25 | 35 | 36-1/2 | 37 | 38-1/2 |
| 26 | 36 | 37-1/2 | 38 | 39-1/2 |
| 27 | 37 | 38-1/2 | 39 | 40-1/2 |
| 28 | 38 | 39-1/2 | 40 | 41-1/2 |
| 29 | 39 | 40-1/2 | 41 | 42-1/2 |
| 30 | 40 | 41-1/2 | 42 | 43-1/2 |
Remove Junction Box Cover (WCT1 and WCS1 Only)
Remove Proper Knockout (A or B) 
Remove Blower and Plate Assembly (Horizontal Discharge Only)
Install the Hood
Level and Secure the Hood
Fix the Lower Part of the Hood
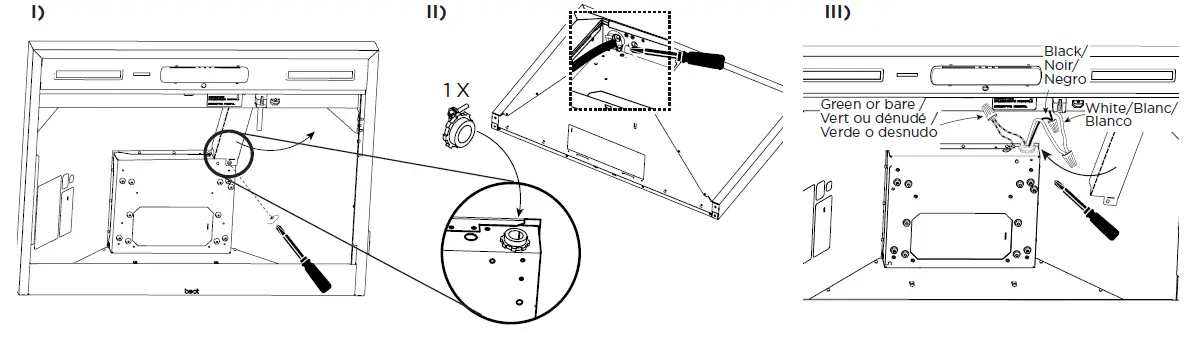
Wiring
WCS1 / WCT1

WCP1

Install Upper Flue Mounting Bracket (Ducted Installation Only) 
Install Proper Damper and Seal Duct Joints
Reinstall Blower (Horizontal Discharge Only)
Connect Ducting and Seal Duct
Joints (Vertical Discharge)
NOTE: Non-Duct Kit (purchased separately)
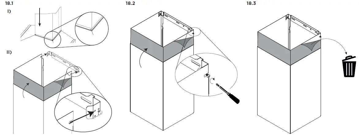
Prepare Decorative Flue
Remove protective film on the lower part.
Begin removing protective film on the upper part. 
Install Decorative Flue
Remove Sticker
Reinstall Grease Filters 
Replacement Parts

| KEY NO. NO N.O | PART NO. NO DE PIÈCE N.O DE PIEZA | DESCRIPTION DESCRIPCIÓN | QTY (HOOD WIDTH) / QTÉ (LARGEUR HOTTE) / CANT. (ANCHURA CAMPANA) | ||||
| 30”/PO/ PULG. WCS1/ WCT1 | 30”/PO/ PULG. WCP1 | 30”/PO/ PULG. BLS WCS1 | 36”/PO/ PULG. WCS1/ WCT1 | 36”/PO/ PULG. WCP1 | |||
| 1 | S1108005 | UPPER FLUE MOUNTING BRACKET / SUPPORT DE MONTAGE CONDUIT DÉCORATIF SUPÉRIEUR / SOPORTE DE MONTAJE CHIMENEA DECORATIVA SUPERIOR (WCS1, WCP1, WCT1) | 1 | 1 | 1 | 1 | 1 |
| 2 | S1108000 | UPPER AND LOWER FLUE / CONDUIT DÉCORATIF INFÉRIEUR ET SUPÉRIEUR / CHIMENEA DECORATIVA INFERIOR Y SUPERIOR (WCS1, WCT1) | 1 | 1 | |||
| S1108001 | UPPER AND LOWER FLUE / CONDUIT DÉCORATIF INFÉRIEUR ET SUPÉRIEUR / CHIMENEA DECORATIVA INFERIOR Y SUPERIOR (WCP1) | 1 | 1 | ||||
| S1108002 | UPPER AND LOWER FLUE / CONDUIT DÉCORATIF INFÉRIEUR ET SUPÉRIEUR / CHIMENEA DECORATIVA INFERIOR Y SUPERIOR (BLS WCS1) | 1 | |||||
| 3 | SV08543 | DAMPER 8″ / VOLET 8 PO / COMPUERTA 8 PULG. | 1 | 1 | 1 | 1 | 1 |
| 4 | SV13296 | DAMPER 3-1/4″ X 10″ / VOLET 3-1/4 PO X 10 PO / COMPUERTA 3-1/4 PULG. X 10 PULG. | 1 | 1 | 1 | 1 | 1 |
| 5 | SV08487 | DAMPER 6″ / VOLET 6 PO / COMPUERTA 6 PULG. | 1 | 1 | 1 | 1 | 1 |
| 6 | S1106841 | ELECTRONIC BOARD / CARTE ÉLECTRONIQUE / TARJETA ELECTRÓNICA | 1 | 1 | 1 | 1 | 1 |
| 7 | S99271695 | LED MODULE (SOLD INDIVIDUALLY) / MODULE DEL (VENDU À L’UNITÉ) / MODULO LED (SE VENDE INDIVIDUALMENTE) | 2 | 2 | 2 | 2 | 2 |
| 8 | S1106565 | IR SENSOR AND HARNESS / CAPTEUR INFRAROUGE ET HARNAIS / SENSOR INFRARROJO Y ARNÉS | 1 | 1 | 1 | 1 | 1 |
| 9 | S97021509 | BLOWER / VENTILATEUR / VENTILADOR | 1 | 1 | 1 | 1 | 1 |
| 10 | S99271674 | CAPACITOR 20 µF / CONDENSATEUR 20 µF / CONDENSADOR 20 µF | 1 | 1 | |||
| S99271379 | CAPACITOR 25 µF / CONDENSATEUR 25 µF / CONDENSADOR 25 µF | 1 | 1 | 1 | |||
| 11 | SV62053 | HYBRID BAFFLE FILTER / FILTRE À CHICANES HYBRIDE / FILTRO DEFLECTOR HíBRIDO | 2 | 2 | 2 | 2 | 2 |
| 12 | S1106841 | WIFI ANTENNA / ANTENNE WIFI / ANTENA WIFI | 1 | 1 | 1 | 1 | 1 |
| 13 | S1106770 | CAPACITIVE SLIDER CONTROL WITH WIFI ANTENNA / COMMANDE CAPACITIVE À GLISSEUR AVEC ANTENNE WIFI / CONTROL CAPACITIVO CON DESLIZADOR CON ANTENA WIFI | 1 | 1 | 1 | 1 | 1 |
| 14 | S1106920 | FILLERS (SET OF 2) / ENTRETOISES (ENS. DE 2) / RELLENOS (JUEGO DE 2) | 1 | 1 | |||
| * | SV22759 | CHARCOAL FILTERS (SET OF 2) / FILTRES AU CHARBON (ENS. DE 2) / FILTROS DE RECIRCULACIÓN (JUEGO DE 2) | 1 | 1 | 1 | 1 | 1 |
| * | SV22757 | CHARCOAL FILTERS CLIPS (SET OF 4) / CLIPS POUR FILTRES AU CHARBON (ENS. DE 4) / CLIPS PARA FILTROS DE RECIRCULACIÓN (JUEGO DE 4) | 1 | 1 | 1 | 1 | 1 |
| * | S99271710 | UI HARNESS / HARNAIS INTERFACE UTILLISATEUR / ARNÉS INTERFAZ DE USUARIO | 1 | 1 | 1 | 1 | 1 |
| * | S1107395 | PARTS BAG / SAC DE PIÈCES / BOLSA DE PIEZAS | 1 | 1 | 1 | 1 | 1 |
| * | S1107228 | AC SUPPLY HARNESS / HARNAIS COURANT ALTERNATIF / ARNÉS CORRIENTE ALTERNA | 1 | 1 | 1 | 1 | 1 |
| * | S1107176 | ELECTRONIC BOARD HARNESS / HARNAIS CARTE ÉLECTRONIQUE / ARNÉS TARJETA ELECTRÓNICA | 1 | 1 | 1 | 1 | 1 |
| * | S1107231 | BLOWER HARNESS / HARNAIS VENTILATEUR / ARNÉS VENTILADOR | 1 | 1 | 1 | 1 | 1 |
| * | S99271709-012 | LED HARNESS 12″ (SOLD INDIVIDUALLY) / HARNAIS DEL 12 PO (VENDU À L’UNITÉ) / ARNÉS LED 12 PULG. (SE VENDE INDIVIDUALMENTE) | 2 | 2 | 2 | 2 | 2 |
* NOT SHOWN
REPLACEMENT PARTS AND REPAIRS
In order to ensure your unit remains in good working condition, you must use BEST genuine replacement parts only. BEST genuine replacement parts are specially designed for each unit and are manufactured to comply with all the applicable certification standards and maintain a high standard of safety. Any third party replacement part used may cause serious damage and drastically reduce the performance level of your unit, which will result in premature failing. BEST recommends to contact a certified service depot for all replacement parts and repairs.
For complete warranty statement or to learn more about the instructions above, please type your model number in on our website.

Install the Hood
Level and Secure the Hood
Fix the Lower Part of the Hood
Wiring














