JBL Control 12C-T Control 10 Series Ceiling Loudspeakers 
Thank you for purchasing JBL Control Contractor ceiling loudspeakers. Read through this manual to familiarize yourself with the features, applications and precautions before you use these products.
Product Descriptions
The JBL Control Contractor Control 10 Series ceiling loudspeakers utilize innovative design and materials to provide premium level performance from compact in-ceiling speakers. Available in white or black (-BK).
- CONTROL 12C/T – A 3” (75 mm) full-range driver to provide high-fidelity full-range sound over an extremely wide coverage area.
- CONTROL 14C/T – A wide bandwidth ceiling speaker containing a co-axially mounted 4” (100 mm) woofer and ¾” (19 mm) soft-dome tweeter.
- CONTROL 16C/T – A wide bandwidth, high sensitivity, extended bass ceiling speaker containing a co-axially mounted 6.5” (165 mm) woofer and ¾” (19 mm) soft-dome tweeter.
- CONTROL 18C/T – A high-output, more narrow coverage extended bass ceiling speaker containing a co-axially mounted 8” (200 mm) woofer and 1” (25 mm) soft-dome tweeter.
Product Feature Identification
(Control 14C/T Shown) 

Installation Preparations
The entire installation can be accomplished, if necessary, with-out requiring access above the ceiling. Bracketry for use with either suspended ceilings or sheetrock ceilings is included. The speaker is held securely in place via mounting ears which lock into place. Inputs are attached to a removable locking con-nector (included) which can be prewired before installing the speaker for ultra-fast snap-on installation.
OPTIONAL PRE-INSTALLATION BRACKETS
IN MOST CASES, NO BRACKETS OTHER THAN THE ONES INCLUDED WITH YOUR SPEAKER ARE REQUIRED. Everything needed for most installations of these loudspeakers is provided with your Control Contractor ceiling speaker.
However, when the speaker is being installed into a sheet rock (typically gypsum board) ceiling, JBL’s optional pre-installation brackets can be installed before the sheetrock is installed. The pre-installation bracket provides a bracket to which wiring can be tied behind the sheetrock. It can function as a cutout tem-plate when many cutouts are to be made in a production-line style installation, and it secures the ceiling speaker to the building structure. Two types of pre-installation brackets are available from JBL Professional as optional accessories:
- The optional NEW-CONSTRUCTION BRACKET is made of flat sheetmetal, with wings to attach to the building structure. Holes are drilled for nails or screws at 16 inches (406 mm) and 24 inches (610 mm) on-center. Additional holes can be drilled by the installer at other spacings up to a maximum of 24-3/4 inches (630 mm) apart. Sheet rock installs over the bracket, and the bracket provides a template for blind cutout of the hole in the sheet rock. The sheet rock is typically cut with a router-type cutting tool, using the bracket ring as a cutout guide.

- The optional PLASTER-RING BRACKET (or “mud ring”) contains a circular offset, forming a edge guide for sheet rock plastering. The bracket has wings that attach to the building structure. Sheet rock is typically either precut or cut with a rotary cutting tool using the outside of the plaster ring circle as a guide. The sheet rock hole is then plastered (or “mudded”) up
to the ring to create a seamless cutout.
Table 1: New Construction Brackets
| Model | New Construction Bracket | Plaster-Ring Bracket |
| Control 12C/T | MTC-24NC | MTC-24MR |
| Control 14C/T | MTC-24NC | MTC-24MR |
| Control 16C/T | MTC-26NC | MTC-26MR |
| Control 18C/T | MTC-47NC | MTC-47MR |
USING INCLUDED C-BRACKET WITH SHEET-ROCK
For most installations, the INCLUDED C-shaped backing plate provides adequate reinforcement to the ceiling material, spread-ing out the clamping force from the tab clamps.
CUTOUT SIZES
Table 2: Cutout Sizes
| Model | Cutout Size (diameter) |
| Control 12C/T | 167 mm (6.6 in) |
| Control 14C/T | 167 mm (6.6 in) |
| Control 16C/T | 225 mm (8.8 in) |
| Control 18C/T | 282 mm (11.1 in) |
STEP-BY-STEP INSTALLATION AND WIRING
The installation system has been designed so that the entire installation can be accomplished from beneath the ceiling for instances when access above the tile is not possible or practical. However, in some cases it may be easier with removable ceiling tiles to access from both the top and bottom of the ceiling tile during various phases of the installation.
Step 1 – Cut the Hole. Cutout the circular hole to the cutout hole size listed above. Pull the wiring through the cutout hole. 
Step 2 – Insert Backing Hardware Through the Hole. Pack-aged with the speakers are two types of backing hardware – a C-shaped backing-plate bracket and two tile rails.
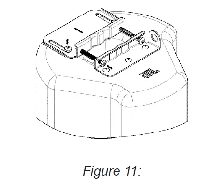
Suspended Ceilings – Insert the C-plate through the hole cut in the ceiling tile. Place the C-plate around the hole with the tabs located as shown on Figure 4. Insert the tile rails through the cut hole in the ceiling tile. Snap the two rails into the two tabs in the C-plate and align the rails so that the ends extend OVER the T-channel grid on the side of the tile. Secure the rails onto the C-bracket tabs by inserting a screw through each tab into the rail. This can all be accomplished from below the ceiling tile, if necessary.
FOR SAFETY:
IMPORTANT TO USE BRACKETS
ALL included support brackets – C-plate and tile rails — MUST be used when installing into suspended ceiling tiles. 
Additional Suspended Ceiling Installation Information
Tile Rails: The tile rails are designed to fit either standard 24-inch wide tiles or 600-mm wide tiles. The tile rail piec-es do NOT physically attach to the T-grid struts. Instead, the inverted-V shape at the ends of the rails sit OVER the T-grid strut. During normal operation, the rails are supported by the edge of the tile. If the tile were to come out or fall apart, the ends of the support rails are designed to catch onto the T-grid, providing secure support to hold the loudspeaker assembly in place.
Vibration Reduction: Loudspeakers can generate sub-stantial vibration which can cause buzzing of the ceiling materials or structure. Depending on the character of the ceiling tile and structure, the installer might need to place neoprene or other dampening material under the tile rails or the edges of the tiles to eliminate rattles.
Cutout Placement: The tile rails are pre-punched with attachment holes along their length. Placement is not limited to the center of the tile as is the case with many other tile rail support systems.
Non-Suspended Ceiling Types – The C-bracket can be optionally used by itself to shore up the ceiling material and to spread out the clamping force from the tab clamps. Insert the C-plate through the cut hole in the ceiling and place it on the back side of the hole before inserting the speaker.
Step 3 – Connect the Wiring to the Removable Locking
Connector – The connector is INCLUDED with the speaker. Connect the wire by stripping the insulation back about 5 mm (about 3/16 inch). Do NOT strip wires back any longer than this. Insert the bare end of wire fully into the connector (not al-lowing any bare wire outside of connector) and screw down the hold-down screw until tight using a small flatblade screwdriver.
Tighten any unused screws to avoid rattling from vibration. 
Guide to the Pins for Connection – The removable locking input connector contains 4 terminals, as marked on the con-nector. The pin functions are listed on the label located on the terminal cover plate. 
Pins 1 & 2 are the “+” and “-” inputs to the loudspeaker. Pins 1 & 2 are looped to pins 3 & 4, respectively (Pin 1 connects to Pin 3 and Pin 2 connects to Pin 4) inside the speaker. Pins 3 & 4 are intended as loop-through connections to subsequent loud-speakers. There are two possible hookup schemes for connect-ing subsequent speakers, determined by the desired result from the circuit whenever this speaker’s connector gets disconnected during troubleshooting:
Paralleling Input Terminals- Connect the wire pair of the subsequent speaker to pins 1 & 2 (in parallel with the input wire pair). Whenever the connector is pulled out of the speaker for troubleshooting, subsequent speakers will stay connected. This can be useful during troubleshooting to be able to disconnect a single loudspeaker at a time. In this hookup scheme, no wires get connected to pins 3 & 4. 
Using Loop-Through Terminals (Pins 3 & 4) – By connect-ing the wire pair of the subsequent speaker to pins 3 & 4, then all subsequent speakers will be disconnected when this speaker’s connector is disconnected during troubleshooting,. This can be useful as a way to isolate problems to a section of the distributed line while leaving the wires attached to the connector. 
Choose whichever hookup pattern accommodates your installation best.
Step 4 – Open the Strain Relief Fitting / Terminal Cover
Open the strain relief fitting by loosening the two set screws in the back, then loosen the two horizontal screws, and slide open the sliding cover.
Loosen the screws holding the fitting’s sliding piece of the in-put-terminal cover and slide the cover open.
Step 5 – Plug the connector into the connector socket in the speaker’s terminal cup. 
Plug Connector into Connector Socket. Shown with a single cable (left) or with two cables for input and loop-through (right)
Step 6 – Tighten the Strain Relief Fitting & Close the Terminal Cover 
Tighten the Two Horizontal Screws to Slide and Tighten the Strain Relief Fitting. Then Tighten the Two Set Screws into the Backcan. (Shown with a single speaker cable)
Tightening onto Flexible or Hard Conduit – The supplied fitting accommodates up to 3/8 inch (9.5mm) flexible conduit. Insert the conduit into the strain relief fitting. Tighten the sliding
Strain Relief Fitting.
Step 7 – Insert the Speaker Into the Ceiling and Tighten it. 
Inserting Speaker into Ceiling
(C-ring/tile-rail assembly is above the ceiling tile. Speaker inserted through a cutout in ceiling material. The diagram shown without cable and ceiling tile for clarity)
Insert the speaker into the ceiling as far as it goes, until the front baffle rim touches the ceiling.
Turn the attachment screws to tighten the mounting tabs, by using the following directions: 
IMPORTANT- For each attachment screw, FIRST turn ½ turn COUNTER-CLOCKWISE to release the mounting tab from its guide.
Then tighten the mounting tabs by turning the screw CLOCK-WISE until tight. The first ¼ clockwise turn rotates the attachment tabs outward and the remaining turns tighten the tabs down onto the back of the ceiling surface. DO NOT OVER-TIGHTEN.
A tab is provided on the back of each speaker for connection to an independent secondary support point. Some construction codes require using this secondary support point, which requires connecting a support line to a separate secure support point. Consult construction codes in your region.
IMPORTANT- Control Contractor ceiling speakers can generate substantial vibration. Using the seismic tab as a secondary support point is highly recommended in case the ceiling tile or structure breaks. In some areas, using the seismic tab as a secondary support point is required by code.
Step 8 Adjust Tap Selector
The tap selector rotary switch is located on the front baffle. Adjust the tap setting before applying power to the speaker and before inserting the grille. From the OFF position, turn the selector counter-clock-wise to set to the 8Ω (low impedance) nominal setting (see spec sheet for more precise impedance information) or turn the selector clockwise to set to the various 70V and 100V distribut-ed system tap settings. 
Step 9 – Insert the Grille
Consider which direction the logo is facing and press the grille into place until the front of the grille is flush with the rim. It is often easiest to press in various places around the perimeter of the grille. Make sure grille is securely seated to prevent it from vibrating loose and falling.
Removing the Grille
The grille presents a tight fit in order to make sure that it won’t fall out, even with high vibrations that can be produced by these speakers. If you need to remove the grille, it is easiest to do so by inserting 2 pointed objects (such as push pins) into 2 nearby holes in the grille, presenting slow even pressure to pull down on the grille until that section of the grille comes out approximately 6 mm (1/4 inch) . Work your way around the grille, loosening a section at a time until the grille comes out.
Painting the Speaker
The speaker’s textured white finish complements most decor and does not need further finishing. Where the interior design requires it, these speakers are easy to paint.
The rim can be painted before installation or in cases where the rim needs to be finished along with the ceiling, the speaker rim can be painted after attaching into the ceiling.
Type of Paint – The speaker’s ABS rim accepts almost any type of latex or oil based paint. Two coats are recommended.
Painting Process – For best results, the following procedure is recommended:
- Clean the rim and grille with a light solvent such as mineral spirits by rubbing the item with a lightly dampened cloth. Do not, however, use abrasives such as sandpaper or steel wool. Nor should you use gasoline, kerosene, acetone, MEK, paint thinner, harsh detergents or other chemicals. Use of these cleaners may result in permanent damage to the enclosure.
- After cleaning, apply two or more thin coats of either latex or oil-based paints. Latex paint will adhere best if an oil-based primer is used first. Application can be made by rolling, brush-ing or spraying.
Painting the Speaker Along With the Ceiling
Insert the clear plastic paint shield into the front of the speaker to mask the drivers and internal baffle, paint the speaker, then remove the shield.
Painting the Grille
Painting the grille requires the removal of the logo prior to painting (the logo should be stuck back onto the grille after painting, making sure it is located in the exact center of the grille).
The backing to the grille is glued in place so that it can’t interfere with the movement of the woofer cone. Leave the grille backing in place. Spray the grille lightly using thinned paint. Make sure the spray is light enough that when the grille is held up to the light, you can still see light through the grille holes (which means that sound can also get through). Spray only the front of the grille, not the back. Rolling or brushing the paint is discouraged because the mesh and/or backing may become clogged with paint and poor sound quality may result, however using a very short-napped roller can be made to work.
Safety Agency Compliance 
UL-2043 Fire Tests for Heat and Visible Smoke Release for Discrete Products and their Accessories Installed in Air Handling Spaces, NFPA-70 National Electric Code 1996, Article 300-22(C), and NFPA-90A Installation of Air Conditioning and Ventilation Systems, Section 2-3.10.1 (a), Exception 3. List-ed UL1480-6 Speakers for Fire Protective Signaling Systems.
SUITABLE FOR USE IN AIR HANDLING SPACES.
These products are in compliance with the EMC Directive 89/336/EEC and Article 10 (1) of the directive. In compliance with Technical Regulations EN50081-1 and EN50082-1. For a copy of the model-specific CE Declaration of Conformity, contact JBL at the address listed at the end of this manual.
Maintenance
No maintenance is required when installed in accordance with the installation and wiring guidelines described in this manual.
Replacement Parts
There are no user-serviceable parts inside these speakers. Refer servicing to an authorized JBL Service Center. For the name of an authorized Service Center in your area, contact JBL Professional at the address listed below.
Warranty & Contacting JBL
These products are designed and backed by JBL Professional, the world leader in sound reinforcement. For complete JBL warranty information, to order replacement parts or to ask for clarifications to this manual, contact JBL Professional:
WITHIN THE UNITED STATES: Contact the Applications Dept, JBL Professional, PO Box 2200, 8500 Balboa Blvd, Northridge CA 91329 USA. In the USA you may call Mon-day through Fiday 8:00 am to 5:00 pm Pacific Coast Time (818) 894-8850.
IN OTHER AREAS THROUGHOUT THE WORLD: Con-tact the JBL Professional Distributor in your country.
A list of JBL Professional Distributors and U.S. Service Centers can be obtained from the JBL Professional website at www.jblpro.com.
- Half-space (flush mounted in the ceiling)
- Continuous Pink Noise Rating is IEC-shaped pink noise with a 6 dB crest factor for 100 hours continuously. Continuous Program Power is a conservative expression of the system’s ability tohandle normal speech and music program material and is defined as 3 dB above the Continuous Pink Noise Rating.
- Half-space (in-ceiling) average 1 kHz to 16 kHz.
Product Specifications
See product specification sheets for complete specification listings.
Control 12C/T
- Components: 76 mm (3 in) full-range driver
- Frequency Range1: 68 Hz – 17 kHz
- Power Capacity (low-Z): 40 W Cont. Program
- 20 W Cont. Pink Noise
- Sensitivity2: 84 dB
- Coverage3: 130˚
- Max. SPL: 97 dB @ 1m ave., 103 dB peak
- Nominal Impedance: 8 ohms (indirect/bypass 8Ω setting)
- Transformer Taps: 15W, 7.5W, 3.8W @ 70V & 100V; plus 1.9W @ 70V
Control 14C/T
- Components: 100 mm (4 in) LF driver 19 mm (3/4 in) HF driver
- Frequency Range1: 74 Hz – 20 kHz
- Power Capacity (low-Z): 60 W Cont. Program
- 30 W Cont. Pink Noise
- Sensitivity2: 87 dB
- Coverage3: 120˚
- Max. SPL: 102 dB @ 1m ave., 108 dB peak
- Nominal Impedance: 8 ohms (in direct/bypass 8Ω setting)
- Transformer Taps: 25W, 12.5W, 6.3W @ 70V & 100V; plus 3.2W @ 70V
Control 16C/T
- Components: 165 mm (6.5 in) LF driver; 19 mm (3/4 in) HF driver
- Frequency Range1: 62 Hz – 20 kHz
- Power Capacity (low-Z): 100 W Cont. Program
- 50 W Cont. Pink Noise
- Sensitivity2: 91 dB
- Coverage3: 110˚
- Max. SPL: 108 dB @ 1m ave., 116 dB peak
- Nominal Impedance: 8 ohms (in direct/bypass 8Ω setting)
- Transformer Taps: 30W, 15W, 7.5W @ 70V & 100V; plus 3.8W @ 70V
Control 18C/T
- Components: 200 mm (8 in) LF driver;
25 mm (1 in) HF driver - Frequency Range1: 58 Hz – 20 kHz
- Power Capacity (low-Z): 180 W Cont. Program
- 90 W Cont. Pink Noise
- Sensitivity2: 92 dB
- Coverage3: 90˚
- Max. SPL: 112 dB @ 1m ave., 118 dB peak
- Nominal Impedance: 8 ohms (in direct/bypass 8Ω setting)
- Transformer Taps: 60W, 30W, 15W @ 70V & 100V; plus 7.5W @ 70V
JBL Professional 8500 Balboa Blvd, P.O. Box 2200 Northridge, CA 91329 U.S.A.
























