HYD9NX MODULAR LIQUID FILTRATION VAPORIZER
User Manual
We believe in
boldly breaking the mold of both old and the new, starting every product from scratch, and always delivering results you have never experienced.
WWW.CLOUDIOUS9.COM
@CLOUDIOUS9

Quick Start Guide EXTRACT ATOMIZER
- Fill the NX with Water
Unscrew the mouthpiece, fill the NX with no more than 50% water, and then screw the mouthpiece back on.
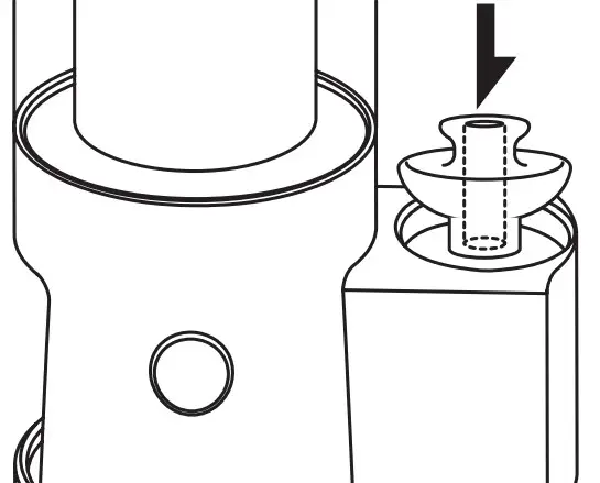
- Slide Out Atomizer
Push the slidable atomizer out until it clicks magnetically into the operating position.
- Remove the Hidden Carb Cap and Mouthpiece
Remove the hidden carb cap and mouthpiece before your session.
- Turn On the NX
Press the operation button three times rapidly to turn on the device. The device will slowly flash as it heats up to the selected temperature and turns solid green when the desired temperature is reached.
- Select Temperature
Turn the dial located on the bottom of the device to the desired temperature. The temperature will be reflected via an LED light indicator. You can change the temperature at any time during operation.
STATE OF DEVICE ACTION RESULT OFF Press Op Button 3 X Turns On the Device OFF Press and hold Op Button
– 3 secondsCheck Battery Level ON Turning Temperature Dial
Counter-Clockwise – Increase Clockwise – DecreaseSelect Temperature
(See page 8 for temperature guide)ON Press and Hold Continues to Heat at previous
temperature until release or for up
to 15 seconds - Use the Loading Tool
Use the loading tool to place consumables in the center of the glass quartz bucket, not the side, when ready for inhalation. Inhale lightly through the mouthpiece over the course of your session. You can also load the consumable prior to heating depending on your preference.
- Place Carb Cap on Top of Atomizer
Place the carb cap on top of the atomizer when you see fit. Turn and rotate the carb cap for better vapor circulation.
Turn Off Device
Each session lasts for 35 seconds after it reaches temperature before automatically shutting off.
You can extend the healing time after a session by holding down the operation button for up to 15 seconds of additional heating. You can also shut off the NX at any time by rapidly pressing the operation button three times.- Clean the NX
After each use, we recommend cleaning the glass quartz bucket to maximize flavor profiles.
Quick Start Guide LOOSE LEAF CHAMBER
- Fill the NX with Water
Unscrew the mouthpiece, fill the NX with no more than 50% water, and then screw the mouthpiece back on.
- Slide Out the
Loose Leaf Heating Chamber
Push the slidable atomizer out until it clicks magnetically into the operating position.
- Load Loose Leaf Chamber with Material
Remove the magnetic lid from the loose-leaf heating chamber and fill the chamber evenly with ground material.
- Turn On the NX
Press the operation button three times rapidly to turn it on. The unit will start flashing slowly as it heats up to the selected temperature. The NX will turn solid green when the unit reaches the selected temperature, indicating the session is ready to start.
- Select Temperature
Turn the dial located on the bottom of the device to the desired temperature. The temperature will be reflected via an LED light indicator. You can change the temperature at any time during operation.
STATE DEVICE ACTION RESULT OFF Press Op Button 3 X Turns On the Device OFF Press and hold Op Button – for 3 seconds Check Battery Level ON Turning Temperature Dial Counter-Clockwise – Increase Clockwise – Decrease Select Temperature (See page 8 for temperature guide) ON Press Op Button 3X Turns Off the Device - Begin Session
With the lid removed, inhale lightly through the mouthpiece over the course of your session. - Turn Off Device
Each session lasts 120 seconds after the device reaches the desired temperature before automatically shutting off. You can also shut off the NX at any time by rapidly pressing the operation button three times.
Silicon Sleeve
The included silicone sleeve helps protect the NX, while also keeping the NX cool. The silicon sleeve should always be used when heating up the NX for both Loose Leaf and Extract Chambers.
Temperature Guide

Cool Down Period
When the Extract Atomizer has been heating for more than 2.5 minutes within a 5 minutes period, it will enter a rest mode for 2 minutes where it cannot be turned on.
Flashing Indicator
| FLASHING BLUE – Low Battery | |
| FLASHING RED – Extract Atomizer Cool Down Period | |
| FLASHING WHITE – Chamber Undetected |
Quick Cleaning Guide
- Make sure the device is off and completely cool before beginning the cleaning process.
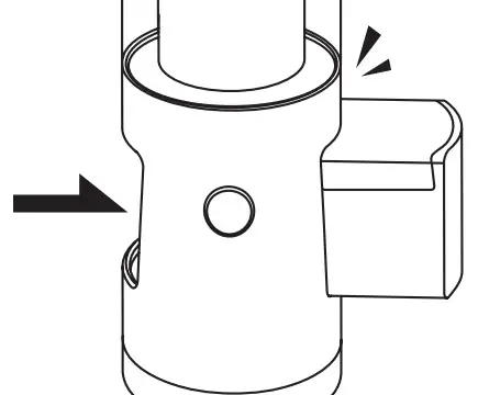
- Pull out the atomizer or heating chamber from its operating position.

- Remove the magnetic bucket cover by pulling it up.

- Remove the atomizer or heating chamber air path seal. You can clean the air path seal with a cotton swab, isopropyl alcohol, or water.

- With the atomizer or heating chamber removed, you can clean the entire air path of the atomizer.
- Reassemble the atomizer or heating chamber when finished cleaning.
- Fill the device with clean water and shake it while covering the top with your hand for quick cleaning of the water chamber.

Disassembling & Air Path Cleaning
The entire air path has been designed so that it is easily cleanable.
This cleaning can be performed on an as-need basis.
![]() | ![]() |
Reassembly of the Hydrology9 NX
- Align the bottom seal air path hole with the air path hole on the base unit.
Ensure the contour part of the silicone seal fits with the concave part of the base unit. Gently push down on the seal to ensure it is flat on the base unit.
- Screw the rechargeable battery clockwise into the NX base until tight, but do not over tighten.

- Take the anti-leak air path tube and align the airpath connector with the airpath on the body of the unit, pushing gently down. DO NOT TWIST.

- Align the stainless steel tube with the air path hole as shown.

- Align the washer seal grooves with the air path hole and ensure it fits flat on top. Twist on the NX washer clockwise until tightened.

- Put the glass tube back onto the NX by pushing down gently until the glass fits seamlessly with the base.

- Put the middle piece of aluminum connector back on by twisting clockwise to the top battery thread of the NX and proceed to reconnect the mouthpiece with the aluminum connector.

Magnetic Charging
- Connect the USB-A end of the micro-USB cable to the provided AC adapter and the micro-USB male port with the magnetic charging adapter. Make sure to use only the included AC adapter to charge the NX.
- Plug the AC adapter into a standard wall outlet and the magnetic adapter into the NX magnetic charging port. You should hear a click as the adapter is magnetically positioned to charge the NX. The device LED indicator will start to slowly flash red as it charges.

- The magnetic adapter also serves as a holder for the stainless steel tool. Do not insert the tool into the holder unless the tool has been properly cleaned.

Hydrology9 NX Safety Guidelines
Please read the following safety recommendations in their entirety before using this product.
- Place the Hydrology9 NX and all its parts in a place where children or pets cannot reach.
- Do not leave the Hydrology9 NX unattended while in use.
- Please allow adequate time for the Hydrology9 NX to completely cool before cleaning the atomizer.
- Do not disassemble the Hydrology9 NX outside of the cleaning instructions at any time, as this could void any warranty and cause serious injury.
- If the device malfunctions (e.g. does not turn on, heats to extreme temperatures, or emits a burning smell other than herb), please immediately stop using the device. Please contact support to help you resolve this issue.
- Do not use the Hydrology9 NX vaporizer too closely to curtains, tablecloths, paper, or other flammable items or materials.
- The Hydrology9 NX should be operated by individuals of legal age according to state and federal law.
- Do not use the Hydrology9 NX for any use that is illegal under any state, federal, or international law.
- Do not store the Hydrology9 NX or its parts near heat sources. Do not store in direct sunlight.
- Do not subject the Hydrology9 NX or its parts to extreme temperatures (very high or very low temperatures).
- Do not place the Hydrology9 NX or its parts in humid or moist environments.
- Charge the Hydrology9 NX using only the provider-issued charging equipment.
- Ensure that the Hydrology9 NX uses a certified power supply so as to avoid potential consequences such as battery malfunction, explosion, fire, or serious injury.
- The Hydrology9 NX contains a lithium battery. Please note that the lithium-ion battery should be recycled or properly disposed of according to local law. Improper disposal of the lithium-ion battery can lead to fire, explosion, or serious injury.
- The atomizer or heating chamber can get hot after several uses. Pay attention to the caution hot marking. Do not touch the atomizer or heating chamber during operations or after continuous use. Always use the included silicone sleeve during the session.
Warranty
Two-Year Limited Warranty
Cloudious9 warrants that the materials with which the product is furnished under normal use will be free from defects in workmanship for a period of two (2) years from the date of receipt. This warranty is valid only for the original purchaser. Some states do not allow limitations on implied warranties, so the above limitation may not apply to you. Cloudious9’s entire liability and your exclusive remedy under this warranty allow for the return of the defective product or part that does not meet Cloudious9’s limited warranty to Cloudious9 or Cloudious9’s authorized representative, along with a copy of your receipt.
Any replacement product will be warranted for the remainder of the original warranty period.
If a warranty claim is received during this warranty period, Cloudious9 will conduct one or more of the following remedies at its discretion: (1) exchange the defective part, (2) repair the defective product, (3) replace the product. THIS WARRANTY GIVES YOU SPECIFIC LEGAL RIGHTS. YOU MAY HAVE OTHERS THAT VARY FROM STATE TO STATE.
Warranty Restrictions
This limited warranty is void if failure of the Product has resulted from an accident, abuse, neglect, modification, or misapplication. You may not rent or lease the product, but may transfer your rights under this Agreement permanently, provided you transfer this Agreement, the product, and all accompanying printed materials, and provided the recipient agrees to the terms of this Agreement.
No Other Warranties You assume all responsibility for the selection of the product to achieve your intended results, and for the installations of, use of, and results obtained from the product.
To the maximum extent permitted by applicable law, Cloudious9 disclaims all other warranties, either express or implied, including but not limited to implied warranties of merchantability, fitness for a particular purpose, and non-infringement with respect to the product and accompanying written materials. Some states do not allow limitations on implied warranties, so the above limitation may not apply to you.
You assume the entire cost of any damage resulting from the product. To the maximum extent permitted by applicable law, in no event will Cloudious9 or its suppliers or licensors be liable for any damages whatsoever (including without limitation damages for loss of business profits, business interruption, or other pecuniary loss) arising from the use or inability to use the product, even if such a party has been advised of the possibility of such damages. In no event will Cloudious9’s total liability to you for all damages in one or more cause of action exceed the amount paid by you for the product. This limitation will apply regardless of the failure of the essential purpose of any limited remedy. Because some states do not allow the exclusion or limitation of liability for consequential or incidental damages, the above limitation may not apply to you.
Customer Service & Returns
CONTACT US DIRECTLY DO NOT RETURN TO STORE KEEP PROOF OF PURCHASE
Live Chat Support: www.Cloudious9.com
Phone Support : (888) 508-1839
Email Support: [email protected]
Customer Service Hours
Monday Thru Friday
10am PST – 6pm PST
© 2021 Cloudious9 Inc. All rights reserved. Cloudious9® is a registered trademark of Cloudious9 Inc. Hydrology9 NX™ is a trademark of Cloudious9 Inc.














































