PENTAIR WHH-10BB-VIH-SG-1 Heavy Duty Water Filtration System Instruction Manual
OPERATING SPECIFICATIONS
Flow Rate: 10 gpm
Pressure Range: 30–100 psi
Temperature Range: 40°–100°F
PRECAUTIONS
WARNING Risk of electrical shock. If your water pipes are used to ground your home’s electrical system, install a No. 8 AWG jumper wire (or larger) around the filter. The jumper wire must be connected at both ends by a pressure wire fitting or other connection that satisfies NEC or CEC and local codes. Consult a building inspector or licensed electrician for more information.
WARNING Do not use with water that is microbiologically unsafe or of unknown quality without adequate disinfection before or after the system.
CAUTION Filter must be protected against freezing, which can cause cracking of the filter and water leakage.
CAUTION The rubber O-ring provides the water-tight seal between the cap and the bottom of the housing. It is important that the O-ring be properly seated in the groove above the threads of the housing or a water leak could occur.
CAUTION Because of the product’s limited service life and to prevent costly repairs or possible water damage, we strongly recommend that the bottom of all plastic housings be replaced every five years for clear and every ten years for opaque. If the bottom of your housing has been in use for longer than this period, it should be replaced immediately. Date the bottom of any new or replacement housing to indicate the next recommended replacement date.
CAUTION Do not use electrical heating tape on this unit.
NOTES:
- For cold water use only.
- The contaminants or other substances removed or reduced by this water treatment device are not necessarily in your water. Ask your local water municipality for a copy of their water analysis, or have your water tested by a reputable water testing lab.
- Filter cartridge life varies depending on filter type, usage, and water conditions.
- The replacement filter cartridge used with this system has a limited service life. Changes in taste, odor, or flow of the water being filtered indicate that the cartridge should be replaced.
- Use only Pentair® Omnifilter® replacement cartridges.
- This installation must comply with all applicable state and local regulations.
- Use only plumber tape without adhesive backing to seal joints. Do not use pipe compound (pipe dope), sticks, or similar compounds with this unit; they contain petroleum derivatives which will cause crazing and cracking of the plastic in the filter housing.
- Use only soap and water to clean filter housing and components.
- After prolonged periods of non-use, such as a vacation, it is recommended that the system be flushed thoroughly. Let water run for 5–6 minutes before using.
- Do not use a torch near the unit.
- An activated carbon cartridge may contain a small amount of carbon fines (very fine black powder). A new cartridge, after installation, should be flushed with sufficient water to remove the fines before using the water.
- Wear safety glasses during installation.
INSTALLATION INSTRUCTIONS

NOTE:
- Please read all instructions, specifications, and precautions before installing and using your water filter.
- There must be a shut-off valve before the filter.
- Install filter after water meter or pressure tank.
- Numbered diagrams correspond with numbered steps.
- Before installing the filter, determine where the unit will be located and what type of pipe the unit will connect to. The filter head has 1-inch NPT threaded connections molded into it. The distance from the top of the water piping to the floor must be at least 15-inches for filter change allowance. Allow a 1-1/2 inch clearance below the housing to allow for changing the cartridge.
- The recommended installation has a shut-off valve on both the inlet and outlet sides of the filter. The installation shown uses copper piping. The weight of the filter should be supported so it does not stress the pipes. The main house water shut-off valve can be used as the inlet side shut-off valve.
- Apply about three wraps of plumber tape in clockwise direction to pipe threads of each fitting.

- Assemble all fittings. Start adapters into cap by hand. Use a wrench to tighten firmly. DO NOT OVER-TIGHTEN.

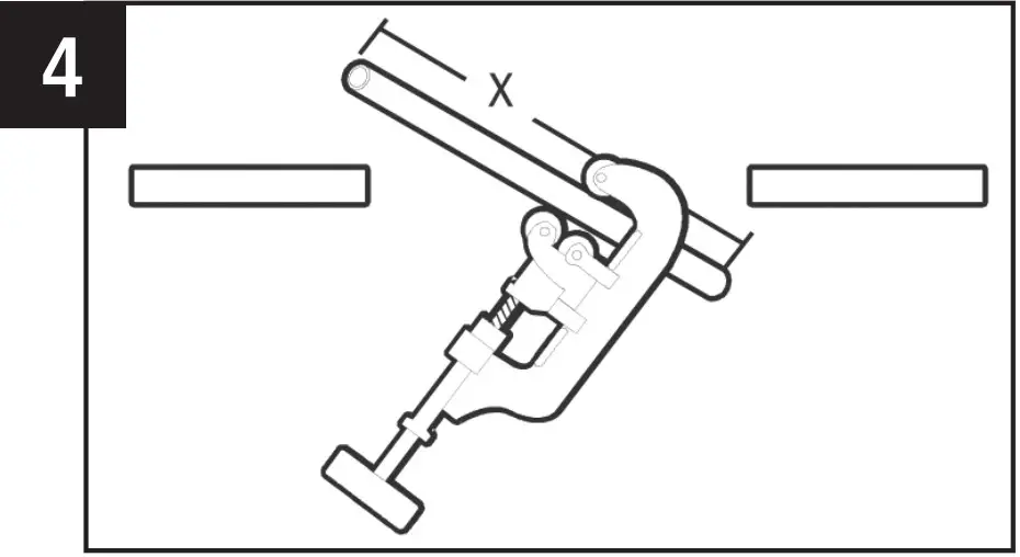
- Measure length (shown as X on diagram) across assembled fittings and subtract 1-inch if you are installing on 3/4-inch pipe, or 1-1/2 inches if you are installing on 1-inch pipe. Mark section of pipe to be removed.

- Turn off the main water supply valve and open a faucet on the lowest level of your home to drain the system. Cut the correct length of pipe. Use a pipe cutter or hacksaw. File or sand the ends of the pipe to make sure they are smooth and square.

NOTE: Have a bucket handy to catch any water that may come out of the pipe. - Align filter assembly with ends of pipe, making certain cap opening marked “IN” is facing the incoming water supply. It will be necessary to spread ends of pipe apart to install filter assembly. Using two adjustable wrenches, hold incoming adapter securely with one wrench and tighten nut with second wrench. Repeat procedure for outgoing adapter.

- Slowly turn on water supply to the filter and depress the red pressure-relief button on cap to release trapped air. Check for leaks. Open the nearest faucet and flush for 10 minutes, wait one hour, then flush again for 10 minutes.
WARNING Risk of electrical shock. If your water pipes are used to ground your house’s electrical system, install a No. 8 AWG jumper wire (or larger) around the filter (see Figure 5). The jumper wire must be connected at both ends by a pressure wire fitting or other connection that satisfies NEC or CEC and local codes.
FILTER CARTRIDGE REPLACEMENT
The life of the cartridge depends on the water volume used and the substances in the water. Normally the cartridge should be changed at intervals of three to six months or less. Replace the cartridge sooner if the water pressure at the faucet begins to drop noticeably or if you notice changes in the taste, color, or flow of the filtered water.
NOTE: Certain types of harmless bacteria will attack cellulose material. Cartridges containing cellulose, such as the RS15 and TO6, may seem to disintegrate, produce a “sewer” or “rotten egg” odor, or form a black precipitate due to bacteria. If this happens, consult Pentair Customer Service for advice or select a different cartridge.
- (A) Bypass water to the filter by turning the handle clockwise 1/2 turn until it comes to a stop.
NOTE: This will shut off all water flow to the housing. Water going to the household is not being filtered at this time. Be sure to fill a bucket of water first so you may clean housing after it has been removed. (B) Remove bottom of housing by unscrewing.
- Locate and remove large O-ring (A), wipe clean of lubricant and set aside. Discard used cartridge (B). Rinse out bottom of housing and fill 1/3 full with water. Add 2 tablespoons of bleach and scrub cap and bottom of housing with non-abrasive sponge or cloth. Rinse thoroughly. Lubricate O-ring (C) with clean silicone. Insert O-ring back into groove and smooth into place with finger.
NOTE: This step is important to ensure proper housing seal. Make sure O-ring is seated level in the groove. Insert new cartridge (D) over standpipe in bottom of housing.
- (A) Screw bottom of housing onto the cap and hand-tighten until snug. DO NOT OVER-TIGHTEN. Make certain cap standpipe slips into cartridge. (B) Slowly turn handle on housing 1/2 turn counter-clockwise to allow filter to fill with water. (C) Depress red pressure relief button to release trapped air. Flush cartridge for 10 minutes, wait one hour, and flush for another 10 minutes before use. Check for leaks before leaving installation.

TROUBLESHOOTING
Leaks . . . between cap and bottom of filter housing:
- Turn off water supply and press the red pressure relief button. Remove bottom of housing.
- Clean O-ring and O-ring groove (located directly beneath threads of housing). Inspect O-ring for defects. Replace if needed. Lubricate O-ring with clean silicone and replace securely into groove. Screw bottom of housing onto cap and hand-tighten until snug. DO NOT OVER-TIGHTEN.
- Turn on water supply. Depress red pressure relief button to release trapped air. If leaks persist, or if there are other leaks on the system, turn off water supply. Call Pentair Customer Service at 800-279-9404.
on inlet/outlet connections:
- Turn off water supply. Depress red pressure relief button to release trapped air. Tighten fittings about 1/2 turn with a wrench.
- Turn on water supply. If leaks persist, or if there are other leaks on system, turn off water supply. Call Pentair Customer Service at: 800-279-9404.
| OMNIFILTER REPLACEMENT CARTRIDGE SELECTION GUIDE | |||||||||
| Cartridge | Media | Micron Size (Nominal) | Reduces Sediment | Iron | Reduces Chlorine Taste & Odor | Filter Capacity‡ | Recommended Flow Rate | Well Water Use | |
| Pleated | 30* | Yes | — | — | 30,000 gals or6 months | 10 gpm | Yes | |
![]() | RS15 | Pleated | 5* | Yes | — | — | 15,000 gals or3 months | 10 gpm | — |
![]() | RS22 | String Wound | 5* | Yes | — | — | 3,000 gals or1 months | 10 gpm | Yes |
![]() DGD-5005WHC -10BB-SP-5M-SG6 | Polyspun | 5* | Yes | — | — | 6 months | 10 gpm | Yes | |
![]() | RS16 | Polyspun | 1* | Yes | — | — | 3,000 gals or1 months | 10 gpm | Yes |
![]() | RS18 | Polyspun | 50* | Yes | — | — | 30,000 gals or6 months | 10 gpm | Yes |
TO6 WHC-10BB-CS-5M-SG-6 | Pleated Carbon Wrap | 5* | Yes | — | Yes | 15,000 gals or3 months | 5 gpm | — | |
![]() | TO8 | Radial Flow Carbon | 25* | Yes | — | Yes | 40,000 gals | 4 gpm | Yes |
![]() | CB6 | Carbon Block | 1* | Yes | — | Yes | 15,000 gals or3 months | 5 gpm | Yes |
![]() | RO6 | KDF and Granular Carbon | 5* | Yes | Yes | — | 3000 gal or1 month | 5 gpm | Yes |
| WHC-10BB-I-5M-SG-2 | |||||||||
REPLACEMENT PARTS

| Key | Part Number | Description |
| 1 | 154452 | 1-inch Valve-in-Head Cap |
| 2 | WHO-HD-SG-6 | O-Ring |
| 3 | 153114 | Housing |
| 4 | WHW-UNV-SG-6 | Wrench |
| 5 | WHB-HD-SG-3 | Mounting Bracket |


































