PENTAIR US-1000 MTBE Filtration System Instruction Manual

SPECIFICATIONS
Temperature Range: 40–100°F (4.4–37.8°C)
Pressure Range: 30–125 psi (2.1–8.62 bar)
Service Flow Rate @ 60 psi (4.1 bar): 0.5 gpm (1.9 L/min)
Rated Service Life: 500 gallons (1,893 L)
Dimensions: 9.18 in. x 4.70 in. x 12.72 in.
(233 mm x 119 mm x 323 mm)
Weight: 6 lbs. (2.7 kg)
Parts Included
- Filter system with filter cartridges P-250A Cartridge Set
- Installation hardware (mounting screws, T-Adapter, quick-connect elbows)
- Housing wrench
- Lead-free drinking water faucet
- 1/4″ plastic tubing
PRECAUTIONS
⚠ WARNING: Do not use with water that is microbiologically unsafe or of unknown quality without adequate disinfection before or after the system. Systems certified for cyst reduction may be used on disinfected waters that may contain filterable cysts.
CAUTION: Filter must be protected against freezing, which can cause cracking of the filter and water leakage.
CAUTION: The rubber O-ring provides the water-tight seal between the cap and the bottom of the housing. It is important that the O-ring be properly seated in the groove below the threads of the housing or a water leak could occur.
CAUTION: Because of the product’s limited service life and to prevent costly repairs or possible water damage, we strongly recommend that the bottom of all plastic housings be replaced every ten years. If the bottom of your housing has been in use for longer than this period, it should be replaced immediately.
Date the bottom of any new or replacement housing to indicate the next recommended replacement date.
NOTE:
- For cold water use only.
- Make certain that installation complies with all state and local laws and regulations.
- The contaminants or other substances removed or reduced by the selected cartridge are not necessarily in your water. Ask your local water municipality for a copy of their water analysis, or have your water tested by a reputable water testing lab.
- After prolonged periods of non-use (such as during a vacation) it is recommended that the system be flushed thoroughly. Let water run for 56 minutes before using.
- The filter cartridges used with this system have a limited service life. Changes in taste, odor, and/or flow of the water being filtered indicate that the cartridge should be replaced.
About Your PENTEK MTBE Filtration System
Thank you for purchasing a PENTEK MTBE Filtration System. With only minimal maintenance, your new system will provide you with safer, better-tasting water for years to come. The filter cartridges should be changed after every 500 gallons of use or once every six months, whichever comes first. Filter life will vary depending on usage and water conditions. Changes in taste, odor, and/or flow of the water being filtered indicate that the filter cartridges should be replaced.
US-1000 MTBE Filtration System
The US-1000 MTBE Filtration System uses two carbon filter cartridges specially formulated to provide safer, cleaner, and better-tasting water. The US-1000 filtration system is NSF certified to reduce MTBE, chlorine taste & odor, asbestos reduction and cyst removal*, lead, mercury and VOC’s in drinking water (see performance data on p. 7 for specific claims).
Lead is tasteless and colourless, and may enter your water supply through lead pipes, lead solder, and brass fittings and faucets. The US-1000 system has been Tested and Certified by NSF International to reduce lead below the USEPA Action Level.
Tools and Materials Required
- Safety glasses
- Hand or electric drill (cordless recommended)
- 1/4″ drill bit
- File
- Phillips head screwdriver
- Adjustable wrench or 7/16″ open-end wrench
- Tube cutters or utility knife If sink does not have hole for separate faucet:
- Center punch
- 3/4″ drill bit or hole saw
The Model US-1000 is Tested and Certified by NSF International against NSF/ANSI Standard 42/53 for the reduction of Taste and Odor, Chlorine, and Particulate Class I. Standard 53 for the reduction of MTBE, Lead, Mercury, VOC, Cyst*, and Asbestos..
*NSF/ANSI Standard 53 certified to reduce cysts such as Cryptosporidium and Giardia by mechanical means
INSTALLATION
- For standard under-sink installation on 1/2″ 14 NPS threads (most common thread on kitchen faucets) cold water line.
- Please read all instructions and precautions before installing and using your MTBE Filtration System.
- Numbered diagrams correspond with numbered steps.
1. Installing the Water Supply Adapter
The supply adapter fits 1/2″-14 NPS supply threads. If local codes permit, it may be used to connect the US-1000 to the cold water supply line. If local codes do not permit the use of the supply adapter, alternate connectors can be obtained from your local supplier.
- A. Turn off cold water supply line. If cold water line does not have a shut-off valve under the sink, you should install one.
- B. Turn on the cold water faucet and allow all water to drain from line.
- C. Disconnect cold water line from 1/2″-14 NPS threaded stub on bottom of main faucet.
- D. Apply plumber tape onto threads of faucet stub and supply adapter. Screw the water supply adapter to the threaded faucet stub as shown.
- E. Using the nut that previously connected the cold water line to the faucet, screw the cold water line to the male supply adapter threads.
2. Selecting the Faucet Location
NOTE: The drinking water faucet should be positioned with function, convenience, and appearance in mind. An adequate flat area is required to allow faucet base to rest securely. The faucet fits through a 3/4″ hole. Most sinks have pre-drilled 13/8″ or 11/2″ diameter holes that may be used for faucet installation. If these pre-drilled holes cannot be used or are in an inconvenient location, it will be necessary to drill a 3/4″ hole in the sink to accommodate the faucet.
CAUTION: This procedure may generate dusts which can cause severe irritation if inhaled or come in contact with the eyes. The use of safety glasses and respirator for this procedure is recommended.
CAUTION: DO NOT ATTEMPT TO DRILL THROUGH AN ALL-PORCELAIN SINK. If you have an all-porcelain sink, mount the faucet in pre-drilled sprayer hole or drill through countertop next to sink.
CAUTION: When drilling through a countertop make sure the area below the drilled area is free of wiring and piping. Make certain that you have ample room to make the proper connections to the bottom of the faucet.
CAUTION: Do not drill through a countertop that is more than 1″ thick.
CAUTION: Do not attempt to drill through a tiled, marble, granite or similar countertop. Consult a plumber or the countertop manufacturer for advice or assistance.
(A) Line bottom of sink with newspaper to prevent metal shavings, parts, or tools from falling down drain.
(B) Place masking tape over the area to be drilled to prevent scratches if drill bit slips.
(C) Mark hole with center punch. Use a 1/4″ drill bit for a pilot hole, then, using a 3/4″ drill bit or hole saw, drill a hole completely through the sink. Smooth rough edges with a file.
3. Mounting the Faucet
(A) Remove wing nut and metal washer from the threaded shaft of the faucet. Leave the black rubber washer on the threaded shaft.
(B) Slide the threaded shaft of the faucet into drilled hole.
(C) From under the sink, slide the metal washer on and thread on the wing nut. Tighten the wing nut by hand until tight. It may be necessary to have a second person to hold the faucet while tightening the wing nut.
NOTE: Do not overtighten the wing nut. Hand tighten only. Do not use pliers or wrench to tighten.
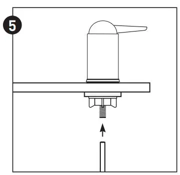
4. Mounting the System
(A) Center system between water supply adapter and drinking water faucet.
NOTE: Allow 11/2″ (38 mm) clearance below system for changing filter cartridges.
(B) Install mounting screws at least 133/4″ (350 mm) from cabinet floor and 41/8″ (124 mm) apart. Leave enough space (approximately 1/2″ [13 mm]) between the head of the screw and the wall to slip system onto screws.
(C) Place system over screws on wall and slide downwards to lock into place. Make certain system is firmly attached to wall to prevent it from falling and possibly being damaged.
5. Connecting the Faucet

(A) Insert one end of the 1/4″ tube, supplied in the installation kit, into the gray quick-connect fitting collar located on the bottom of the threaded shaft of the faucet. Push tubing into the fitting until you come to a hard stop.
CAUTION: Do not bend or crimp tube when inserting.
(B) Gently pull back on the tube to ensure it is connected properly. If the tube comes out of fitting, cut a small section of the tube off and reconnect.
6. Connecting the Supply Adapter and Inlet of Filter
(A) Determine the length of plastic tubing needed to connect the inlet (left) side of the filter with the supply adapter. Be sure to allow enough tubing to prevent kinking and cut the tubing squarely. Place a mark 5/8″ from the end of the tubing.
(B) Wet tubing with water and insert into supply adapter 5/8″ until mark is flush with fitting.
NOTE: Disconnecting the Tubing from the Quick-Connect Fittings: Routine maintenance and cartridge replacement will not require that you disconnect the tubing from the filter system; however, tubing may be quickly and easily removed from the fitting if necessary. First, turn off the water supply to the filter. Open faucet, then press in the grey collar around the fitting while pulling the tubing with your other hand.
7. Connecting the System
(A) Assemble tubing with system as shown in Fig. 7A, inserting tubing into appropriate inlet or outlet quick-connect fitting until it stops.
NOTE: In some installations, connecting the system to the water supply adapter and/or drinking water faucet causes the tubing to enter the quick-connect fitting at a sharp angle. This may exert pressure on the quick-connect fitting and cause it to leak. In these situations, you may wish to use one or both of the quick-connect elbows included with the installation kit. Simply push the quick connect elbow directly into the quick-connect fitting on the system, then insert the tubing into the quick-connect elbow.
(B) When cut between a set of black guide arrows, the tubing should be pushed into the fitting so that the entrance of the fitting falls between the next set of guide arrows (approximately 5/8″ [16 mm]).
8. Putting the System into Operation
(A) Slowly turn on cold water supply.
(B) Shut off faucet opened before starting installation.
(C) Open water supply adapter.
(D) Rotate base of drinking water faucet counter-clockwise to “ON” position. Allow water to run for 5 minutes to flush air and carbon fines from filter cartridges. Check system for leaks before leaving installation.
INSTALLATION IS NOW COMPLETE.
FILTER CARTRIDGE REPLACEMENT
- Filter cartridges the US-1000 will last about 500 gallons or six months before they need to be replaced. Filter cartridge life varies depending on usage, and/or water conditions. Changes in taste, color, and flow of the water being filtered indicate that the cartridge should be replaced.
- Read all instructions before replacing filter cartridges.
- Turn off cold water supply and open the drinking water faucet to release pressure from system.
- Unscrew and remove bottom of filter housing. Locate and remove large O-ring, wipe clean of lubricant, and set aside. Repeat for second housing.
- Discard used filter cartridges. Using a non-abrasive sponge or cloth, scrub the bottom of filter housings, O-ring grooves, and caps with dish soap and warm water. Rinse thoroughly. Fill bottom of each housing 1/3 full with water. Add 1 tablespoon of household bleach and scrub to disinfect.
- Lubricate O-rings with silicone grease. Insert each O-ring in groove and press into place.
NOTE: This step is important to ensure a proper housing seal. Make certain each O-ring is seated level in its groove or a leak may occur. - Screw bottom of housings with bleach water onto caps without filter cartridges and hand-tighten. DO NOT OVERTIGHTEN.
- Turn on water supply. Let faucet run for about 10 seconds, then turn off faucet and let stand for 20-30 minutes.
- Turn on faucet and allow bleach water to run out (about 3-5 minutes).
- Turn off water supply to system and open faucet to release pressure. Remove bottom of housings and empty of water.
- Insert each filter cartridge in bottom of appropriate filter housing: W-250 Cartridge Set: white with green end caps in left housing, gray plastic cartridge in right housing.
NOTE: The filter cartridges should be installed with the black gasketed ends pointing up. - Screw bottom of housings onto caps and hand-tighten. DO NOT OVERTIGHTEN. Make certain cap standpipe slips into cartridge.
- Open water supply and turn on drinking water faucet to release pressure in system. Let faucet run for 5 minutes to remove trapped air and carbon fines. Check system for leaks before leaving installation.
NOTE:
- It is recommended that you run the tap at least 20 seconds prior to using water for drinking or cooking purposes.
- Initially, filtered water may appear cloudy. If you set a glass of water on a level surface, you should be able to watch the cloudiness disappear from the bottom of the glass upwards. This harmless cloudiness results from the release of trapped air within the cartridge and will disappear within a few weeks after installation.
TROUBLESHOOTING
Leaks:
…between cap and bottom of filter housing
Turn off water supply valve and turn on drinking water faucet to release pressure in system. Remove bottom of housing. Clean O-ring and O-ring groove (located directly beneath threads of housing). Lubricate O-ring with silicone grease and replace securely into groove. Screw bottom of housing onto cap and hand-tighten. DO NOT OVER-TIGHTEN. Turn on water supply valve and check for leaks.
…on system inlet/outlet connections
Turn off water supply valve and turn on drinking water faucet to release pressure in system. Remove tubing from fitting (see NOTE under Step Six: Connecting the Supply Adapter on p.3) and make sure end of tubing is cut squarely and free of scratches or burrs. Reinsert tubing into quick-connect fittings, making sure to push securely until tubing hits a hard stop. Turn on water supply valve and check for leaks.
…on supply adapter connection
Turn off water supply valve and turn on drinking water faucet to release pressure in system. Loosen leaking threaded fitting on supply adapter or pull out leaking tubing from fitting. Inspect to see if plastic tubing is scratched or supply adapter was properly attached. If tubing is scratched, cut off 1/2″ to 5/8″ and reinstall per Step Six: Connecting the Supply Adapter. Reconnect tubing or tighten compression nut with fingers, then tighten nut snugly 1/2-turn with wrench. Turn on water supply valve and check for leaks.
…on faucet/tubing connection
Turn off water supply valve and turn on drinking water faucet to release pressure in system. Loosen and remove compression nut fitting on faucet stem. Make sure tubing is inserted firmly into end of faucet stem, then retighten compression nut with fingers until secure then tighten 1 turn with a wrench. Turn on water supply valve, then turn off faucet to check for leaks.
NOTE: If leaks persist, or if there are other leaks on system, turn off water supply. Call our technical support department at 800.279.9404.
Low Water Flow
- Check flow at faucet. The US-1000 system should fill a gallon jug in approximately 2 minutes. Flow rates will vary with individual household water pressure.
- Check filter cartridge installation. Make certain both filter cartridges are properly oriented in filter housings (See Filter Cartridge Replacement).
- Check to be certain that the water supply valve is completely open (turn handle on valve counter-clockwise as far as it will go).
- Check flow through empty system. To do this, turn off water supply valve and turn on drinking water faucet to release pressure in system. Then remove filter cartridges from housings and screw housings back onto caps. Turn on faucet to check flow through empty system. Flow should be about one to two gallons per minute. If flow is less than 0.4 gallons per minute, call Technical Support at 800.279.9404.

- If flow through empty system is adequate, place one filter cartridge in system at a time and check flow to make sure cartridge is not clogged. Replace clogged cartridge if necessary.

REPLACEMENT PARTS
*image may be different than actual faucet
For replacement parts, contact your nearest PENTEK distributor or call 800.279.9404.
PERFORMANCE DATA
Important Notice: Read this performance data and compare the capabilities of this system with your actual water treatment needs. It is recommended that, before installing a water treatment system, you have your water supply tested to determine your actual water treatment needs.
This system has been tested according to NSF/ANSI 42 and 53 for reduction of the substances listed below. The concentration of the indicated substances in water entering the system was reduced to a concentration less than or equal to the permissible limit for water leaving the system, as specified in NSF/ANSI 42 and 53.
Model US-1000

Flow Rate = 0.5 gpm (1.9 L/min); Capacity = 500 gallons (1893 L) or 6 months Testing was performed under standard laboratory conditions, actual performance may vary.
⚠ WARNING: Do not use with water that is microbiologically unsafe or of unknown quality without adequate disinfection before or after the system. Systems certified for cyst reduction* may be used on disinfected waters that may contain filterable cysts.
NOTE: Substances reduced are not necessarily in your water. Filter must be maintained according to manufacturer’s instructions, including replacement of filter cartridges.
*NSF/ANSI Standard 53 certified to reduce cysts such as Cryptosporidium and Giardia by mechanical means. **Reduces particles as small as 0.5-1 micron in size by mechanical means.
EPA Est. #090375-MEX-001
Test Conditions
Flow Rate = as noted for filter system
Inlet Pressure = 60 psi (4.1 bar)
pH = 7.5±1
Temperature = 68°F ± 5°F (20°C ± 2.5°C)
Operating Requirements
Pressure = 30-125 psi (2.1–8.62 bar)
Temperature = 40-100°F (4.4–37.8°C)
Organic Chemicals Included by Surrogate Testing:


For Pentek® Product Warranties visit: www.pentairaqua.com/pro
FILTRATION & PROCESS 5730 NORTH GLEN PARK ROAD, MILWAUKEE, WI 53209 P: 262.238.4400 | WWW.PENTAIRAQUA.COM | CUSTOMER CARE: 800.279.9404 | [email protected]
All Pentair trademarks and logos are owned by Pentair, Inc. or its affiliates. All other registered and unregistered trademarks and logos are the property of their respective owners. Because we are continuously improving our products and services. Pentair reserves the right to change specifications without prior notice. Pentair is an equal opportunity employer. 146597 REV D JA14 © 2013 Pentair Residential Filtration, LLC All Rights Reserved.

















