artika FM-COC-WHJ Concerto LED Ceiling Light Instruction Manual

ED Ceiling Light – ConcertoTM
IMPORTANT: READ CAREFULLY AND KEEP
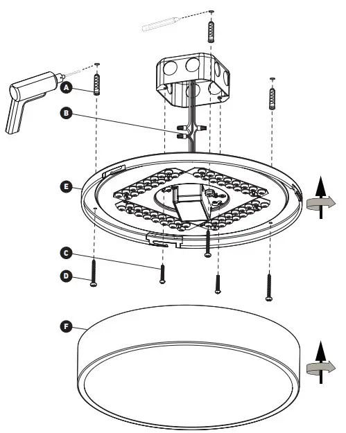
INCLUDED HARDWARE


1 STEP-BY-STEP INSTALLATION

CAUTION
WARNING:
Risk of electrical shock. Turn off breaker at the panel.
Switch off the main electrical supply from the fuse box/circuit breaker before installing the unit or doing any maintenance.
Do not use outdoor.
IMPORTANT
The installer and/or user must read, understand and follow these instructions before installing the product. This product must be properly installed before it is used.
If instructions are not followed, the manufacturer will not be held responsible for any problems or product malfunction. Failure to follow installation and/or operating instructions voids the warranty.
We recommend that this product be installed by a certified electrician. In some states or provinces, it is a legal requirement for this type of product to be installed by a certified electrician, according to
the electrical and building codes effective in the region where the unit is used.
1 LIGHT FIXTURE INSTALLATION


2 LIGHT FIXTURE INSTALLATION

3 LIGHT FIXTURE INSTALLATION

4 LIGHT FIXTURE INSTALLATION

5 LIGHT FIXTURE INSTALLATION

6 CONNECTION

7 LIGHT FIXTURE INSTALLATION

8 LIGHT FIXTURE INSTALLATION

8 TUNABLE WHITE TECHNOLOGY

9 DIFFUSER INSTALLATION





















