artika FM-KE Kent LED Ceiling Light Instruction Manual
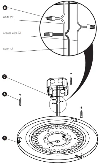
INCLUDED HARDWARE
| ITEM | DESCRIPTION | QUANTITY |
A | Wall anchor | × 3 |
B | Wire connector | × 3 |
C | Junction box screw |
× 2 |
D | Mounting bracket | × 1 |
E | Retaining screw | × 3 |
F | LED ceiling light with canopy assembled | × 1 |
STEP-BY-STEP INSTALLATION


CAUTION
If using a dimmer, it must be LED compatible.
IMPORTANT
The installer and/or user must read, understand and follow these instructions before installing the product. This product must be properly installed before it is used. If instructions are not followed, the manufacturer will not be held responsible for any problems or product malfunction. Failure to follow installation and/or operating instructions voids the warranty.
We recommend that this product be installed by a certifi ed electrician. In some states or provinces, it is a legal requirement for this type of product to be installed by a certifi ed electrician, according to the electrical and building codes eff ective in the region where the unit is used.
WARNING:
Risk of electrical shock. Turn o ff breaker at the panel.
Switch off the main electrical supply from the fuse box/ circuit breaker before installing the unit or doing any maintenance.
Do not use outdoor.
MOUNTING BRACKET INSTALLATION


MOUNTING BRACKET INSTALLATION


TING BRACKET INSTALLATION


CONNECTING THE WIRES

FINAL INSTALLATION

FINAL INSTALLATION

FINAL INSTALLATION

WARRANTY
Artika For Living Inc. is proud to off er you a three (3) years limited warranty on manufacturing defects from the date of purchase for residential use only. The warranty is extended to the original owner in USA and Canada and is non-transferable. It does not apply to retailers, commercial applications or establishments. The original sales receipt is required for all warranty claims. The remedy under this limited warranty shall be product or part replacement at Artika’s discretion as provided herein and cannot exceed the original purchase price.
This warranty is valid only on products installed in accordance with the building code and laws eff ective in the region where the unit is used as well as in accordance with the provided instruction manual. It does not cover products installed incorrectly or subjected to abnormal use. Product(s) or component part(s) may be required to be returned for inspection and verifi cation.
Normal wear and tear, misuse, negligence, vandalism, improper maintenance (surface damage due to chemical interaction or cleaning agents including, but not limited to, scouringpads, use of cleaners containing abrasives, alcohol or other organic solvents) improper handling, accident, abuse, fi re, fl ood, theft, acts of God, neglect, or alteration of the product will not be covered under this limited warranty. It excludes any accessories that accompany the product including but not limited to bulbs or batteries.
The warranty does not cover handling, labor, transportation, or any other cost associated with the installation or replacement of the product. This limited warranty is valid in the country of purchase and by Artika authorized retailers only.
Artika for Living Inc. will not be held responsible for any direct or consequential damages or injuries related to the use of this product arising from improper use or installation of this product.
Please visit www.artika.com to discover more about Artika for Living Inc.
Artika For Living Inc.
1756, 50th Avenue
Montréal (Lachine), Québec
Canada H8T 2V5
Customer Service
Monday to Friday
9 am – 5 pm EST
1-866-661-9606
[email protected]
www.artika.com
Made in China
Residential use only
Indoor use only

























