FM-ED-HD2GD LED Ceiling Light

LED ceiling light – Essence DiskTM
INSTRUCTION MANUAL
IMPORTANT: READ CAREFULLY AND KEEP.
Imported by
Home Depot U.S.A., Inc.
2455 Paces Ferry Rd., NW
Atlanta, GA 30339
For assistance, call/Pour assistance, appeler/ Si necesita ayuda, llame al:
1-800-986-3460
www.homedepot.com/homedecorators
Made in China
Residential use only
Indoor use only
ITEM | DESCRIPTION | QUANTITY |
A | Wall anchor | × 2 |
B | Mounting bracket | × 1 |
C | Junction box screw | × 2 |
D | Fixation screw | × 2 |
E | Wire connector | × 3 |
F | Canopy screw | × 2 + 1 extra |
G | LED ceiling light | × 1 |
STEP-BY-STEP INSTALLATION

WHAT YOU WILL NEED



CAUTION
WARNING: Risk of electrical shock. Turn off breaker at the panel.
CAUTION
If using a dimmer,
it must be LED
IMPORTANT
The installer and/or user must
read, understand and follow these
instructions before installing the
product. This product must be
properly installed before it is used.
If instructions are not followed,
the manufacturer will not be held
responsible for any problems or
product malfunction. Failure to
follow installation and/or operating
instructions voids the warranty.
We recommend that this product be
installed by a certified electrician.
In some states or provinces, it is
a legal requirement for this type
of product to be installed by a
certified electrician, according to
the electrical and building codes
effective in the region where the
unit is used.
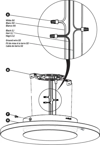
1 MOUNTING BRACKET INSTALLATION

2 CONNECTING THE WIRES AND CANOPY INSTALLATION

WARNING:
Changes or modifications to this unit
not expressly approved by the party
responsible for compliance could void
the user’s authority to operate the
equipment
This device complies with Part 15 of the
FCC Rules. Operation is subject to the
following two conditions:
1. This device may not cause harmful
interference,
and
2. this device must accept any
interference received,including
interference that may cause undesired
operation.
NOTE: This equipment has been tested
and found to comply with the limits
for Class B digital device, pursuant to
part 15 of the FCC Rules. These limits
are designed to provide reasonable
protection against harmful interference
in a residential installation. This
equipment generates, uses and can
radiate radio frequency energy and, if
not installed and used in accordance
with the instructions, may cause
harmful interference to radio or
television reception. However, there
is no guarantee that interference will
not occur in a particular installation.
If this equipment causes harmful
interference to radio or television
reception, which can be determined by
turning the equipment off and on, the
user is encouraged to try to correct
the interference by one or more of the
following measures:
• Reorient or relocate the receiving antenna.
• Increase the separation between the equipment and the receiver.
• Connect the equipment into an outlet on a circuit different from that to which
the receiver is connected.
• Consult the dealer or an experienced radio/TV technician for help.
WARRANTY
Artika For Living Inc. is proud to offer you a five (5) years limited warranty on manufacturing defects from the date of purchase for residential use only. The warranty is extended to the original owner in USA and Canada and is non-transferable. It does not apply to retailers, commercial applications or establishments. The original sales receipt is required for all warranty claims. The remedy under this limited warranty shall be product or part replacement at Artika’s discretion as provided herein and cannot exceed the original purchase price. This warranty is valid only on products installed in accordance with the building code and laws effective in the region where the unit is used as well as in accordance with the provided instruction manual. It does not cover products installed incorrectly or subjected to abnormal use. Product(s) or component part(s) may be required to be returned for inspection and verification.
Normal wear and tear, misuse, negligence, vandalism, improper maintenance (surface damage due to chemical interaction or cleaning agents including, but not limited to, scouring pads, use of cleaners containing abrasives, alcohol or other organic solvents) improper handling, accident, abuse, fire, flood, theft, acts of God, neglect, or alteration of the product will not be covered under this limited warranty. It excludes any accessories that accompany the product including but not limited to bulbs or batteries. The warranty does not cover handling, labor, transportation, or any other cost associated with the installation or replacement of the product. This limited warranty is valid in the country of purchase and by Artika authorized retailers only.
Artika for Living Inc. will not be held responsible for any direct or consequential damages or injuries related to the use of this product arising from improper use or installation of this product.
Please visit www.artika.com to discover more about Artika for Living Inc.
Artika For Living Inc. 1756, 50th Avenue Montréal (Lachine), Québec Canada H8T 2V5
Customer Service Monday to Friday 9 am – 5 pm EST
1-866-661-9606 [email protected] www.artika.com
Service à la clientèle Lundi au vendredi 9 h à 17 h H.N.E.
Atención al cliente Lunes a viernes 9 a.m. – 5 p.m. hora del Este



















