
Heron LED Exterior Luminaire Instruction Manual
VIZULO Heron LED exterior luminaire
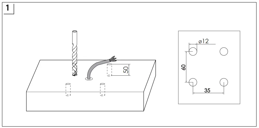
Mounting instruction

Dimensions

Average Netto Weight


WARNING!
- Do not touch LED modules!
- Do not put any tools or other items on LED modules!
- In case any LED is physically damaged (example shown below) the warranty is void.

| LED | Power | CCT | Risk group | Remarks | |
| Oslon Square | 8… 26 W | ≤ 5700 K | RG1 after TBC m* | Label required | |
| Luxeon 5050 | 8… 26 W | ≤ 5700 K | RG1 after TBC m* | Label required |
*The luminaire should be positioned so that prolonged staring into the luminaire at a distance closer than shown in the table above is not expected.
A stencil of mounting holes for HERON without flance

A stencil of mounting holes for HERON with flance

The luminare itself can be used as a stencil:
- place it on the desired mounting location;
- mark the actual mounting holes;
- drill the mounting holes;
- insert wedge screws;
- place the luminaire on and screw it.
Standard configuration
Make the holes with a given diameter in a concrete base
Hammer the screws in a concrete base and place the luminaire
Unscrew the back panel and screw the screw nuts

MCB/Inrush current table
| Tridonic LEO drive (No dim/ Midnight dimming/ DALI) | |||||||||||||||
| Standard/ligh density | 1n-rush current (peak/duration) | EllOA | 913A | 816A | 920A | 925A | 832A | 840A | C10A | C13A | C 16A | C20A | C25A | C32A | C40A |
| 6-12 LED. 8-26W | 15 A (226 ps) | 19 | 25 | 30 | 37 | 46 | 59 | 74 | 31 | 41 | 50 | 61 | 76 | 97 | 122 |
| 12-20 LED, 20-43W | 25A (236 us) | 12 | 16 | 20 | 26 | 32 | 41 | 52 | 20 | 26 | 33 | 43 | 53 | 68 | 86 |
| 20-28 LED, 33-64W | 32 A (336 us) | 6 | 8 | 10 | 13 | 16 | 20 | 26 | 10 | 13 | 16 | 21 | 26 | 33 | 42 |
| 28-48 LED, 45-96W | 42 A (238 us) | 6 | 8 | 10 | 13 | 16 | 20 | 26 | 10 | 13 | 17 | 22 | 27 | 35 | 44 |
| 48-64 LED, 70-144W | 65 A (268 ps) | 3 | 4 | 5 | 6 | 7 | 9 | U | 5 | 7 | 8 | 10 | 12 | 16 | 20 |
| 64-338 LED, 100-211W | 80A (225 ps) | 4 | 6 | 8 | 10 | 12 | 16 | 20 | 6 | 10 | 13 | 16 | 20 | 25 | 32 |
| 108-128LED, 13S-288W | 130A (268 ps) | 1 | 2 | 2 | 3 | 3 | 4 | 6 | 2 | 3 | 4 | 5 | 6 | 8 | 10 |
| 128-160 LED, 200-380W | 160A (225µs) | 2 | 3 | 4 | 5 | 6 | 8 | 10 | 3 | 5 | 6 | 8 | 30 | 12 | 16 |
| Eco | 810A | B13A | B16A | 1120A | BMA | B32A | B40A | C10A | C13A | Cl6A | C20A | GSA | C32A | C40A | |
| 4-4 LED, 9-20W | 15A (226 us) | 19 | 25 | 30 | 37 | 46 | 59 | 74 | 31 | 41 | 50 | 61 | 76 | 97 | 122 |
| 4-8 LED, 20-38W | 25 A (236 us) | 12 | 16 | 20 | 26 | 32 | 41 | 52 | 20 | 26 | 33 | 43 | 53 | 68 | 86 |
| 8-12 LED. 30-57W | 32 A(335 us) | 6 | 8 | 10 | 13 | 16 | 20 | 26 | 10 | 13 | 16 | 21 | 26 | 33 | 42 |
| 12-24 LED, 45-96W | 42 A(238 us) | 6 | 8 | 10 | 13 | 16 | 20 | 26 | 10 | 13 | 17 | 22 | 27 | 35 | 4d |
| 24-32 LED, 70-144W | 65 A(268 us) | 3 | 4 | 5 | 6 | 7 | 9 | 12 | 5 | 7 | 8 | 10 | 12 | 16 | 20 |
| 32-52 LED, 100-211W | 80A (225 us) | 4 | 6 | 8 | 10 | 12 | 16 | 20 | 6 | 10 | 13 | 16 | 20 | 25 | 32 |
| 52-64 LED, 135-2E8W | 130A(268 us) | 1 | 2 | 2 | 3 | 3 | 4 | 6 | 2 | 3 | 4 | 5 | 6 | 8 | 10 |
| 64-96 LED, 200-383W | 160A(225 us) | 2 | 3 | 4 | 5 | 6 | 8 | 10 | 3 | 5 | 6 | 8 | 10 | 12 | 16 |
| Tridonic 1ED driver (Maga) | |||||||||||||||
| Standard/Figh density | In-rush current (peak/duration) | 1310A | B13A | 1316A | B20A | BMA | 632A | 640A | C10A | C13A | Cl6A | 6 | C25A | C3M | 040A |
| 6-12 LED, 8-26W | 15A(316 us) | 16 | 21 | 25 | 33 | 41 | 52 | 66 | 26 | 35 | 41 | 55 | 68 | 88 | 110 |
| 12-20 LED, 20-43W | 20A (346 us) | 11 | 14 | 17 | 22 | 27 | 35 | 44 | 18 | 23 | 28 | 36 | 45 | 57 | 72 |
| 20-28 LED, 311-64W | 28A(270 us) | 10 | 13 | 16 | 20 | 25 | 32 | 40 | 16 | 21 | 26 | 33 | 41 | 52 | 66 |
| 28-48 LED, 45-96W | 38 A (280 us) | 6 | 8 | 10 | 13 | 16 | 20 | 26 | 10 | 13 | 16 | 21 | 26 | 33 | 42 |
| 48-64 LED, 70-144W | 56A (277 ps) | 3 | 4 | 5 | 6 | 7 | 9 | 12 | 5 | 6 | 8 | 10 | 12 | 16 | 20 |
| 64-338 LED, 100-211W | 85 A (215 ps) | 3 | 4 | 5 | 6 | 7 | 9 | 12 | 5 | 6 | 8 | 10 | 12 | 16 | 20 |
| 108-128 LED, 135-288W | 112 A (277 ps) | 1 | 2 | 2 | 3 | 3 | d | 6 | 2 | 3 | d | 5 | 6 | 8 | 10 |
| 128-160 LED, 200-380W | 170A (215 ps) | 1 | 2 | 2 | 3 | 3 | 4 | 6 | 2 | 3 | 4 | 5 | 6 | 8 | 10 |
| Eco | 1310A | B13A | B16A | B20A | BMA | B32A | 640A | C10A | C13A | C16A | 204 | C25A | C3M | 040A | |
| 4-4 LED. 9-20W | 15A (316 ps) | 16 | 21 | 25 | 33 | 41 | 52 | 66 | 26 | 35 | 41 | 55 | 68 | 88 | 110 |
| 4-8 LED. 20-39W | 20A (346µs) | 11 | 14 | 17 | 22 | 27 | 35 | 44 | 18 | 23 | 28 | 36 | 45 | 57 | 72 |
| 8-12 LED. 30-57W | 28A (270 ps) | 10 | 13 | 16 | 20 | 25 | 32 | 40 | 16 | 21 | 26 | 33 | 41 | 52 | 66 |
| 12-24 LED, 45-96W | 38 A (280µs) | 6 | 8 | 10 | 13 | 16 | 20 | 26 | 10 | 13 | 16 | 21 | 26 | 33 | 42 |
| 24-32 LED, 70-144W | 56A (277 ps) | 3 | 4 | 5 | 6 | 7 | 9 | 12 | 5 | 6 | 8 | 10 | 12 | 16 | 20 |
| 32-52 LED, 100-211W | 85 A (215 ps) | 3 | 4 | 5 | 6 | 7 | 9 | 12 | 5 | 6 | 8 | 10 | 12 | 16 | 20 |
| 52-64 LED, 135-283W | 112 A (277 us) | 1 | 2 | 2 | 3 | 3 | 4 | 6 | 2 | 3 | 4 | 5 | 6 | 8 | 10 |
| 64-96 LED, 200-380W | 170A ( 215 us) | 1 | 2 | 2 | 3 | 3 | 4 | 6 | 2 | 3 | 4 | 5 | 6 | 8 | 10 |

Terms of use and maintenance
Before luminaire is turned on, it should be mounted according with this mounting instruction or any other applicable regulations.
Mounting instructions
Mounting of luminaire must be performed by a qualified person according with following instructions:
- The warranty of luminaire does not apply, if the mounting of luminaire has been performed in precipitation (rain, snow, hail).
- The warranty of luminaire does not apply, if a control system unauthorized by VIZULO or an inapplicable LED driver has been used to drive the luminaire.
- The warranty of luminaire does not apply, if it has been used in an unsuitable ambient temperature or has been supplied by voltage outside of the specified range.
- The warranty of luminaire does not apply, if the LED driver program has been changed in any way.
- The warranty of the luminaire does not apply, if the logged history data of the LED driver has been deleted without the permission of VIZULO.
- The warranty of luminaire does not apply, if it has been mounted in unspecified angles or upside down (luminaire glass directed up), or it has been completely submerged under water.
Safety instructions
Any actions with the luminaire must be performed by a qualified person, who is certified according with national regulations and requirements.
To prevent any accidents person installing the luminaire must follow national safety requirements and following instructions:
- The label containing technical parameters of the luminaire has to be studied before the work on it has begun.
- Any luminaire build or design changes are prohibited.
- The luminaire must be used in good technical condition and according with this instruction.
- Only VIZULO authorized spare parts and accessories can be used to repair the luminaire.
- The repair of luminaire has to be performed by a qualified and certified person.
Maintenance and repair
Luminaire has to be disconnected from electrical grid before it is opened and/or repaired!
- The person working with the luminaire must follow national regulations and legislations that apply to maintenance and testing of electrical or electronic appliances.
- The luminaire may need to be cleaned depending on its environment. Only a damp cloth or a sponge may be used to clean the luminaire. Use only household detergents diluted by water.
- Only VIZULO authorized spare parts may be used for the luminaire.
- Instruction for changing spare parts must be requested from VIZULO and studied before the repair is attempted.
- LED modules, lens and LED drivers can be changed on an installed luminaire, but it is advised to perform this task indoor to avoid water entering the luminaire.
- Spare parts (lens, LED modules and drivers) should be ordered from the information available on the luminaire label.

24-03-2022
SIA VIZULO
Laucu Lejas, Iecava, Latvia, LV-3913
www.vizulo.com


















