
Owner’s Manual
Model Number 332793
6 INCH DESK FAN
IMPORTANT:
PLEASE READ ALL OF THE INSTRUCTIONS CAREFULLY AND RETAIN THEM FOR FUTURE REFERENCE.
SAFETY INSTRUCTIONS
When using electrical appliances basic safety precautions should be followed, including the following:
- The appliance can be used by children aged from 8 years and above and any persons with reduced physical, sensory or mental capabilities or lack of experience and knowledge if they have been given supervision or instruction concerning use of the appliance in a safe way and understand the hazards
- Children shall not play with the appliance.
- Cleaning and user maintenance shall not be made by children without supervision.
- If the supply cord is damaged, it must be replaced by the manufacturer, service agent, or similarly qualified persons in order to avoid a hazard.
- Ensure that the fan is switched off from the supply mains before removing the guard.
- Disconnect the product from the main supply before cleaning.
- Do not use any liquids or aerosol cleaners, as this may damage the product. Use a soft, dust-free
- For detailed information about cleaning/user maintenance, please refer to the ‘CARE & MAINTENANCE” and “STORAGE” sections.
- This appliance is for household and indoor use only.
- Do not use the Fan near a window. Rain may create an electrical hazard.
- Always operate the product from a power source of the same voltage, frequency, and rating as indicated on the product rating label.
- Always ensure the power cord does not overhang where it can be accidentally pulled causing the appliance to fall, or come into contact with hot surfaces.
- If it is not working properly, contact a qualified electrician or service center for examination and repair, never try to dismantle it by yourself.
- Do not immerse or expose the product or cord to water, rain, moisture, or any other liquid.
- This product should not be used in the immediate vicinity of water, such as baths, basins, swimming pools, etc., where a likelihood of immersion or splashing could occur.
- Never install the unit where it could be subject to:
- Heat sources such as radiators, heat registers, stoves, or other products that produce heat or direct
- Mechanical vibration or shock.
- Excessive dust.
- Lack of ventilation, such as a cabinet or bookcase.
- An uneven surface.
- Switch off and unplug from the socket when the product is not in use, before assembling or disassembling parts, and before cleaning. (Once assembled, do not disassemble).
- Avoid contact with moving parts. Do not insert any body parts (e.g. finger) or objects through the grill when the fan is operating.
- Do not cover the grill, or operate in close proximity to curtains, etc.
- Always disconnect the fan from the mains supply when moving it from one location to another.
- Be sure the fan is on a stable surface when operating to avoid overturning.
- Do not immerse in water.
- This product has been designed and manufactured to meet European safety standards, but like any electrical equipment, care must be taken if you are to obtain the best results and safety is to be
- Do read the operating instructions before you attempt to use the product.
- To ensure that all electrical connections (including the mains plug, extension leads and interconnections between pieces of equipment) are properly made in accordance with the
- Do consult your dealer if you are ever in doubt about the installation, operation, or safety of your
- Don’t remove any fixed covers as this may expose you to dangerous voltages.
- Don’t continue to operate the product if you are ever in doubt about it working normally, or if it is damaged in any way. Switch it off, withdraw the plug from the mains and consult your dealer.
- There are no user-serviceable parts in the product.
- Don’t leave the product switched on when it is unattended for long periods of time unless it is specifically stated that it is designed for unattended operation or has a standby mode.
- Do not use the product in humid or damp conditions or allow it to be exposed to rain or moisture.
- Store the product in a clean, dry environment.
- Position the power cable and other connected cables so that they are not likely to be walked on, pinched or where items can be placed on or against them.
- Do not run the cord under carpeting. Do not cover the cord with throw rugs, runners or similar Do not route the cord under furniture or appliances. Arrange cord away from traffic areas and where it will not be tripped over.
- Never allow children to insert foreign objects into holes or slots on the product.
- Close supervision is necessary when any appliance is used by or near children.
- Contact local authorities for means of disposal.
- Make sure that other people in your household are conversant with the operation of the product.
WARNING
- To reduce the risk of fire or electric shock, DO NOT use this fan with any solid-state speed control device.
- Unplug/disconnect this fan from the power supply before servicing.
DESCRIPTION OF PARTS

ASSEMBLY
- Loosen the nut & bolt from the fan base and remove.
- Place the fan head onto the base so that the holes are aligned.
- Insert the bolt through the holes and the nut on the other side and tighten.

USING YOUR 6 INCH DESK FAN
- Ensure that the fan has been assembled correctly. Select a suitable location for the fan.
- Plugin at the main outlet and select the desired speed by turning the speed control switch clockwise at the back of the fan head.

– 0 – off
– 1 – Slow
– 2 – Fast
ELECTRICAL INFORMATION
(Fixed Mains Plug Only)
The mains lead supplied with this product is fitted with a BS1363/A 13 amp plug. If it is not suitable for your supply sockets it must be replaced with an appropriate plug.
If the plug becomes damaged and/or needs to be replaced please follow the wiring instructions on the next page.
The plug removed must be disposed of immediately. It must not be plugged into a supply socket as this will be an electrical hazard.
If the fuse needs to be replaced it must be of the same rating and ASTA approved to BS1362. If the plug is changed, a fuse of the appropriate rating must be fitted in the plug, adapter, or at the distribution board. If the fuse in a molded plug is replaced, the fuse cover must be refitted before the
the application can be used.
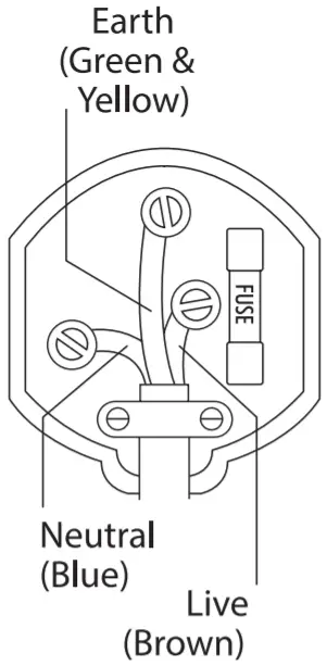
WIRING INSTRUCTIONS
The supply cable will be either 2-core or 3-core. Follow the appropriate wiring instructions shown. In both cases ensure that the outer sheath of the cable is held firmly in place by the cable clamp.
ELECTRICAL INFORMATION
(Power adapters only)
Never open the power adapter, you risk getting an electric shock. Only use the power adapter that is supplied with your product. You must always connect the power adapter to the product before connecting to the main power supply. The power adapter must be used indoors only, and must not
be subjected to damp conditions. The power adapter does not have any user-serviceable parts.
![]() | 2-CORE PLUG | ![]() |
![]() | 3-CORE PLUG | ![]() |
CARE & MAINTENANCE
Always unplug the unit from the mains power supply and allow it to cool sufficiently before performing any cleaning or maintenance.
Wipe the unit with a soft, damp cloth and allow it to dry thoroughly.
Do not use harsh or abrasive cleaning solvents, as these may damage the finish of the unit.
Do not immerse the unit in water or any other liquid.
STORAGE
Ensure that the unit is completely cool.
Store in a cool, dry place.
TECHNICAL SPECIFICATION
| Model Number | 332793 |
| Power Supply | 220-240V |
| Rated Frequency | 50Hz |
| Power | 16W |
GUARANTEE
This product is guaranteed for twelve months from the date of original purchase. If any defect should occur due to faulty materials or workmanship, please return it to the store it was purchased from.
You will need to have your receipt of purchase on hand. The guarantee is subject to the following provisions:
- It is only valid within the boundaries of the country of purchase.
- The product must be correctly installed and operated in accordance with the instructions contained in the User Manual.
- The product must be used solely for domestic purposes.
- The guarantee will be rendered invalid if the product is re-sold or has been damaged by inexpert repair.
- The manufacturer disclaims any liability for incidental or consequential damages.
- The guarantee is in addition to and does not diminish, your statutory or legal rights.
This appliance complies with the below listed EU Directives
2014/30/ EU Electromagnetic Compatibility Directive
2014/35/ EU Low Voltage Directive
2011/65/ EU Restriction of Hazardous Substances
The complete declaration of conformity is available upon request for relevant inquiries
Information on Waste Disposal for Consumers of Electrical & Electronic Equipment
This mark on a product and/or accompanying documents indicates that when it is to be disposed of, it must be treated as Waste Electrical & Electronic Equipment (WEEE).
Any WEEE marked waste products must not be mixed with general household waste, but kept separate for the treatment, recovery, and recycling of the materials used.
For proper treatment, recovery and recycling; please take all WEEE marked waste to your Local Authority Civic waste site, where it will be accepted free of charge.
If all consumers dispose of Waste Electrical & Electronic Equipment correctly, they will be helping to save valuable resources and preventing any potential negative effects upon human health and the environment, of any hazardous materials that the waste may contain.
Imported by B&M Retail Ltd The Vault, Dakota Drive,
Estuary Commerce Park, Speke, Liverpool, L24 8RJ, UK
Your statutory rights are not affected.
Made in China.
All brand names are registered trademarks of their respective owners.
Enjoy it.![]()




















