USER GUIDE

KIDS SWING AND SLIDE
BASKETBALL ACTIVITY SET
NBSWNGSLIDA
SAFETY & WARNINGS
![]() | WARNING: CHOKING HAZARD-Small parts. This product contains small parts and is not suitable for children under 3 years old. |
- Only to be installed on a stable surface.
- This product must only be assembled by an adult and used under the direct supervision of a guardian.
- Adult assembly is required!
- Parent supervision is required when children are playing with the climber, swing chair, and slide.
- Keep all small parts and packaging materials of this product away from babies and children, as they may cause serious choking hazards.
- Do not install in humid environments or bathrooms.
- Do not install or store near heating/high-temperature equipment.
- Do not hang on, pull at, or apply weight to the basketball hoop.
- Do not use it for other purposes than the product’s intention. Failure to follow this warning may result in serious injury or damage.
- Recommended age: 3+
- Slide max load: 75 kg
- Swing chair max load: 35 kg
Imported by Kogan Australia Pty Ltd, 139 Gladstone Street, South Melbourne, Vic, 3205 Australia
COMPONENTS

Part | Name | Qty |
1 | Side Panel | (x3) |
| 2 | Rod | (x1) |
3 | Steps | (x4) |
4 | SideBar | (x1) |
| 5 | Nut | (x19) |
6 | Slide | (xl) |
7 | Basketball Hoop | (xl) |
8 | Hoop Net | (xl) |
9 | Swing Bar | (xl) |
| 10 | Plugboard | (xl) |
11 | Swing Seats | (xl) |
| 12 | Side Seat Back | (xl) |
13 | Swing Handrails | (x1) |
14 | Small Nut | (x2) |
15 | Half Button | (x1) |
16 | Screw | (x6) |
17 | Carabiner Fastener | (x2) |
Not pictured: Basketballs (x3) and air pump (x1)
ASSEMBLY
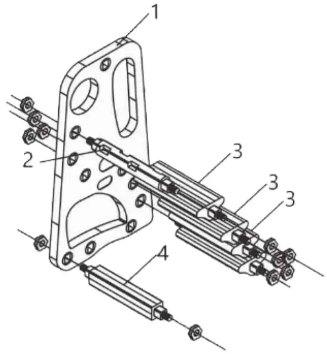
Step 1:
Insert the rod (2), the four steps (3) and the sidebar (4) into the holes of the side panel (1), following the below image for position reference.
Step 2:
Use the nuts (5) to screw on one side of fitted parts (2, 3, 4). Do not overtighten, as this may damage the threads of the parts.
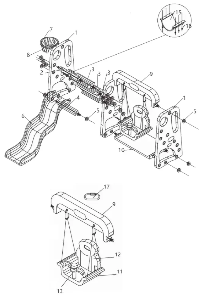
Step 3:
Install the basketball hoop (7), securing with the nut (5). Fit the net (8) to the hoop.
Position the slide (6) and then install the middle side panel (1), fitting with the nuts (5).
Install the swing bar (9) and plugboard (10), fastening with the nuts (5).
Step 4:
Fit the half button and screw (15 and 16) to the rod (2), and fix the slide (6) with 15 and 16 to secure.
Fit the remaining side panel (1) to 9 and 10 with the nuts (5).
Assemble the swing (parts 11-13) and attach to 9 with the carabiner fasteners (17).
NOTES
——————————————————————————————————-
Need more information?
We hope that this user guide has given you
the assistance needed for a simple setup.
For the most up-to-date guide for your product,
as well as any additional assistance you may require,
head online to help.kogan.com
kogan.com


















