
Breath Buddy 650
HALF MASK RESPIRATOR
TPR FACEPIECE
![]() | ![]() |
EN140:1998
The TPR respirator 650 Series is a twin filter half-mask respirator that has resistant filter connectors and a form-fitting shape which gives optimum vision.
The 650 series gives great comfort and a great facelift since it is made of the most advanced TPR technology.
For the correct use of the respirator, read these instructions carefully before using it and keep this document for further consultation.
WARNING
- This respirator does not supply oxygen (02). Use in adequately ventilated areas without oxygen deficiency and that do not contain explosive atmospheres.
- The proper type of filter must be chosen according to the concentration and type of contaminant in each case. Do not use in environments where the concentration value of the contaminant is immediately dangerous to life or health (IDLH).
- Two filters must be placed on each respirator.
- Must not be used for protection against carbon monoxide under any circumstances.
- The respirator must not be modified or altered.
- This respirator with filters cannot be used in containers, wells, sewers, or closed spaces with no ventilation.
- Do not use beards or any other elements on the user’s face which might prevent the facelift.
- Leave the work area in case of respirator being damaged, breathing difficulty, and/or dizziness or nausea.
BEFORE USE
- Make sure the respirator has all its parts: harness and straps, inhalation, and exhalation valves.
- Make sure the respirator is in perfect condition, with no signs of dirt, breakage, cracks, or bumps in any of its components. Should this be the case, the respirator must be disposed of off.
- Make sure that the chosen filter is the proper one for the intended use.
- Make sure two units of the same type of filter are available for each respirator.
ASSEMBLING INSTRUCTIONS
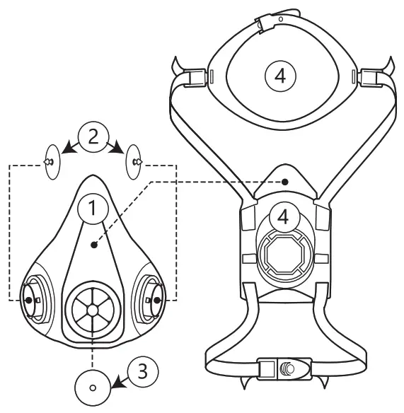
Match the plastic filter connector with the filter holder on the respirator. Press and turn the filter all the ways clockwise (figure N01). Repeat procedure for the second filter.
INSTRUCTIONS FOR DONNING AND FACE FITTING
- Adjust the size of the plastic head cradle as necessary so as to fit comfortably on your head.
- Place the plastic head cradle over your head with the arrow that is on the figure of a face pointing forward.
- Hold the ends of the bottom elastic straps with one hand and with the other hand slide the face piece up onto your face covering your mouth and nose. (figure N®2).
- Grasp the ends of the straps place them at the back of the neck and hook them together. (figure N®3). Adjust strap tension by pulling straps ends until a secure and comfortable fit is obtained. Strap tension may be decreased by pushing out on the back side of buckles.
FACEIT CHECK
Positive pressure facet check
Cover with your hand the exhalation valve, exhale gently to get overpressure, and make sure no air leaks are detected. (Figure N®4).
Negative pressure facet check
- When using cartridges, place hands to cover the face of the cartridge and inhale (figure N®5). In case of no leakage, you will feel that the respirator is fitted to the face.
- When using P3 filters, place the thumbs onto the center position of the filters and inhale (figure N®6). In case of no leakage, you will feel that the respirator is fitted to the face.
- If you detect leakage in some of the tests, the respirator has not been fitted to the face properly. If that is the case, reposition the respirator on the face again, adjust the elastic straps again and repeat the seal checks.
- If you cannot achieve a proper face fit, do not enter a contaminated area.
- Consult with an Occupational Safety Expert.
- To remove the respirator, loosen up elastic straps, unbuckle bot-tom straps and remove the harness from the head.
STORAGE
The respirator must be stored without the filters in a hermetically sealed bag at room temperature in a dry place away from contaminants.
CLEANING AND DISINFECTION
- Remove filters before cleaning the respirator
- Clean the respirator with a wet cloth and immerse it in a warm water solution which must not exceed 500C using a neutral detergent if necessary.
- Rinse with warm water and air dry in a contaminant-free environment.
DO NOT CLEAN WITH SOLVENTS, STRONG DETERGENTS, OR PETROLEUM-BASED PRODUCTS.
MAINTENANCE
In order to keep the respirator in the best conditions, do the following after each use:
- Clean and store completely dry in a hermetically sealed bag without filters.
- Check inhalation and exhalation valves and keep them completely clean without any distortions.
- Make sure the elasticity of the straps does not decrease.
- Make sure the respirator is in perfect condition with no signs of dirt, tearing, crack, or dents in any of its components. If any of its pieces show any distortions the respirator must be replaced and/ or disposed of.
EXPIRATION
Respirators 650 Series are manufactured with high-quality materials. However, respirator parts such as valves, harness, straps, or any part that needs to be changed, must be replaced the moment they show any alteration or distortion.
USE LIMITATIONS
The use of this respirator must be in compliance with current legislation, standards about respiratory protection, and standards from various official bodies.




Breath Buddy
www.mybreathbuddy.com
Standard: Respiratory protective devices. EN 1401998
Revision: R20180201
CE 2056


















