
BALDWIN SMALL CEILING LIGHT
USER GUIDE


Introduction
Thank you for purchasing this Baldwin Pendant light.
Please read the instructions carefully before use to ensure the safe and satisfactory operation of this product.
Warnings
This is a Class 1 product and must be earthed.
Please read these instructions carefully before commencing any work. It is recommended that this fitting is installed by a qualified electrician.
Install in accordance with the IEE Wiring regulations and the Building Regulations.
To prevent electric shock switch off at mains supply before installing or maintaining this fitting. Ensure other persons cannot restore the electrical supply without your knowledge.
If you are in any doubt, please consult a qualified electrician.
This light fitting should be connected to a 5 amp fused circuit.
If replacing an existing fitting, make a note of the connections.
This product is suitable for installation on surfaces with normal flammability e.g.
wood, plasterboard, masonry. It is not suitable for use on highly flammable surfaces (e.g. polystyrene, textiles).
For your safety, always switch off the supply before changing lightbulbs, cleaning, or removing shades. Always take care when handling lightbulbs to avoid injury in case of breakage.
Parts list

Recommended bulb
Recommended bulb (not included)
1 x 7W E27 LED Energy Efficient GLS, or
1 x 28W E27 Eco Halogen GLS, or
1 x 40W (Max.) E27 GLS
When changing a bulb, always switch off at the mains and allow the bulb to cool before handling. Dispose of used bulbs carefully. Do not exceed the rated power stated or use a different shape bulb from that indicated on the fitting.
Product assembly
- Carefully unpack the carton, making sure all the parts are present before assembly.
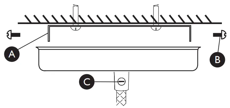
Before removing the existing fitting, carefully note the position of each set of wires. - Remove the fixing strap (A) from the fitting by removing side screws (B). Using the fixings provided in the fixing pack, secure the strap to the ceiling, making sure that there is a joist at the point of fixing to support the weight of the product. Take care to avoid damaging any concealed wiring and pipes. The length of a drop of this product can be adjusted.
Work out the new height at which the product will hang. Then loosen the grub screw in the cable grip below the ceiling cover (C) and feed the excess cable up into the ceiling cover. When the desired length of cable is reached, retighten the grub screw.
- Having identified the household wiring from your existing light fitting, connect to the connection block inside the product in the following way.
Check that:
You have correctly identified the house wires.
•The connections are tight.
•No loose strands have been left out of the connection block.
- Attach the product to the fixing bracket using side screws (B), by locating the screws in the bracket into the holes in
the ceiling cover and tightening the screws to secure.
Remove the shade ring (D) from the threaded lamp holder (E). Place the shade (F) over the threaded lamp holder and secure it in place by refitting the shade ring.
Do not overtighten.
Fit the bulb and replace the fuse or circuit breaker and switch it on. Your light is now ready for use.

Caring for your product
We recommend cleaning with a soft dry cloth. Do not use abrasive materials as these will damage the finish.
Aftercare and Troubleshooting
If you experience any unresolvable technical issues with the product, contact your nearest John Lewis & Partners shop or John Lewis & Partner Technical Support on 03301 230106.
Specification
Max. power: 40W
Voltage: 220–240V, 50Hz
IP rating: 20
Weight: 0.9kg

5-year guarantee
At John Lewis & Partners we test every light to high-quality standards so we are able to offer you a 5-year guarantee.
Recycling
This symbol
indicates that this product should not be treated as normal household waste and should be recycled. John Lewis & Partners do not operate instore take back, but as members of the Distributor Take Back scheme have funded the development and upgrade of recycling facilities across the UK. Please take it to your nearest collection facility or for further details contact your local council or visit www.recycle-more.
co.uk.
John Lewis Partnership
171 Victoria Street
London SW1E 5NN
johnlewis.com
Made in China
Please retain these instructions for future reference.
23/03/2021





















