
RDDB1500BK
Portable DAB+/FM Radio



Specifications
• DAB+ frequency: 174 – 240 MHz
• FM frequency: 87.5 – 108 MHz
• DAB+ presets: 10 channels
• FM presets: 10 channels
• RMS output: 1 W
• Peak power output: 3 W
• Power input: 100 – 240 V, 50/60 Hz
• Batteries: 4x 1.5 V AA / LR6 (not incl.)
• Alarm clock: yes
• Snooze function: yes
• 3.5-mm stereo audio headphone output: yes
• Power input: 5.0 V DC / 1.0 A
Description
Front panel (fig. Al )
| 1. Display | |
| 2. Alarm button 1/2 | • Press the button to set the alarm clock (“Alarm 1” / “Alarm 2”). |
| 3. Mode button | • Press the button to select the mode. • Source mode: Select “DAB” to listen to DAB radio stations. Select “FM” to listen to FM radio stations. Select “AUX” to play audio from external audio devices. • Alarm on/off: Set the alarm on or off. |
| 4. Info/Menu button | • Press and hold the button to enter the clock mode. • Press the button again to enter reset mode or to show the software version or the PI code. • DAB/FM: Press the button to display additional information. |
| 5. Scan button | • Press the button to scan for radiostations. |
| 6. Left/right button | • Press the button to select a radio station. |
| 7. Preset button | • Press the button to preset up to 10 of your favourite radio stations |
| 8. Buttons 1/2/3 | • Press the buttons to store your 3 most favourite radio stations. |
| 9. Back button | • Press the button to move back into the alarm settings. |
| 10. Selection button | • Press the button to confirm your selection. • DAB/FM: Press and hold the button to enter manual tuning mode. |
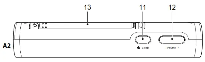
Top panel (fig. A2)
| 11. Standby/sleep button | • Press and hold the button to enter standby mode. • Press the button to enter sleep mode and set the sleep time off: 15 / 30 / 45 / 60 / 90 minutes. • Press the button again to snooze or cancel the alarm. |
| 12. Volume button | • Press the button to increase or decrease the volume. |
| 13. Antenna | • Extend and adjust the antenna to improve the signal strength. |
Rear panel (fig. A3)
| 14. On/off button | • Slide the button to switch on or off the device. |
| 15. Battery compartment | • Insert the batteries (4x AA) into the battery compartment. |
| 16. DC input (5.0 V DC / 1.0A) | • Connect the power adapter to the DC input of the device and to the wall socket. |
| 17. Headphone jack | • Connect the headphones to the headphone jack. |
Storing preset stations
- Press the left/right button to select a radio station. Press the selection button to confirm.
- Press and hold the reset button for 2 seconds.
- Press the left/right button to choose a preset number from 1-10. Press the selection button to confirm.
Recalling Preset Stations
- To recall a preset radio station, press the preset button.
- Press the left/right button to select a radio station. Press the selection button to confirm.
- Note: If you select a preset that has no radio station allocated to it, the display shows “Preset Empty”.
Set the alarm
- Press the alarm button to set the alarm clock (Alarm 1/Alarm 2).
- Press the selection button. The display shows the time. The hour digits flash. Press the left/right button to set the hour. Press the selection button to confirm. The minute digits flash. Press the left/ right button to set the minutes. Press the selection button to confirm.
- Sound: Press the mode button to enter source mode. Press the left/right button to select between buzzer, DAB or FM. Press the selection button to confirm.
- Frequency: Press the mode button to enter alarm frequency mode. Press the left/right button to select daily, once, weekends or weekdays. Press the selection button to confirm.
- Volume: The screen displays a bar chart. Press the volume button to select the volume. Press the selection button to confirm.
- Press the left/right button to select on or off. Press the selection button to confirm. The device shows ‘alarm saved’ in the display. To confirm the alarm is set, the icon is displayed on the front screen (right-top-corner) in standby mode.
- To exit the alarm setting process, press the alarm button. To change the settings, press the back button.
Turning the alarm(s) on/off
- Use the on/off switch to switch off the clock radio and enter standby mode.
- Press the “Alarm 1“ or the “Alarm 2” button. Press the left/right button to select on or off. Press the selection button to confirm.
Snooze function
- When the alarm sounds, press the sleep button to activate the snooze function. The snooze function delays the alarm for 5 minutes.
- To cancel the snooze function, press and hold the sleep button until the display shows “Alarm off”.
Safety
![]()
- To reduce risk of electric shock, this product should only be opened by an authorized technician when service is required.
- Disconnect the product from the mains and other equipment if a problem should occur.
- Read the manual carefully before use. Keep the manual for future reference.
- Only use the device for its intended purposes. Do not use the device for other purposes than described in the manual.
- Do not use the device if any part is damaged or defective. If the device is damaged or defective, replace the device immediately.
Cleaning and maintenance
Warning!
• Do not use cleaning solvents or abrasives.
• Do not clean the inside of the device.
• Do not attempt to repair the device. If the device does not operate correctly, replace it with a new device.
• Clean the outside of the device using a soft, damp cloth.



















