USE AND CARE MANUAL
TABLE LAMP SET OF 2
Model number: 21170

Hardware (Parts are not to scale)
| H1 Finial (Pre-assembled to harp (H2)) 2 pcs | |
| H2 Harp 2 pcs | |
| H3 Shade panel 2 pcs | |
| H4 Top ring 2 pcs | |
| H5 Bottom ring 2 pcs | |
| H6 Socket assembly (connecting to fixture body (A )) 2 pcs | |
| H7 10W LED bulb 2 pcs |
THIS MANUAL CONTAINS IMPORTANT SAFETY INFORMATION. PLEASE READ AND KEEP FOR FUTURE REFERENCE.
IMPORTANT SAFETY INFORMATION
- This lamp is for indoor use only. The lamp should not be used near water. Never immerse the lamp in water or other liquids.
- Never cover the lamp with any object including cloth or paper as this is a fire hazard.
- Do not handle the bulb immediately after the light is turned off as it will be hot.
- This portable lamp has a polarized plug (one blade is wider than the other) as a safety feature to reduce the risk of electric shock. This plug will fit into a polarized outlet only one way. If the plug does not fit fully into the outlet, reverse the plug. If it still does not fit, contact a qualified electrician. Never use with an extension cord unless plug can be fully inserted. Do not alter the plug.
PREPARATION
- Before beginning assembly, installation or operation of product, make sure all parts are present. Compare parts with package contents list and diagram on the previous page. If any part is missing or damaged, do not attempt to assemble, install or operate the product. Contact customer service for replacement parts.
ASSEMBLY
SHADE ASSEMBLY
- Assembling the shade
• Place the shade panel (H3) and top ring (H4) and bottom ring (H5) from the box.
• Attach the top ring (H4) and the bottom ring (H5) to clips on the shade panel (H3) securely into the clips.
• Attach the shade panel (H3) together by velcro.
• Repeat this step for the second shade.
NOTE: Push and pull the shade panel (H3) to be tight before attaching it together by velcro.

ASSEMBLY (continued)
LAMP ASSEMBLY
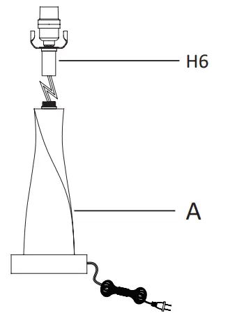
- Assembling the socket assembly
• Properly fold the wire as per the method as shown in the below diagram, and insert the folded wire into tube of the socket assembly (H6).
• Tighten the socket assembly (H6) onto the fixture body (A).
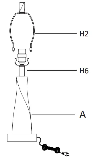
- Assembling the harp
• Insert the harp (H2) prongs into the saddle of the socket assembly (H6) and slide the retaining covers over joints to secure the harp.
- Installing the bulb and the shade
• Install the light bulb (H7) into the socket. Use one MAX 10W medium base (E26) self-ballasted LED bulb (10 W medium base (E26) self-ballasted LED bulb included).
• Unscrew the finial (H1) from the harp (H2).
• Place the shade assembly onto the harp (H2) and secure with the finial (H1).
NOTE: You can also use one MAX 100W medium base (E26) type “A” bulb. Do not exceed the recommended wattage.
- Assembling the second lamp
• Repeat steps 1 – 3 for the second lamp.
- Using the table lamp
• Plug into the wall outlet. You can touch the metal base of this lamp, it will operate :
• ON
• LOW LIGHT
• MEDIUM LIGHT
• HIGH LIGHT
• OFF
NOTE: The touch switch only works with the metal portion, touch anywhere not metal is useless. Please control this lamp through touching the bottom metal base as the below diagram.
- Using the USB port
• On the one side of the base, there is an AC outlet for you to connect any electronic or electrical device of your choice.
• On the other side of the base, there is a built in Dual USB (type A port and one type C port) for you to connect a charging cable (not included) (powers phones, tablets & more).
• The built-in USB port type A and type C rating: 5Vdc, 2.1A.
CLEANING
- Do not use any cleaners with chemicals, solvents, or harsh abrasives. Use only a dry, soft cloth to dust or wipe carefully.
- To clean the fixture, pull the plug from the wall outlet. Use a dry or slightly dampened, clean cloth to wipe the exterior surface of the fixture.
TROUBLESHOOTING
- The light does not come on at all:
a) Check whether the bulb was burned out.
b) Ensure the power supply is turned on.
c) Ensure the cord is plugged into an outlet.
d) Ensure the circuit breaker is set in the “ON” position. - Fuse blows or circuit trips when light is turned on.
a) Check for crossed wires, ensure wiring is correct.
















