EH15001 Industrial Fan Heaters BTU/HR
Instruction Manual
Thank you for purchasing a Sealey product. Manufactured to a high standard, this product will, if used according to these instructions, and properly maintained, give you years of trouble-free performance.
IMPORTANT: PLEASE READ THESE INSTRUCTIONS CAREFULLY. NOTE THE SAFE OPERATIONAL REQUIREMENTS, WARNINGS & CAUTIONS. USE THE PRODUCT CORRECTLY AND WITH CARE FOR THE PURPOSE FOR WHICH IT IS INTENDED. FAILURE TO DO SO MAY CAUSE DAMAGE AND/OR PERSONAL INJURY AND WILL INVALIDATE THE WARRANTY. KEEP THESE INSTRUCTIONS SAFE FOR FUTURE USE.
![]()
This product is only suitable for well insulated areas or occasional use.
SAFETY
1.1. ELECTRICAL SAFETY
❑ WARNING! It is the responsibility of the owner and the operator to read, understand and comply with the following: You must check all electrical products, before use, to ensure that they are safe. You must inspect power cables, plugs, sockets, and any other connectors for wear or damage.
You must ensure that the risk of electric shock is minimized by the installation of appropriate safety devices. A Residual Current Circuit Breaker (RCCB) should be incorporated into the main distribution board. You must also read and understand the following instructions concerning electrical safety.
✓ Ensure that cables are always protected against short circuits and overload.
✓ Regularly inspect power supply cables and plugs for wear or damage and check all connections to ensure that none are loose.
✓ Ensure that the voltage marked on the appliance matches the power supply to be used and that the plug is fitted with the correct fuse – see fuse rating at right.
x DO NOT use worn or damaged cables, plugs, or connectors. Have any faulty items been repaired or replaced immediately by a competent electrician?
✓ It is recommended that this device is wired directly to a fused isolator switch. If, however, a plug is fitted, the following applies:
✓ Fit a new plug according to the following instructions (the UK only).
a) Connect the GREEN/YELLOW earth wire to the earth terminal ‘E’.
b) Connect the BROWN live wire to the live terminal ‘L’.
c) Connect the BLUE neutral wire to the neutral terminal ‘N’.
d) After wiring, check that there are no bare wires, that all wires have been correctly connected, and that the cable restraint is tight.
1.2. GENERAL SAFETY
✓ Check that the dehumidifier is in sound condition and in good working order. Take immediate action to repair or replace damaged parts.
✓ Use recommended parts only. Unauthorized parts may be dangerous and will invalidate the warranty.
x DO NOT stand or place any object less than 10cm from the front or rear of the unit.
x DO NOT obstruct the air intakes or outlets of the dehumidifier.
x DO NOT place any object into the outlets – the unit has a fan running at high speed, contact with this will cause injury.
x DO NOT operate the dehumidifier when you are tired or under the influence of alcohol, drugs or intoxicating medication.
x DO NOT switch the dehumidifier off by disconnecting it from the mains. ALWAYS switch to the -OFF” position first.
x DO NOT remove the float lever from the water collection tank.
x DO NOT connect or disconnect the plug from the mains with wet hands.
✓ Always discard the water from the collection tank, DO NOT use it for any other purpose.
✓ Place the dehumidifier on a level and stable surface.
x DO NOT use the dehumidifier at ambient temperatures below 5°C.
x DO NOT use the dehumidifier outside. x DO NOT use means to accelerate the defrosting process or to clean, other than those recommended by the manufacturer.
✓ The appliance shall be stored in a room without continuously operating ignition sources (for example open flames, an operating gas appliance, or an operating electric heater. • DO NOT pierce or burn.
✓ Be aware that refrigerants may not contain an odor.
✓ When using continuous draining, make sure that the drain hose is positioned correctly.
✓ Ensure that heating appliances are not exposed to the flow of air from the dehumidifier.
✓ Before attempting to move the dehumidifier, empty the contents of the collection tank.
✓ Switch off and disconnect it from the mains before attempting any cleaning or other maintenance work.
✓ Ensure that the dehumidifier is correctly turned off when not in use, and stored in a safe, dry area, out of reach of children. This appliance can be used by children aged 8 years and above and persons with reduced physical, sensory or mental capabilities or lack of experience or knowledge if they have been given supervision or instruction concerning the use of the appliance in a safe way and understand the hazards involved. Children shall not play with the appliance. Cleaning and user maintenance shall not be made by children without supervision.
❑ WARNING: If the power cord is damaged, it must be replaced by a professionally trained person.
NOTE: This appliance can be used by children aged 8 years and above and persons with reduced physical, sensory or mental capabilities or lack of experience and knowledge if they have been given supervision or instruction concerning the use of the appliance in a safe way and understand the hazards involved. Children shall not play with the appliance. Cleaning and user maintenance shall not be made by children without supervision.
INTRODUCTION
A totally dry heat, no condensation, no gas, no fumes, and no smell. A single infrared bulb allows the heater’s maximum temperature to be reached quickly with a Helen coating to reduce glare. Highly polished aluminum reflector for maximum heat efficiency. Controlled by push-on/off switch or via remote control (batteries not included). Ideal for industrial or domestic applications. Outdoor use only (IP55). Mounting brackets and fixings included.
SPECIFICATION
Model No:……………………………. EH5001………………………..EH9001………………………….EH15001
IP Class:……………………………….IPX4…………………………………IPX4………………………………….IPX4
Max. Power:……………………..5000W………………………………9000W…………………………………15000W
Supply:………………………..415V-16A………………………..415V-16A……………………………415V-32A
Heat Settings:………………..2500/5000W…………………….4500/9000W……………….5000/10000/15000W
Btu/hr…………………………….17,000……………………….31,000…………………………51,000
Self Resetting-
Thermostat:……………….0 – 40ºC…………………….0 – 40ºC………………………….0 – 40ºC
Size (mm):……………..315x330x400………………….350x405x460………………….495x520x860
ASSEMBLY (EH15001 ONLY)
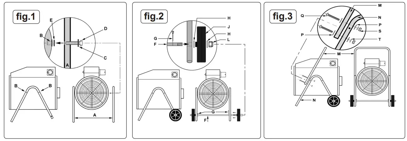
ASSEMBLY OF THE LEGS. (fig.1)
- On either side of the heater body there are two threaded inserts (B) for mounting the ‘V’ shaped leg frames (A). Note that the axle hole at the shorter end of the ‘V’ frames should be orientated towards the back of the heater.
- Take two M8 x 40mm bolts (D) and slide a plain washer (C) onto each one. Insert a bolt through each of the mounting holes on the leg frame and slide a split washer (E) over each protruding bolt. Align the bolts with the two threaded inserts (B) on the heater body and screw them down securely.
- Mount the other ‘V’ frame to the other side of the heater body in the same way.
ASSEMBLY OF THE WHEELS. (fig.2)
- Take the axle rod (F) and insert it through the holes in the ‘V’ frames so that the threaded rod ends protrude equally either side. Retain the axle rod in this position by inserting a split pin (G) through the holes situated just on the inside of each leg frame.
- Slide a plain washer (H) over each end of the axle rod, followed by a wheel (J) followed by anther plain washer (H).
- Screw a nyloc nut (L) onto each end of the axle by hand until it begins to bite. Hold one nut steady with a 19mm spanner and progressively tighten each nut until it bottoms out on the thread.
ASSEMBLY OF THE HANDLE. (fig.3)
- Slide a plain washer over each of the four M5 x 50mm bolts supplied.
- Lay the ‘U’ shaped handle frame onto the front face of the leg frames and align the two holes at each end of the handle frame with the two holes in each leg frame. Insert two bolts at each joint as indicated in fig.3.
- Whilst continuing to support the handle frame slide a plain washer (P) followed by a split washer (T) onto the end of each protruding bolt and retain them with a nut (S). Tighten all four nuts with an 8mm spanner.

4.4. CONNECTING EH15001 TO MAINS SUPPLY
- The EH15001 heater is supplied with a protected 5 pin connector mounted on the side of the control housing. In order to connect to the mains it will be necessary to have the extension cable shown in fig.4 made up by a qualified electrician. (This connector is not supplied with the machine.) The cable should be no shorter than 1.8mtr and no longer than 3.0mtr.
- Before connecting the EH15001 to the mains ensure that the selector switch is set to OFF and the thermostat is set at minimum.
- Hold open the protective cover on the socket connector on the extension lead as shown above and present it to the heater connector in the correct orientation so that the spigot on the heater connector passes into the keyway on the socket connector. Push the socket connector fully home.
- Connect the other end of the extension cable to the mains supply.

EH15001 THERMOSTATIC PROTECTION.
- The EH15001 has a thermal cut out to prevent the unit from overheating for any reason, especially if the air input is restricted. If the temperature of the front grille reaches 45ºC a thermal cutout will operate, turning off the heating elements. When the fan has cooled the unit to 40ºC, normal thermostatic operation will resume.
- AUTO COOLING. It is recommended that the thermostat should be set to the minimum to cool the unit prior to switching off. If the unit is switched off when operating at full temperature, and the front grille has reached 45ºC, the time delay thermostat will keep the fan running to cool down the unit. When the front grille has cooled to 40ºC the fan will stop running.
NOTE: Auto cooling will only function if the unit is plugged into the mains and the mains is ON.
OPERATION
DO NOT use an extension cable.
5.1. PLUG the unit into a plug socket, and make sure the power supply is the same as rated.
5.2. PRESS the power button on the right side of the heater.
5.3. TURN ON the heater by remote control, or off the heater.
5.4. RED POWER LEVEL BUTTON, setting the power level.
LED light on the front of the heater indicates the power level. Red -heater in standby, Green – 50%, Blue – 100%.
5.5. PUSH BUTTON: on the right of the heater, is for manual operation without the remote control.
5.6. REMOTE CONTROL
| Remote Control Function | ||
| Button | Function (Heater On) | Function (Heater Off) |
| 0 | Turns heater on or off | Red LED illuminates |
| I | Power setting | Turns the heater on to Level 1 (50%*power) Green LED illuminates |
| 11 | Power setting | Turns the heater on to Level 2 (100gpower) Blue LED illuminates |
NOTE: It may be possible to control several heaters with one remote.
5.7. INSERTING BATTERIES (NOT INCLUDED)
- Insert 2 AAA/ Alkaline type batteries into your remote control.
- Turn to the backside of your remote control and pull out the battery cover. Insert the batteries in accordance with the instructions and polarity of the batteries.
- Push the battery cover into place after changing the batteries.

MAINTENANCE
6.1. Regular and careful cleaning helps your infrared heater operate efficiently for many trouble-free years. To clean your heater follow the steps below. Unplug the heater from the mains for your safety before cleaning your appliance.
6.1.1. Make sure the heater is cool before continuing.
6.1.2. To keep the heater clean, the outer shell may be cleaned with a soft, damp cloth. You may use a mild detergent if necessary. After cleaning, dry the unit with a soft cloth.
‰ WARNING! DO NOT let liquids enter the heater.
DO NOT use alcohol, gasoline, abrasive powders, furniture polish, or rough brushes to clean the heater. This may cause damage or deterioration to the surface of the heater.
DO NOT immerse the heater in water.
6.1.3. Wait until the heater is completely dry before use.
STORAGE
6.2.1. Store the heater in a cool, dry location when not in use to prevent dust and dirt build-up. Use packaging cartons to store.
TROUBLESHOOTING
- If the heater will not turn on. Check the cable is plugged into an electrical outlet, if not, plugin.
- Check if the electricity to the building is working.
- The bulb is lit, but no heat: The bulb is damaged. Arrange for a replacement bulb with your Sealey stockist.
ENVIRONMENT PROTECTION
Recycle unwanted materials instead of disposing of them as waste. All tools, accessories, and packaging should be sorted, taken to a recycling center, and disposed of in a manner that is compatible with the environment. When the product becomes completely unserviceable and requires disposal, drain any fluids (if applicable) into approved containers and dispose of the product and fluids according to local regulations.
WEEE REGULATIONS
Dispose of this product at the end of its working life in compliance with the EU Directive on Waste Electrical and Electronic Equipment (WEEE). When the product is no longer required, it must be disposed of in an environmentally protective way. Contact your local solid waste authority for recycling information.
BATTERY REMOVAL: REMOTE CONTROL
Under the Waste Batteries and Accumulators Regulations 2009, Jack Sealey Ltd are required to inform potential purchasers of products containing batteries (as defined within these regulations), that they are registered with Valpak’s registered compliance scheme. Jack Sealey Ltd Batteries Producer Registration Number (BPRN) is BPRN00705.
Note: It is our policy to continually improve products and as such we reserve the right to alter data, specifications, and component parts without prior notice. Please note that other versions of this product are available. If you require documentation for alternative versions, please email or call our technical team at [email protected] or 01284 757505.
Important: No Liability is accepted for incorrect use of this product.
Warranty: The guarantee is 12 months from the purchase date, proof of which is required for any claim.
Sealey Group, Kempson Way, Suffolk Business Park, Bury St Edmunds, Suffolk. IP32 7AR
01284 757500
01284 703534
[email protected]
www.sealey.co.uk
Contact details: Sealey Group, Kempson Way, Suffolk Business Park, Bury St Edmunds, Suffolk, IP32 7AR. www.sealey.co.uk




















