SEALEY EH30001 Industrial Fan Heater 30kW 415V 3ph

Thank you for purchasing a Sealey product. Manufactured to a high standard, this product will, if used according to these instructions, and properly maintained, give you years of trouble free performance.
IMPORTANT: PLEASE READ THESE INSTRUCTIONS CAREFULLY. NOTE THE SAFE OPERATIONAL REQUIREMENTS, WARNINGS & CAUTIONS. USE THE PRODUCT CORRECTLY AND WITH CARE FOR THE PURPOSE FOR WHICH IT IS INTENDED. FAILURE TO DO SO MAY CAUSE DAMAGE AND/OR PERSONAL INJURY AND WILL INVALIDATE THE WARRANTY. KEEP THESE INSTRUCTIONS SAFE FOR FUTURE USE.
This product is only suitable for well insulated areas or occasional use.
SAFETY
ELECTRICAL SAFETY
WARNING! ELECTRICAL INSTALLATION OF THE HEATER TO A 3-PHASE 415VOLT SUPPLY MUST ONLY BE CARRIED OUT BY A QUALIFIED ELECTRICIAN.
Make sure the power supply cable is correctly connected to the earth. It is the user’s responsibility to read, understand and comply with the following:
You must check all electrical equipment and appliances to ensure they are safe before using. You must inspect power supply leads, plugs and all electrical connections for wear and damage. You must ensure the risk of electric shock is minimised by the installation of appropriate safety devices. An RCCB (Residual Current Circuit Breaker) should be incorporated in the main distribution board. You must also read and understand the following instructions concerning electrical safety.
- The Electricity At Work Act 1989 requires all portable electrical appliances, if used on business premises, to be tested by a qualified electrician, using a Portable Appliance Tester (PAT), at least once a year.
- The Health & Safety at Work Act 1974 makes owners of electrical appliances responsible for the safe condition of the appliance and the safety of the appliance operator. If in any doubt about electrical safety, contact a qualified electrician.
- Ensure insulation on all cables and the product itself is safe before connecting to mains power supply.
- Ensure that cables are always protected against short circuit and overload.
- Regularly inspect power supply, leads, plugs and all electrical connections for wear and damage, especially power connections, to ensure that none are loose.
- Important: Ensure the voltage marked on the product is the same as the electrical power supply to be used. A 3 phase plug must be used.
- DO NOT pull the powered appliance by the power cable.
- DO NOT pull power plugs from sockets by the power cable.
- DO NOT use worn or damage leads, plugs or connections. Replace or have repaired Immediately by a qualified electrician.
- This product must be fitted with a 3-phase plug according to the diagram, and will require a minimum of 63A per phase of electrical supply. You must contact a qualified electrician to ensure an appropriately fused supply is available.
Connect GREEN/YELLOW wire to earth (E) terminal .
Connect the live wires to live 1, 2 and 3.
When completed, check that there are no bare wires, that all wires have been connected correctly, that the cable external insulation extends beyond the cable restraint and that the restraint is tight.
GENERAL SAFETY
MAINTENANCE PRECAUTIONS
- WARNING! Disconnect the heater from the mains power supply, before servicing or performing any maintenance.
Servicing or maintenance must only be carried out by an authorised service agent. - Check that the heater is in sound condition and good working order. Take immediate action to repair or replace damaged parts.
- Use recommended parts only. Unapproved parts may be dangerous and will invalidate the warranty.
- DO NOT attempt to repair a damaged heater, contact an authorised service agent.
POSITIONING OF HEATER
WARNING! DO NOT use the heater near flammable material, liquids, solids, gases or compressed gas cylinders etc.
- DO NOT place the heater close to a bath, wash basin, shower, swimming pool or any other water-filled area or wet surface.
- DO NOT place the heater up against any surface such as a wall, door or furniture etc.
- DO NOT place the heater immediately below any electrical outlet.
- Position the heater at least a minimum of 0.5mtr at the rear and sides, and 2mtr at the front, from any walls or objects.
OPERATIONAL PRECAUTIONS
- The heater must only be used by people who have read these instructions and have been trained in its use.
- DO NOT obstruct the air inlet and outlet sections of the heater.
- DO NOT cover the heater.
- DO NOT touch the heater casing or grille when first switched off, as these will be very hot and will take time to cool.
- DO NOT get the heater wet or use in areas of high condensation.
- DO NOT allow the power lead to touch hot surfaces.
- DO NOT connect the heater to a timer device or other equipment than can automatically switch the heater on or off.
If an extension cable is required it must be of the same cross section as the heater cable. It must be as short as possible and fully unwound.
- DO NOT connect other appliances to the same mains socket as the heater.
- DO NOT operate the heater when you are tired or under the influence of alcohol, drugs or intoxicating medication.
- DO NOT stand on the heater.
- DO NOT use the heater with wet hands or when there is water on the power cord.
- Ensure that the heater is correctly turned off when not in use and store in a safe, dry, childproof location.
- DO NOT use the heater for anything other than its intended purpose. It is designed to provide heat in enclosed areas larger than 4m³, such as workshops and other industrial areas. It is not suitable for drying clothes or laundry.
NOTE: Children of less than 3 years should be kept away unless supervised continuously.
Children aged from 3 years and less than 8 years shall only switch on/off the appliance provided that it has been placed or installed in its intended normal operating position and they have been given supervision or instruction concerning use of the appliance in a safe way and understand
the hazards involved. Children aged from 3 years and less than 8 years shall not plug in, regulate and clean the appliance or perform user maintenance.
CAUTION: Some parts of this product can become very hot and cause burns. Particular attention has to be given where children and vulnerable people are present.
NOTE: This appliance can be used by children aged from 8 years and above and persons with reduced physical, sensory or mental capabilities or lack of experience and knowledge if they have been given supervision or instruction concerning use of the appliance in a safe way and understand the hazards involved. Children shall not play with the appliance. Cleaning and user maintenance shall not be made by children without supervision.
INTRODUCTION
Electric fan heater for industrial applications. Features two heat settings and adjustable thermostat control with fan only option. Auto cooling system to prevent unit from overheating during use. A totally dry heat with no condensation, no gas, no fumes and no smell. Ideal for workshops and garages. Supply: 415V/3ph – 63A. Supplied with 3-phase chassis mounted 5-pin connector (extension cable required).
SPECIFICATION
- Model No: …………………………………………………….. EH30001
- Power: ……………………………………………………15000/30000W
- Output ……………………………………………………..102,500Btu/hr
- Supply: …………………………………………………… 415V/3ph-63A
- Heated area: ……………………………………………………….600m3
IMPORTANT!
This unit is designed to raise the ambient temperature of an entire room, the temperature of the air coming out of the front of the heater will be warmer than the general temperature of the room, but there may not be a significant increase owing to the large volume of air passing over the element. For the same reason, the element is hot during operation, but does not glow. The room temperature depends on room size, insulation and the ambient temperature, which will increase as the room gets warmer.
ASSEMBLY
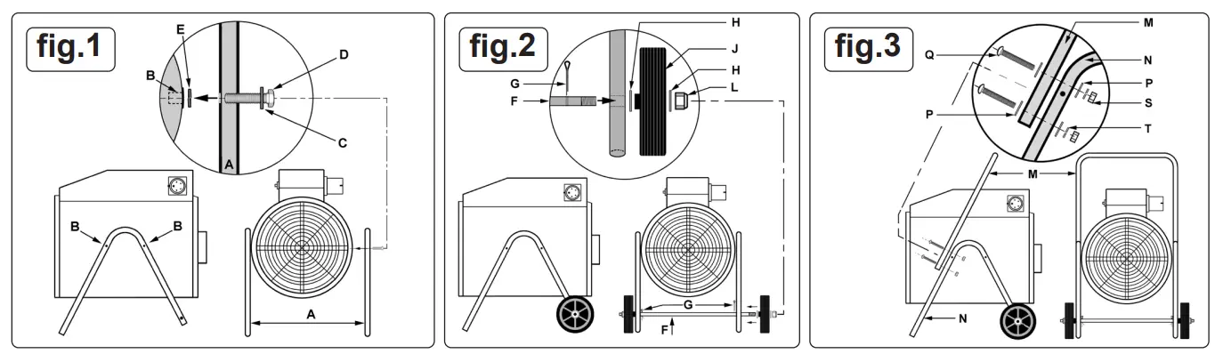
ASSEMBLY OF THE LEGS. (Ref. fig.1)
- On either side of the heater body there are two threaded inserts (B) for mounting the ‘V’ shaped leg frames (A). Note that the axle hole at the shorter end of the ‘V’ frames should be orientated towards the back of the heater.
- Take two M8 x 40mm bolts (D) and slide a plain washer (C) onto each one. Insert a bolt through each of the mounting holes on the leg frame and slide a split washer (E) over each protruding bolt. Align the bolts with the two threaded inserts (B) on the heater body and screw them down securely.
- Mount the other ‘V’ frame to the other side of the heater body in the same way.
ASSEMBLY OF THE WHEELS. (Ref. fig.2)
- Take the axle rod (F) and insert it through the holes in the ‘V’ frames so that the threaded rod ends protrude equally either side. Retain the axle rod in this position by inserting split pins (G) through the holes situated just on the inside of each leg frame.
- Slide a plain washer (H) over each end of the axle rod, followed by a wheel (J) followed by anther plain washer (H).
- Screw a nyloc nut (L) onto each end of the axle by hand until it begins to bite. Hold one nut steady with a 19mm spanner and progressively tighten each nut until it bottoms out on the thread.
ASSEMBLY OF THE HANDLE. (Ref. fig.3)
- Slide a plain washer over each of the four M5 x 50mm bolts supplied.
- Lay the ‘U’ shaped handle frame onto the front face of the leg frames and align the two holes at each end of the handle frame with the two holes in each leg frame. Insert two bolts at each joint as indicated in fig.3.
- Whilst continuing to support the handle frame slide a plain washer (P) followed by a split washer (T) onto the end of each protruding bolt and retain them with a nut (S). Tighten all four nuts with an 8mm spanner.
CONNECTING TO MAINS SUPPLY
- The EH30001 heater is supplied with a protected 5 pin connector mounted on the side of the control housing. In order to connect to the mains it will be necessary to have the extension cable shown in fig.4 made up by a qualified electrician (this cable is not supplied). The cable should be no shorter than 1.8mtr and no longer than 3.0mtr. The minimum size of cable to be used is 6mm².
- Before connecting to the mains supply ensure that the selector switch is set to OFF and the thermostat is set at minimum.
- Hold open the protective cover on the socket connector on the extension lead as shown in fig.4 and present it to the heater connector in the correct orientation so that the spigot on the heater connector passes into the keyway on the socket connector. Push the socket connector fully home.
- Connect the other end of the extension cable to the mains supply.
THERMOSTATIC PROTECTION
- The EH30001 has a thermal cut out to prevent the unit from overheating for any reason, especially if the air input is restricted. If the temperature of the front grille reaches 45ºC a thermal cutout will operate, turning off the heating elements. When the fan has cooled the unit to 40ºC, normal thermostatic operation will resume.
- AUTO COOLING. It is recommended that the thermostat should be set to the minimum to cool the unit prior to switching off. If the unit is switched off when operating at full temperature, and the front grille has reached 45ºC, the time delay thermostat will keep the fan running to cool down the unit. When the front grille has cooled to 40ºC the fan will stop running.
- NOTE: Auto cooling will only function if the unit is plugged into the mains and the mains is switched ON.
OPERATION
Position the heater in an upright position on a firm surface and at a safe distance from any obstructions, flammable substances etc. Keep to a minimum of 0.5mtr clearance at the rear and sides, and 2mtr clearance at the front.
- Connect the heater to a suitable mains supply (see section 4.4).
- Referring to fig.5, set the thermostat dial to the maximum setting (fully clockwise).
- The heater will switch on when the power setting selector is set to one of the power settings.
NOTE: It will take up to three minutes for the heater to reach optimum temperature. - Once the room reaches the required temperature, turn the thermostat dial slowly counter-clockwise until the thermostat clicks, leave the dial in this position and the room temperature will be maintained at this setting. The heater will continue to operate until the power switch is turned to the OFF position.
- For fan only operation, turn the power/fan selector to the fan only setting and set the thermostat to its minimum setting.
- When not in use, disconnect the heater from the mains supply. Store it in a safe, dry, childproof location.

MAINTENANCE.
WARNING! Before attempting any maintenance, ensure that the unit is unplugged from the mains power supply and that it has cooled down. 6.1. Clean the heater with a soft dry cloth only. DO NOT use abrasives or solvents.
- Periodically check the heater grille to ensure that it is not blocked. No other maintenance is necessary. If a problem with the heater is experienced, contact your local authorised service agent for repair. If the power lead or plug is damaged, contact a qualified electrician. DO NOT dismantle or tamper with the heater, as this may be dangerous and will invalidate the warranty.
NOTE: It may take up to three minutes for the heater elements to reach optimum temperature. This is normal and not a fault.
WEEE REGULATIONS
Dispose of this product at the end of its working life in compliance with the EU Directive on Waste Electrical and Electronic Equipment (WEEE). When the product is no longer required, it must be disposed of in an environmentally protective way. Contact your local solid waste authority for recycling information.
ENVIRONMENT PROTECTION
Recycle unwanted materials instead of disposing of them as waste. All tools, accessories and packaging should be sorted, taken to a recycling centre and disposed of in a manner which is compatible with the environment. When the product becomes completely unserviceable and requires disposal, drain any fluids (if applicable) into approved containers and dispose of the product and fluids according to local regulations.
Note: It is our policy to continually improve products and as such we reserve the right to alter data, specifications and component parts without prior notice.
Important: No Liability is accepted for incorrect use of this product.
Warranty: Guarantee is 12 months from purchase date, proof of which is required for any claim.
Information requirements for electric local space heaters
| Model identifier(s): EH30001.V1 | |||||
| Item | Symbol | Value | Unit | Item | Unit |
| Heat output | Type of heat input, for electric storage local space heaters only (select one) | ||||
| Nominal heat output | Pnom | 30.0 | kW | Manual heat charge control, with integrated thermostat | Yes No |
| Minimum heat output (indicative)* * Enter figure or NA | Pmin | 15.0 | kW | Manual heat charge control with room and/or outdoor temperature feedback | Yes No |
| Maximum continuous heat output | Pmax,c | 30.0 | kW | Electronic heat charge control with room and/or outdoor temperature feedback | Yes No |
| Fan assisted heat output | Yes No | ||||
| Auxiliary electricity consumption | Type of heat output/room temperature control (select one) | ||||
| At nominal heat output | elmax | N/A | kW | Single stage heat output and no room temperature control | Yes No |
| At minimum heat output | elmin | N/A | kW | Two or more manual stages, no room temperature control | Yes No |
| In standby mode | elSB | N/A | kW | With mechanic thermostat room temperature control | Yes No |
| With electronic room temperature control | Yes No | ||||
| Electronic room temperature control plus day timer | Yes No | ||||
| Electronic room temperature control plus week timer | Yes No | ||||
| Other control options (multiple selections possible) | |||||
| Room temperature control, with presence detection | Yes No | ||||
| Room temperature control, with open window detection | Yes No | ||||
| With distance control option | Yes No | ||||
| With adaptive start control | Yes No | ||||
| With working time limitation | Yes No | ||||
| With black bulb sensor | Yes No | ||||
| Contact details: Sealey Group, Kempson Way, Suffolk Business Park, Bury St Edmunds, Suffolk, IP32 7AR. www.sealey.co.uk | |||||






















