VONYX MEG020 20W Record and Sirene

Thank purchasing this Vonyx megaphone, please read this instruction manual carefully before use to know how to operate it properly and effectively. If the device was damaged in transit, don’t use it and contact your dealer.
SAFETY INSTRUCTIONS
- Do not place in direct sunlight or in a high temperature environment for a long period of time.
- Avoid exposure to rain, water or heavy humidity.
- When cleaning the megaphone body only use a neutral detergent. Never use thinner or benzene.
- Never point the megaphone directly at persons or animals. To avoid damaging of the ears, ensure sufficient distance to other persons and ensure a reasonable volume adjustment!
- Keep the device away from children and unauthorized users.
- If not in use for a long period of time, remove the batteries and store them separately to prevent leaking batteries and damaging the circuits inside the megaphone.
- Damage caused by disregard of certain guidelines in this manual is not covered by the warranty and the dealer will not accept responsibility for any defect or problem.
- Unauthorized conversion and/or modification of the product is inadmissible because of safety and approval reasons (CE).
- Do not leave packaging material unattended. Plastic foils or bags etc. might become a dangerous toy for children!
Possible damage by leaking batteries Leaking batteries can cause permanent damage to the device. Take batteries out of the device if it is not going to be used for a longer period.

Electric products must not be put into household waste. Please bring them to a recycling centre. Ask your local authorities or your dealer about the way to proceed. The specifications are typical. The actual values can slightly change from one unit to the other. Specifications can be changed without prior notice.
| Do not attempt to make any repairs yourself. This would invalid your warranty. Do not make any changes to the unit. This would also invalid your warranty. The warranty is not applicable in case of accidents or damages caused by inappropriate use or disrespect of the warnings contained in this manual. Vonyx cannot be held responsible for personal injuries caused by a disrespect of the safety recommendations and warnings. This is also applicable to all damages in whatever form. |

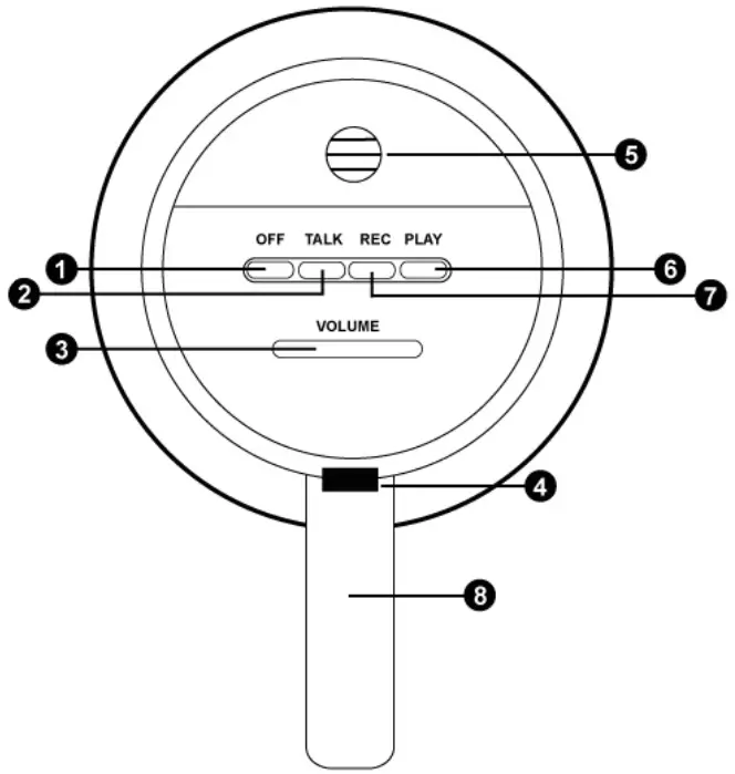
HOW TO USE

- ON / OFF Button
- Talk button
- Volume
- Battery compartment unlock: Press to unlock the battery compartment.
- Microphone, speak into the microphone.
- Play Music
- Record
- Handle: Handle for easy use. When not in use, the handle can be folded.
OPERATIONAL INSTRUCTIONS
- Installing the batteries: Press the battery unlock button to open the top cover. Put 4 pcs size D batteries properly (+/-) terminals must match) into the battery compartment and close the top cover and the latch.
- Position the horn opening towards the audience, and speak through the microphone. Bring the microphone close to your lips and speak normally.
- Adjust the volume level to optimum without causing howling. Please note that the closer the sound source is to the microphone the better the amplification is.
- Switch the alarm switch to the alarm position, it will generate a continuous alarm.
- If the megaphone is activated and the volume of the speaker is weak, the batteries might be empty. Follow step 1 to replace the batteries.

BASIC TROUBLESHOOTING
- If the megaphone does not work, remove the batteries to check if the +/- terminals match correctly.
- If the terminal match correctly, place back the batteries and press them down into the battery compartment firmly, make sure the batteries are in contact properly
TECHNICAL SPECIFICATION
| Power max. | 20Watt |
| Range | outdoor up to 500-700m |
| Battery | 4pcs Type D Battery |
| Battery lifetime | permanent use up to 5 hours |
| Dimensions | Ø160mm, Length 260mm |
| Weight (without battery) | 0,60Kg |




















