ADRIAN STEEL 9UPK4B 4 Pack 9 Inch Upright Kit

CATALOG NUMBER PRODUCT APPLICATION ACCESSORIES THAT WILL WORK WITH THIS PRODUCT CATALOG NUMBER DESCRIPTION SHELVING UNIT 46”H X 38”W 9UPK4B
This product is for PROFILE™ HD Utility and combo ladder racks. Works on all vehicle platforms. Utility style ladder racks are not recommended for medium or high roof vehicles!
- 2BARW 2-Crossbar Kit, 68”, White, Full Size Van
- 2BARCW 2-Crossbar Kit, 58”, White, Minivan
- 1BARW Single Crossbar Kit, 68”, White, Full Size Van
- 1BARCW Single Crossbar Kit, 58”, White, Minivan
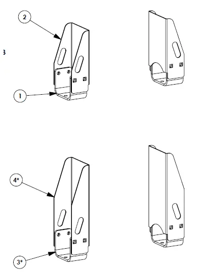
| NUMBER : 65319 INSTR. | PG: 1 | REV: B | ITEM NO. | PART NUMBER | DESCRIPTION | QTY. | |
| 1 | 65120-W | UTILITY,UPR MOUNT BRKT,W | 2 | ||||
| PART : 6UPK2B NUMBER 9UPK2B | |||||||
| 2 | 63848-B | UTILITY, UPRIGHT, 6″, B | 2 | ||||
| PART : UTILITY,6″ UPRIGHT KIT,2B DESC. UTILITY,9″ UPRIGHT KIT,2B | 3* | 65120-W | UTILITY,UPR MOUNT BRKT,W | 2 | |||
| 4* | 64060-B | UTILITY, UPRIGHT, 9″, B | 2 | ||||
| NOTE: THIS INSTRUCTION IS VALID FOR THE FOLLOWING UPRIGHT KITS: 6UPK2B (SHOWN) 6UPK4B 9UPK2B 2 9UPK4B ITEMS NOTED (#*) ARE PART OF 9UPK2B
| |||||||
BEST PRACTICES
GET TO KNOW THE VEHICLE – AT THE BEGINNING OF ANY INSTALLATION, CHECK THE LOCATION OF THE FUEL TANK, FUEL LINES, BRAKE LINES, HIGH VOLTAGE BATTERIES AND WIRING HARNESSES TO AVOID INJURY OR PROPERTY DAMAGE FROM TOOL CONTACT.
SEAL ALL EXTERIOR HOLES – ALL INSTALLATION HOLES SHOULD BE SEALED WITH BUTYL TAPE OR SILICON TO PREVENT WATER AND EXHAUST GASES FROM ENTERING THE VEHICLE.
CONTROL DRILL DEPTH – TO AVOID DAMAGE TO THE VEHICLE, USE A DRILL STOP OR CLEARED STEP BIT WHEN DRILLING INSTALLATION HOLES.
ALWAYS ADD PRIMER – WHEN ADDING INSTALLATION HOLES BE SURE TO USE A SELF-ETCHING PRIMER TO PREVENT CORROSION, FASTENER FAILURE AND INJURY.
MOUNTING POINTS MUST HAVE METAL-TO-METAL CONTACT – USE
PROVIDED MOUNTING SPACERS TO ACCOMMODATE FOR VEHICLE FEATURES, CARPET OR SUBFLOORS.
PROVIDE CLEARANCE FOR SPACERS – IF THE INSTALLATION VEHICLE CONTAINS A CARPET OR SUBFLOOR, USE A 1-3/16″ DIAMETER CARPET CUTTER P/N: 31183-0) AT ALL MOUNTING LOCATIONS TO OPEN UP ROOM FOR SPACERS.
CHECK SPACER ORIENTATION – BE SURE THAT THE INDENT IN THE SPACER COVERS THE PLUSNUT HEAD; THIS ENSURES THE MOST METAL-TO-METAL CONTACT AND REDUCES VIBRATION.
PLUSNUT INSTALLATION – A PLUSNUT GUN IS RECOMMENDED FOR PLUSNUT INSTALLATION FOR ITS PRODUCTION SPEED. HOWEVER, A PLUSNUT SETTING TOOL CAN ALSO BE USED (P/N: 22200-0).
THRU-BOLT CLEARANCE – WHEN USING A THRU-BOLT AT ANY MOUNTING LOCATION, BE SURE THAT YOUR HOLE HAS 1/16″ CLEARANCE.
FASTENERS USED
QUANTITIES ARE LISTED FOR 6UPK2B / 9UPK2B. QUANTITIES WILL VARY BASED ON NUMBER OF UPRIGHTS

BEGIN ASSEMBLY
- STEP 1 – ASSEMBLE UPRIGHTS

- STEP 2 – INSTALL UPRIGHTS

CONTINUE WITH INSTALLATION WITH THE MOUNTING KIT INSTRUCTIONS























