Kuzco Lighting Covina LP14554 LED Linear Pendant
START FROM HERE
- Make sure POWER is COMPLETELY OFF at the fuse box
- Have your fixture installed by a qualified licensed electrician
- Prepare everything in a clear area
- Wear gloves at all time during this installation
- Read instructions carefully before you start assembly
- Keep this installation sheet for future reference
Technical Support: 1-855-855-8926
Please Note:
- All Kuzco LED fixtures come with pre-wired LED module(s).
- Unless instructed to do so, please do not touch any part of the LED module(s) as any unnecessary contact with the module could cause permanent damage.
- For dimming, an ELV (Electronic Low Voltage) type of dimmer is required.
Instructions
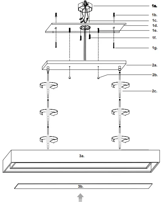
- Remove the fixture from its original packaging. Next, remove the mounting plate (1d) from within the canopy (2a) by un-threading the two nuts (2b). Center the mounting plate (1d) to the junction box (1a) and secure to the ceiling with screws (1g). Make sure to reinforce the wood behind or install plastic anchors (1b) to the ceiling. Now install the two screws (1f) provided to secure the mounting plate to the junction box (1a).
- Before you mount the canopy to the mounting plate select the desired length you wish the pendant to hang. To shorten or lengthen the pendant (3a) just remove or add conduit sections (2c) by threading clockwise for adding and counter clockwise for removing.
- You are now ready to mount the canopy. First connect all wires correctly black to black “L”, white to white “N” and the ground wire with provided marrets (1c) from the hardware package. Align the threaded studs (1e) with the holes on the surface of the canopy (2a). Next, push the canopy (2a) to the mounting plate (1d) and thread on the four nuts (2b)on to the threaded studs (1e). This will secure the canopy to the mounting plate.
- Once this is complete, place the diffuser (3b) into the fixture. Slide one side of the diffuser (3b) first, then push the other side to succesfully place inside. This will secure the diffuser to the canopy. You have now completed the installation of your fixture, enjoy

Customer Support
19054 28th Avenue Surrey, BC Canada V3Z 6M3
T: 604 538 7162 TF: 1-855 85 KUZCO F: 604 538 7196
W: kuzcolighting.com





















