atdtools ATD-7433A 1-Ton Heavy Duty Hydraulic Telescopic Transmission Jack
Features
- Extra-wide base lowers center of gravity and provides stability
- Rugged steel wheels and full swivel ball bearing casters
- Foot release pedal provides controlled lowering of load
- Saddle adjusts to fit most pan configurations
- Chrome-plated rams maximize it’s high reach
- Load control chains hold transmission in place
- ASME/PASE 2014 Certified
Specifications
- Capacity (Ton): 1
- Minimum Height: 35.24″
- Maximum Height: 71.65″
- Saddle Base: 10.24″ x 10.83″
- Expanded Saddle Area Max.: 14.17″ x 10.83″
- Size: 37.1″ x 31.1″
- Carton Dimensions: 37.4″ x 22.6″ x 7.9″
- Shipping Weight: 187 Ibs.
Save these instructions
For your safety, read, understand, and follow the information provided with and on this jack. The owner and operator of this equipment should have an understanding of this jack and safe operating procedures before attempting to use. The owner and operator should be aware of this jacks safe operating procedures before attempting to use. Instructions and safety information shall be conveyed in the operator’s native language before use of this jack is authorized. If any doubt exists as to the safe and proper use of this jack, remove from service immediately. Inspect before each use. Do not use if broken, bent, cracked or damaged parts are noted. Any jack that appears damaged in any way, or operates abnormally shall be removed from service immediately. If the jack has been or is suspected to have been subjected to a shock load (a load dropped suddenly, unexpectedly upon it), immediately discontinue use until jack has by a factory authorizzed service center. It is recommended that an annual inspection be done by quali been checke fied personnel. Labels and owner’s manuals are available from manufacturer.
PRODUCT DESCRIPTION
ATD Tools Hydraulic Transmission Jacks are designed to be used as an aid in the removal and installation of automotive and light truck transmissions, transfer cases and transaxles. They are intended for use under an overhead lift or in a garage pit. These jacks comply with applicable ASME/PASE 2014 Standards.
SPECIFICATIONS
- Model: ATD-7433A
- Capacity: 2000 lbs.
- Min. Height: 35.24”
- Max. Height: 71.65”
- Min. Saddle Area: 10.24” x 10.836”
- Max. Saddle Area: 14.17“ x 10.83”
Weight: 187 lbs.
CAUTION: READ CAREFULLY BEFORE UNPACKING PRODUCT.

ASSEMBLY
Refer to Figure 1:
- Three major parts should be included in package:
- (a) Hydraulic unit with pumping mechanism
- (b) saddle unit
- (c) 2 pieces of base half with bolts and washers
- Attach one of the base halves to the base of the hydraulic unit, then secure using allen head bolts and washers provided. Then apply the same procedure to the other base half. Use torque wrench to tighten to 30 ft.-lbs. torque. Do not overtighten.
- Attach the brackets to the reservoir, then attach one end of the support bars to base half and the other end to the bracket. Secure with bolts and nuts provided. Repeat for all other three support bars.
- Slide the position handle to the reservoir from top, then secure with bolts and nuts provided.
- Position the saddle unit above the ram piston, place the saddle socket onto the ram piston. Secure using the set screw.
WARNING
- Study, understand, and follow all printed materials provided with/on this product before use.
- Do not exceed rated capacity.
- Use only on hard, level surfaces capable of supporting rated capacity loads.
- Use of this jack is limited to the removal, installation and transportation of transmissions, transfer cases and transaxles. Do not use a transmission jack to tilt or support a vehicle.
- Ensure the center gravity of load is centered on the saddle.
- Do not exceed 10′ tilt angle of the saddle assembly in all directions.
- Adequately support the vehicle before starting repairs.
- Use only chains and slings provided.
- If loaded jack must be moved, make sure that the load is secured, stable and in the lowest position.
- This is lifting and lowering device only.
- Transfer load immediately to the appropriate support device for service or repair.
- No alterations shall be made to this product
- Failure to heed these markings may result in personal injury and/or property damage.
BEFORE USE
- Inspectjack before each use. Do not use if bent, broken or cracked components are noted. Ensure that casters move freely. Check for and tighten any loose assemblies.
- Verify that the product and the application are compatible.
- With the ram fully lowered, remove oil filler screw to bleed air in the reservoir.
- Ensure the oil level is just below the rim of the oil filler screw hole. Reinstall the oil filler screw
Raise Saddle:
- Pump foot pedal or press air pump pedal until saddle reaches desired position.
- Follow the vehicle manufacturer’s recommended procedures for removing the load as outlined in vehicle service manual or repair guide.
- Secure load with provided chains.
- Ensure the load’s center of gravity is centered on the saddle and load is stable before moving jack.
Lower Saddle:
CAUTION! Be sure all tools and personnel are clear before lowering load. Slowly, gently apply downward pressure to the release valve pedal.
MAINTENANCE
Important: Use only good grade hydraulic jack oil. Avoid mixing different types of fluid and NEVER use brake fluid, turbine oil, transmission fluid, motor oil or glycerin. Improper fluid can cause premature failure of the jack and the potential for sudden and immediate loss of load. We recommend Mobil DTE 13M or equivalent.
Adding oil
- With saddle fully lowered, set jack in its upright, level position. Remove oil riller screw.
- Fill until oil is level with filler screw hole, reinstall oil filler screw.
Changing oil:
For best performance and longest life, replace the complete fluid supply at least once a year.
- With the saddle fully lowered, set jack in its upright, level position. Remove the oil filler screw.
- Lay the jack on its side and drain the fluid into a suitable container.
- Set jack in its level, upright posiion and fill with oil until just below the rim of the oil filler hole. Reinstall the oil filler screw.
Lubrication:
- A periodic coating of light lubricating oil to pivot points, axles and hinges will help to prevent rust and assure that wheels, casters and pump assemblies move freely.
- When used on a daily basis, air pump model should be internally lubricated before each use. Use only good quality air tool lubricant. If no inline oiler is used, pour a teaspoon of air tool oil into the inlet of the air supply inlet. Simply operate the jack using the air feature in order to fully distribute the oil.
Cleaning: Periodically check the ram for signs of rust or corrosion. Clean as needed and wipe with an oily cloth.
Note: Never use sandpaper or abrasive material on these surfaces!
Storage: When not in use, store the jack with saddle in lowest position and air supply disconnected.
TROUBLESHOOTING

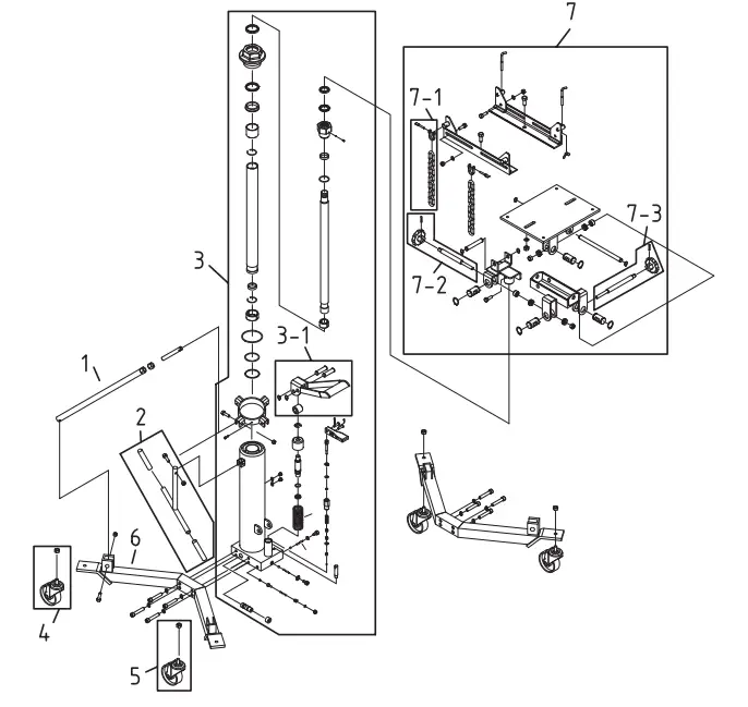
REPLACEMENT PARTS
Not all components of the jack are replacement items, but are illustrated as a convenient reference for a position in the assembly sequence. When ordering parts, give model number, part number and description. Call your distributor for current pricing.’

WARRANTY
For a period of one (1) year from your purchase date, AID lo0ls, Inc. will repair or replace (at its option) without charge, your ATD product if it was purchased new and the product has failed due to a defect in material or workmanship which you experienced during normal use of the product. This limited warranty is your exclusive remedy,
To access the benefits of this warranty, contact your supplier, or point of sale directly. You may be advised to returm the product under warranty, freight prepaid, to your supplier for warranty determination.
If this ATD product is altered, abused, misused, modified, or undergoes service by an unauthorized technician, your warranty will be void. We are not responsible for damage to ornamental designs you place on this ATD product and such ornamentation should not cover any warnings or instructions or they may void the warranty. This warranty does not cover scratches, superficial dents, and other abrasions to the paint finish that occur under normal use. It also does not cover normal wear items such as but not limited to brushes, batteries, dril bits, drill chucks, pads or blades.
Subject to the law in your state:
- Your sole and exclusive remedy is repair or replacement of the defective product as described above.
- ATD is not liable for any incidental damages, including but not limited to, lost profits and unforeseeable consequences.
- The repair and replacement of this product under the express limited warranty described above is your exclusive remedy and is provided in lieu of all other warranties, express or implied. All other warranties, including implied warranties and warranties of merchantability or fitness for a particular purpose are disclaimed and, if disclaimer is prohibited, these warranties are limited to one year from your date of purchase of this product.
Some states’ laws do not allow limited durations on certain implied warranties and some states’ laws do not allow limitations on incidental or consequential damages. You should consult the law in your state to determine how your rights may vary.





















