300TRQ 1000kg VERTICAL TRANSMISSION JACK WITH QUICK LIFT
Instruction Manual
300/600/1000g VERTICAL TRANSMISSION JACK WITH QUICK LIFT MODEL NO: 300TRQ .V2, 600TRQ .V2, 1000TRQ .V2
Thank you for purchasing a Sealey product. Manufactured to a high standard, this product will, if used according to these instructions, and properly maintained, give you years of trouble-free performance.
IMPORTANT: PLEASE READ THESE INSTRUCTIONS CAREFULLY. NOTE THE SAFE OPERATIONAL REQUIREMENTS, WARNINGS & CAUTIONS. USE THE PRODUCT CORRECTLY AND WITH CARE FOR THE PURPOSE FOR WHICH IT IS INTENDED. FAILURE TO DO SO MAY CAUSE DAMAGE AND/OR PERSONAL INJURY AND WILL INVALIDATE THE WARRANTY. KEEP THESE INSTRUCTIONS SAFE FOR FUTURE USE.
![]()
SAFETY
WARNING! Ensure all preliminary checks are carefully carried out before use of the jack. Immediately repair or replace damaged parts (use an authorized service agent). Ensure use of genuine parts only. Non-authorized parts may be dangerous and will invalidate the warranty.
WARNING! Use jack on the level and solid ground, preferably concrete. Ensure the floor over which the jack will be transported is swept clean.
DANGER! DO NOT use on tarmacadam, or any other soft surface as jack may sink or topple. Serious or fatal injury may result.
DANGER! If jack tips or leans STOP WHAT YOU ARE DOING. MOVE QUICKLY TO A SAFE DISTANCE. DO NOT TRY TO HOLD OR STEADY THE JACK. Serious or fatal injury may result.
Use jack in a suitable work area, keep the area clean and tidy and free from unrelated materials. Ensure there is adequate lighting.
Before use ensure the gearbox weight and size do not exceed the capacity of the jack.
Ensure the vehicle is raised and stabilized at the correct height before attempting to move the jack under the vehicle.
Keep all unauthorized persons away from the jack during lifting and lowering and when in transit.
Maintain correct balance and footing. Ensure the floor is not slippery and wear non-slip shoes.
Remove ill-fitting clothing. Remove ties, watches, rings, and other loose jewelry, contain and/or tie back long hair.
WARNING! Ensure load is placed level and centrally on jack saddle and is fixed in place before attempting to lift, lower or transport.
Ensure the jack saddle is fully lowered and is clean, dry and oil-free before attempting to move the jack with or without a load.
Diligence is required in ensuring that you continually monitor any operation until completed.
WARNING! DO NOT operate the jack if any parts are damaged or missing.
DO NOT exceed the rated capacity of the jack.
DO NOT allow untrained persons to operate the jack.
DO NOT place any part of your body within or under the jack during use.
DO NOT raise or lower the vehicle lifting platform whilst the transmission jack is being used.
DO NOT transport the jack, with or without a load, with the saddle in the raised position.
DO NOT get jack wet or use in damp or wet locations or areas where there is condensation.
DO NOT operate the jack when you are tired or under the influence of alcohol, drugs or intoxicating medication.
DO NOT lift or support vehicles with a jack and do not use the jack as a load sustaining device.
DO NOT move the jack without suitable restraint on the load.
DO NOT make any modifications to the jack, and DO NOT adjust, or tamper with, the safety valve.
DO NOT remove any labels from the jack.
DO NOT use brake fluid to top up the hydraulic unit. Use Sealey hydraulic jack oil only.
Only a qualified person should lubricate and maintain the jack.
Before storing in a safe area, ensure all parts are clean, and free of grease and oil (especially the saddle), and lower the saddle to the lowest position.
INTRODUCTION
These transmission jacks feature Quick Lift to reduce the time and effort needed to get a saddle to the gearbox. Single foot pedal operation keeps hands free during the lifting process. Spring-loaded dead man’s safety release control reduces the risk of inadvertent lowering. A two-way hydraulic unit ensures that the saddle lowers at a controlled speed at all times, even without load. The saddle is reversible allowing a jack pad to be fitted to support items other than transmissions. Castors and side handle make the units easily maneuverable. Hydraulic units are larger than the economy models for improved performance and durability. Can be fitted with optional Adjustable Gearbox Support – check specification in the table.
SPECIFICATION
MODEL: . . . . . . . . . . . . . . . . . . . . . . . . . . . . . . . . 300TRQ.V2 . . . . . . . . . . . . . . . 600TRQ.V2 . . . . . . . . . . . . 1000TRQ.V2
Rated capacity:. . . . . . . . . . . . . . . . . . . . . . . . . . . . . . . . 300kg . . . . . . . . . . . . . . . . . . . . . . . . . . . 600kg . . . . . . . . . . . . . . . . . . . . . . . . . .1000kg
Ram extensions:. . . . . . . . . . . . . . . . . . . . . . . . . . . . . . . . . . . 1 . . . . . . . . . . . . . . . . . . . . . . . . . . . . . . . 1 . . . . . . . . . . . . . . . . . . . . . . . . . . . . . . 1
Minimum saddle height: . . . . . . . . . . . . . . . . . . . . . . . 1125mm . . . . . . . . . . . . . . . . . . . . . . . . . 1125mm . . . . . . . . . . . . . . . . . . . . . . . . .1140mm
Maximum saddle height: . . . . . . . . . . . . . . . . . . . . . . 1950mm . . . . . . . . . . . . . . . . . . . . . . . . .1950mm . . . . . . . . . . . . . . . . . . . . . . . . 1960mm
Base size:. . . . . . . . . . . . . . . . . . . . . . . . . . . 515mm x 550mm . . . . . . . . . . . . . . . . . .520mm x 550mm . . . . . . . . . . . . . . . . . 520mm x 550mm
Fixed/Adjustable Saddle: . . . . . . . . . . . . . . . . . . . . . . . . Fixed . . . . . . . . . . . . . . . . . . . . . . . . . . . Fixed . . . . . . . . . . . . . . . . . . . . . . . . . . . Fixed
Pump Strokes to Maximum Height: . . . . . . . . . . . . . . . . . . . 20 . . . . . . . . . . . . . . . . . . . . . . . . . . . . . .30 . . . . . . . . . . . . . . . . . . . . . . . . . . . . . 42
Optional Accessories: Adjustable Saddle: . . . . . . . . . . . ADT3 . . . . . . . . . . . . . . . . . . . . . . . . . . . ADT3 . . . . . . . . . . . . . . . . . . . . . . . . . . . ADT5
ASSEMBLY
Unpack the product and check the contents. Should there be any damaged or missing parts contact your supplier immediately?
See attached Parts List
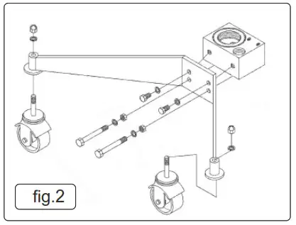
- Fix hydraulic unit to the 2 base legs with the 4 bolts and associated nuts and bolts (fig.2).
- Assemble the four wheels onto the base legs using the 4 nuts and washers (fig.2).
- Place the saddle on top of the hydraulic ram.

PRE-USE CHECKLIST
- IMPORTANT: Before EACH use, check jack is in sound working order. Use the following list to form a habitual pre-check procedure. Check unit for the following: Damage, distortion, leaning, worn or missing components.
THE FOLLOWING MUST ALSO BE CHECKED:
| 1 . . Saddle base 4 . . Stopper rings and cotter pins 7 . . Jack main frame | 2 . . Piston rod 5 . . All nuts and bolts 8 . . Foot pumps | 3 . . Cylinder/Hydraulic unit 6 . . All seals 9 . . Swivel castor wheels |
WARNING! DO NOT use jack if any suspect part is found, or if believed to have been subjected to an abnormal load or shock load. Immediately remove from service and contact an authorized service agent.
2. IMPORTANT: Before using the jack for the first time, purge the hydraulic circuit in order to eliminate any air, that may have accumulated in the system during transit, as follows:
- OPERATION
WARNING! Before use, ensure you have read, understood and apply Section 1 Safety Instructions.
WARNING! Ensure you prepare the vehicle correctly before attempting to use the Transmission Jack.
POSITIONING JACK BENEATH LOAD.
- Before use ensures the transmission weight and size does not exceed the capacity of the jack.
- Ensure the vehicle from which the gearbox is to be removed is correctly positioned, handbrake applied and raised to allow the transmission jack to be positioned correctly.
- Ensure there are no other persons around or under the vehicle.
- Ensure the saddle is in its lowest position and centrally positioned jack beneath vehicle transmission.
- Hold the handle to steady the jack and pump foot pedal (fi g.3.A) to raise the saddle.
- When the saddle is just beneath the transmission re-adjust alignment if necessary to centralize the saddle. Continue to pump the foot pedal (fi g.3.A) until the saddle locates on the transmission.
LOWERING THE LOAD.
WARNING! Ensure the load is central and stable on the jack saddle and is fixed in place before attempting to lift, lower, or transport. Turn the jack release valve (fig.3.B) to lower the saddle to the minimum height before attempting to transport load.
IMPORTANT: The unit is fitted with a safety device that permits the load to be lowered smoothly by automatically controlling the speed at a rate dependent upon the weight of the load.
TRANSPORTING THE LOAD.
WARNING! Ensure you have read, understood, and apply Section 1 Safety Instructions.
- Ensure the jack saddle is fully lowered and load is fixed in place before attempting to lift, or transport.
- Transport the load over level and solid ground, preferably concrete, and ensure the fl oor is swept clean beforehand.
- Be diligent in continually monitoring the load in transit. Keep all other persons at a safe distance.
▲ DANGER! DO NOT use on tarmacadam, or any soft surface as jack may sink or topple. Serious or fatal injury may result.
▲ DANGER! If jack tips or leans STOP WHAT YOUR ARE DOING. MOVE QUICKLY TO A SAFE DISTANCE. DO NOT TRY TO HOLD OR STEADY JACK.
Note: this jack may be used with appropriate adaptors in order to handle such components as rear axle units and transfer cases that are within the weight limitations of the jack.
RE-INSTALLING A GEARBOX.
Reposition beneath vehicle and raise the load up, reversing the procedures outlined above.

MAINTENANCE
- When the jack is not in use, the saddle must be in the lowest position to minimize ram and piston corrosion.
- Keep the jack clean and wipe off any oil or grease. Lubricate all moving parts with acid-free oil.
- Before each use, follow the pre-check list to ensure components are in good working order. If any suspect item is found remove jack from service and take necessary action to remedy the problem.
DO NOT use the jack if you believe it has been subjected to an abnormal load or shock load. If in doubt contact your local service agent. - Periodically check the pump piston and piston rod for signs of corrosion. Clean exposed areas with a clean oiled cloth.
IMPORTANT: All other maintenance and repair (including oil change) must only be undertaken by fully qualifi ed personnel. Contact your local authorised service agent. - To check and top-up the oil, remove oil plug. The oil level should be just below the oil plug hole – with the saddle in the lowest position.
WARNING! Only a good quality hydraulic jack oil, such as SEALEY HYDRAULIC JACK OIL should be used, DO NOT use brake fluid. DO NOT overfill as this will render the jack inoperative.
IMPORTANT: NO RESPONSIBILITY IS ACCEPTED FOR INCORRECT USE OF THE JACK.
Hydraulic products are only repaired by local service agents. We have service/repair agents in all parts of the UK. DO NOT RETURN JACKS TO US. Please telephone 01284 757500 to obtain address and ‘phone number of your local agent. If Jack is under guarantee please contact your Sealey stockist.
De-commissioning the Jack: Should the jack become completely unserviceable and require disposal, draw off the oil into an approved container and dispose of the jack and the oil according to local regulations.
TROUBLESHOOTING
IMPORTANT! Although the following may identify a problem, we recommend the problem be resolved by an authorized service agent.
| PROBLEM | CAUSE SOLUTION | SOLUTION |
| Jack will not lift. | No hydraulic oil, or defective suction valve, or delivery valve. The release valve is open. | Contact authorized service agent. Close release valve. |
| Jack will only lift halfway. | Hydraulic oil low, or excess hydraulic oil. | Contact authorized service agent. |
| The raised load will not hold. | Defective valves, or defective piston packing. | Contact authorized service agent. |
| Poor lifting. | Defective plunger packing. | Contact authorized service agent. |
WARNING! The warnings, cautions and instructions referred to in this manual cannot cover all possible conditions and situations that may occur. It must be understood that common sense and caution are factors that cannot be built into this product but must be applied by the operator.
ENVIRONMENT PROTECTION
Recycle unwanted materials instead of disposing of them as waste. All tools, accessories and packaging should be sorted, taken to a recycling center and disposed of in a manner that is compatible with the environment. When the product becomes completely unserviceable and requires disposal, drain any fluids (if applicable) into approved containers and dispose of the product and fluids according to local regulations.
Note: It is our policy to continually improve products and as such we reserve the right to alter data, specifications and component parts without prior notice. Please note that other versions of this product are available. If you require documentation for alternative versions, please email or call our technical team on [email protected] or 01284 757505.
Important: No Liability is accepted for incorrect use of this product.
Warranty: Guarantee is 12 months from purchase date, proof of which is required for any claim.
Sealey Group, Kempson Way, Suffolk Business Park, Bury St Edmunds, Suffolk. IP32 7AR
01284 757500
01284 703534
[email protected]
www.sealey.co.uk
© Jack Sealey Limited
Original Language Version
300TRQ.V2 600TRQ.V2 1000TRQ.V2 Issue 4 (3,H,F) 19/11/21

















