
OPERATING INSTRUCTIONS AND OWNER’S MANUAL
Model # M HVFRD1ONG
MHVFBF1ONG
READ INSTRUCTIONS CAREFULLY: YOUR SAFETY IS IMPORTANT TO YOU AND TO OTHERS Read and follow all instructions. Place instructions in a safe place for future reference. Do not allow anyone who has not read these instructions to assemble, light, adjust or operate the heater.
UNVENTED NATURAL GAS-FIRED ROOM HEATER 
INSTALLER: Leave this manual with the appliance.
CONSUMER: Retain this manual for future reference.
WARNING: If the information in this manual is not followed exactly, a fire or explosion may result causing property damage, personal injury, or loss of life. – Do not store or use gasoline or other flammable vapors and liquids in the vicinity of this or any other appliance. –
WHAT TO DO IF YOU SMELL GAS
- Do not try to light any appliance.
- Do not touch any electrical switch; do not use any phone in your building.
- Immediately call your gas supplier from a neighbor’s phone. Follow the gas supplier’s instructions.
- If you cannot reach your gas supplier, call the fire department. Installation and service must be performed by a qualified installer, service agency or gas supplier.
This is an unvented gas-fired heater. It uses air (oxygen) from the room in which it is installed. Provisions for adequate combustion and ventilation air must be provided. Refer to Fresh Air for Combustion and Ventilation section on page 4 of this manual.
This appliance may be installed in an aftermarket permanently manufactured (mobile) home, where not prohibited by local codes. This appliance is only for use with the type of gas indicated on the rating plate. This appliance is not convertible for use with any other gas.
WARNING: FIRE, EXPLOSION, AND ASPHYXIATION HAZARD Improper installation, adjustment, alteration, service or maintenance can cause injury or property damage. Refer to this manual for correct installation and operational procedures. For assistance or additional information consult a qualified installer, service agency, or gas supplier. Read and follow instructions and precautions in the User’s Information Manual provided with this heater.
DANGER
![]()
HOT GLASS WILL CAUSE BURNS.
DO NOT TOUCH GLASS UNTIL COOLED.
NEVER ALLOW CHILDREN TO TOUCH GLASS.
A barrier designed to reduce the risk of burns from the hot viewing glass is provided with this appliance and shall be installed for the protection of children and other at-risk individuals.
WARNING: Do not use a blower insert, heat exchanger insert or another accessory not approved for use with this heater.
WARNING: This appliance is equipped for Natural gas. Field conversion is not permitted.
WARNING: THIS PRODUCT CAN EXPOSE YOU TO CHEMICALS INCLUDING LEAD AND LEAD COMPOUNDS, WHICH ARE KNOWN TO THE STATE OF CALIFORNIA TO CAUSE CANCER AND BIRTH DEFECTS OR OTHER REPRODUCTIVE HARM. FOR MORE INFORMATION VISIT WWW.P65WARNINGS.CA.GOV
Due to high temperatures, the heater should be kept out of traffic and away from furniture and draperies. Do not place clothing or other flammable material on or near the appliance. Children and adults should be alerted to the hazard of high surface temperature and should stay away to avoid burns or clothing ignition. Young children should be carefully supervised when they are in the same room as the heater. A barrier designed to reduce the risk of burns from the hot viewing glass is provided with this appliance and shall be installed for the protection of children and other at-risk individuals. If the barrier becomes damaged, the barrier shall be replaced with the manufacturer’s barrier for this appliance. Any safety screen or guard removed for servicing an appliance must be replaced prior to operating the heater.
Installation and repair should be done by a qualified service person. The appliance should be inspected before use and at least annually by a professional service person. More frequent cleaning may be required due to excessive lint from carpeting, bedding material, etc. It is imperative that control compartments, burners, and circulating air passageways of the appliance be kept clean.
| SPECIFICATIONS | ||
| MODEL | MHVFRD1ONG / MHVFBF1ONG | |
| BTU (Available) | 7,000(Low)-10,000(High) | |
| Type of Gas | Natural Gas Only | |
| Ignition | Piezo | |
| Manifold Pressure | 4.5 Inches of Water | |
| Inlet Gas Pressure (Maximum) | 14 Inches of Water | |
| Inlet Gas Pressure (Minimum) | 7 Inches of Water | |
| Thermostatic Control | No | |
| Clearances: inches (mm) | ||
| Top | 36″ (91.4 cm) | |
| Sides | 10″ (25.4 cm) | |
| Floor (min. to top of carpet) | 3″ (76.2 cm) | |
| Fabric / flammable objects | 36″ (91.4 cm) | |
**Operating heater above elevations of 4,500 feet could cause pilot/ODS to shutdown heater.
**PRECAUTIONS:
- Either of the 10,000 BTU (2931 W) units (the MHVFRD1ONG or the MHVFBF1ONG) may be installed in a bedroom, but shall not be installed in a bathroom or any place where a strong wind would shut down the appliance.
- This heater needs outside ventilation air to run properly. The Oxygen Depletion Sensor (ODS) safety shutoff system shuts down the heater if not enough fresh air is available. See Fresh Air for Combustion and Ventilation, page 4.
- Keep all air openings in the heater clear, free of debris or any blockage. This will ensure that enough air for proper combustion enters the heater.
- If the heater shuts off, do not relight it until you provide fresh, outside air. If the heater keeps shutting off, it requires servicing.
- Turn off and let cool before servicing. Only a qualified service person should service and repair the heater.
- Do not run the heater:
• Where flammable liquids or vapors are used or stored
• During dusty conditions. - Before using furniture polish, wax, carpet cleaner, or similar products, turn the heater off. If heated the vapors from these products may create a white powder residue within the burner box or on adjacent walls or furniture.
- Do not use the heater if any part has been underwater. Immediately call a qualified service technician to inspect the room heater and to replace any part of the control system and any gas control which has been underwater.
- Operating a heater above elevations of 4,500 feet could cause the pilot/ODS to shut down the heater.
- Always run the heater with a control knob in a locked position. Never set the control knob between locked positions. Poor combustion and higher levels of carbon monoxide may result if the control knob is left between locked positions.
DANGER: Carbon monoxide poisoning may lead to death.
Carbon Monoxide Poisoning:
Early signs of carbon monoxide poisoning resemble the flu, with headaches, dizziness, or nausea. If you have these signs, the heater may not be working properly. Get fresh air at once! Has the heater been serviced? Some people are more affected by carbon monoxide than others. These include pregnant women, persons with heart or lung disease or anemia, those under the influence of alcohol, and those at high altitudes.
Natural Gas:
Natural gas is odorless. An odor-making agent is added to natural gas. The odor helps you detect a natural gas leak. However, the odor added to the gas can fade. Gas may be present even though no odor exists. Make certain you read and understand all warnings. Keep this manual for reference. It is your guide to the safe and proper operation of this heater.
Product Features

SAFETY DEVICE
This heater has a pilot with an Oxygen Depletion Sensor (ODS) safety shut-off system. The ODS/pilot shuts off the heater if there is not enough fresh air.
IGNITION SYSTEM PIEZO: The heater is equipped with a piezo manual ignitor. This system requires no matches, batteries, or another source to light the heater.
LOCAL CODES Install and use the heater with care. Installation must conform to local codes or in the absence of local codes, use the latest edition of the National Fuel Gas Code, ANSI Z223.1/NFPA 54.
UNPACKING
- Remove the heater from the carton.
- Remove all protective packaging applied to the heater for shipment.
- Check the heater for any shipping damage. If the heater is damaged, promptly inform the dealer where you bought the heater.
FRESH AIR FOR COMBUSTION AND VENTILATION
WARNING: This heater shall not be installed in a confined space or unusually tight construction unless provisions are provided for adequate combustion and ventilation air. Read the following instructions to insure proper fresh air for this and other fuel-burning appliances in your home.
ESTABLISHING ADEQUATE VENTILATION The following are excerpts from National Fuel Gas Code, NFPA 54/ ANSI Z223.1, Section 5.3, Air for Combustion and Ventilation. All spaces in homes fall into one of the three following ventilation classifications:
- Unusually Tight Construction
- Unconfined Space
- Confined Space
This heater must not be installed in a confined space or unusually tight construction unless provisions are provided for adequate combustion and ventilation air. The information on pages 4 and 5 will help you classify your space and provide adequate ventilation.
Unusually Tight Construction
If your home meets all of the three following criteria you must provide additional fresh air. See Ventilation from Outdoors, page 5. Unusually tight construction is defined as construction where:
a. Walls and ceilings exposed to the outside atmosphere have a continuous water vapor retarder with a rating of one perm (6 x la” kg per pa-sec-m2) or less with openings gasketed or sealed and
b. Weatherstripping has been added on operable windows and doors, and
c. Caulking or sealants are applied to areas such as joints around windows and door frames, between wall-ceiling joints, between wall panels, at penetrations for plumbing, electrical, and gas lines, and at other openings.
If your home does not meet all of the three criteria above, see Determining the Type of Heater Location Space, below.
Confined Space and Unconfined Space The National Fuel Gas Code, NFPA 54/ ANSI Z223.1
defines a confined space as a space whose volume is less than 50 cubic feet per 1,000 Btu per hour (4.8 m3 per kW) of the aggregate input rating of all appliances installed in that space, and an unconfined space as a space whose volume is not less than 50 cubic feet per 1,000 Btu per hour (4.8 m3 per kW) of the aggregate input rating of all appliances installed in that space. Rooms communicating directly with the space in which the appliances are installed*, through openings not furnished with doors, are considered a part of the unconfined space. *Adjoining rooms are communication only if there are doorless passageways or ventilation grills between them.
DETERMINING THE TYPE OF HEATER LOCATION SPACE: Use this method to determine if you have a confined or unconfined space.
Note: the space includes the room in which you install the heater plus any adjoining rooms with doorless passageways or ventilation grills between the rooms.
- Find the volume of the space by multiplying room length x width x height. Example: Space size 18ft (length) x 18ft. (width) x 8ft. (height) = 2592 If additional ventilation to adjoining room is supplied with grills or openings, add the volume of these rooms to the total volume of the space.
- Divide the space volume by 50 cubic feet to determine the maximum Btu/hr the space can support. Example: 2592 cu.ft. (volume of space) / 50 cu.ft. = 51.8 or 51,800 (maximum Btu/hr the space can support)
WARNING: This heater shall not be installed in a room or space unless the required volume of indoor combustion air is provided by the method described in the National Fuel Gas Code, ANSI Z223.1/NFPA 54, the International Fuel Gas Code, or applicable local codes - Add the Btu/hr of all the fuel-burning appliances in the space such as, Vent-free heater, Gas water heater, Gas furnace, Vented gas heater, Gas fireplace logs, and Other gas appliances* *Do not include direct-vent gas appliances. Direct-vent draws combustion air from the outdoors and vents to the outdoors. Example: Gas water heater 40,000 Btu/hr Vent Free Heater + 20,000 Btu/hr Total =60,000 Btu/hr
- Compare the maximum Btu/hr the space can support with the actual amount of Btu/hr used. Example: 51,800 Btu/hr (maximum Btu/hr the space can support) 60,000 Btu/hr (Actual amount of Btu/hr used) The space in the above example is a confined space because the actual Btu/hr used is more than the maximum Btu/hr the space can support.
You must provide additional fresh air. Your options are as follows:
A. Rework worksheet, and the space of an adjoining room. If the extra space provides an unconfined space, remove the door to the adjoining room or add ventilation grills between the rooms. See Ventilation From Inside Building (Fig. 2)
B. Vent room directly to the outdoors. See Ventilation From Outdoors (Fig. 3).
C. Install a lower Btu/hr heater if the lower Btu/hr size makes the room unconfined. If the actual Btu/hr used is less than the maximum Btu/ hr the space can support, the space is an unconfined space. You will need no additional fresh air ventilation.
VENTILATION AIR
Ventilation from Inside Building
This fresh air would come from an adjoining unconfined space. When ventilation to an adjoining unconfined space, you must provide two permanent openings: one within 12″ of the ceiling and one within 12″ of the floor on the wall connecting the two spaces (see options 1 & 2 of figure 2). You can also remove the door into the adjoining room (see option3, fig 2). Follow the National Fuel Gas Code NFPA 54/ ANSI Z223.1, Section 5.3, Air for Combustion and Ventilation for the required size of ventilation grills or ducts.
WARNING: Rework worksheet, adding the space of the adjoining unconfined space. The combined space must have enough fresh air to supply all appliances in both spaces.
Ventilation from Outdoors
If necessary provide extra fresh air by using ventilation grills or ducts. Connect these items directly to the outdoors or spaces open to the outdoors. These include attics* and crawl spaces. Follow the National Fuel Gas Code NFPA 54/ ANSI Z223.1, Section 5.3, Air for Combustion and Ventilation for the required size of ventilation grills or ducts.
IMPORTANT: Do not provide openings for inlet or outlet into the attic. If the attic has a thermostat-controlled power vent, heated air entering the attic will activate the power vent.
IMPORTANT: Vent-free heaters add moisture to the air. Although this is beneficial, installing a heater in rooms without enough ventilation air may cause mildew to form from too much moisture. See Fresh Air for Combustion and Ventilation, pages 4 through 5.
INSTALLATION
WARNING: Any change to this heater or its controls can be dangerous.
NOTICE: This heater is intended for use as supplemental heat. Use this heater along with your primary heating system. Do not install this heater as your primary heat source. If you have a central heating system, you may run the system’s circulating blower while using the heater. This will help circulate the heat throughout the house. In the event of a power outage, you can use this heater as your primary heat source for the duration of the outage.
WARNING: A qualified service person must install the heater. Follow all local codes.
CHECK GAS TYPE Use only natural gas. If your gas supply is not natural gas, do not install the heater. Call the dealer where you bought the heater for the proper type of heater.
THIS INSTALLATION REQUIRES:
Before installing the heater, make sure you have the items listed below:
- Piping (check local codes)
- Sealant (resistant to natural gas)
- Equipment shutoff valve*
- Ground joint union
- Test gauge connection*
- Sediment trap
- Tee joint
- Pipe wrench
*A CSA/AGA certified equipment shutoff valve with 1/8″ NPT tap is an acceptable alternative to test gauge connection. Purchase a CSA/AGA certified equipment shutoff valve from your dealer.
LOCATING HEATER
This heater is designed to be mounted on the wall. The heater can also be located on a non-combustible floor, away from a wall by using the floor mounting stands included with the heater. If installed on combustible floorings such as carpeting, tile or other combustible material other than wood flooring, the heater must be placed on a metal or wood panel extending the full width and depth of the appliance.
For convenience and efficiency, install the heater:
- Where there is easy access for operation, inspection, and service.
- In the coldest part of the room.
CAUTION: If you install the heater in a home garage:
- The heater pilot and burner must be at least 18 inches above the floor.
- Locate a heater where the moving vehicle will not hit it.
CAUTION: This heater creates warm air currents. These currents move heat to wall surfaces next to the heater. Installing a heater next to vinyl or cloth wall coverings or operating a heater where impurities (such as tobacco smoke, aromatic candles, cleaning fluids, oil or kerosene lamps, etc.) are present in the air may discolor walls.
WARNING: Never install the heater:
- In a recreational vehicle.
- Where curtains, furniture, clothing, or other flammable objects are less than 36 inches from the front, top, or sides of the heater.
- As a fireplace insert
- In high-traffic areas
- In windy or drafty areas
WARNING: Heater must be mounted to maintain the minimum clearances shown in Figure 4. If possible, provide greater clearances from the floor, ceiling, and joining walls.
FASTENING HEATER TO WALL
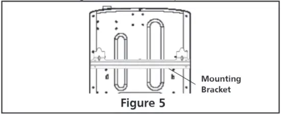
Mounting Bracket
The mounting bracket in located on the back panel of the heater (see figure 5). It has been taped there for shipping. Remove the mounting bracket from the back panel.
Removing Front Panel of Heater
- Remove (4) screws total there are (2) screws on either side of the heater. (Figure 6)
- Pull the front panel and back panel apart.

Attaching Mounting Bracket to Wall Use holes on each end of the mounting bracket to attach the bracket to the wall. These holes are 16 inches apart. Attach the mounting bracket to the wall in one of two following ways.
- Attach to wall studs
- Attach to wall anchor
Attaching to Wall Stud:
This way is the best providing the strongest mounting in wood-frame houses.
Attaching to Wall Anchor:
This way allows you to attach a mounting bracket to hollow walls (wall areas between studs) or to solid walls (concrete or masonry). Decide which way best suits your needs. Either method will provide a secure hold for the mounting bracket.
- Tape the mounting bracket to the wall where the heater will be located. Make sure the mounting bracket is level. For wall stud mounting locate one end of the mounting bracket over a wall stud.
WARNING: Maintain minimum clearances shown in figure 7. If you can, provide greater clearances from the floor and joining wall. - Mark screw locations on the wall (see figure 7).
- Remove tape and mount bracket from the wall.
Attaching to Wall Stud: For attaching mounting bracket to wall studs
- Drill holes at marked locations using a 9/64″ drill bit.
- Place mounting bracket onto wall. Line up holes on each end of the bracket with a hole drilled in the wall.
- Insert mounting screws through the bracket and into wall studs.
- Tighten screws until the mounting bracket is firmly fastened to wall studs.
Attaching to Wall using Anchor:
For attaching mounting brackets to hollow walls (wall areas between studs) or solid walls (concrete or masonry)
Note: Wall anchors, mounting screws, and spacer
are in the hardware package. The hardware package is provided with a heater.
- Drill holes at marked locations using a 5/16″ drill bit. For solid walls (concrete or masonry), drill at least 1″ deep.
- Fold wall anchor as shown in figure 8 below.

- Insert wall anchor (wings first) into the hole. Tap anchor flush to the wall.
- For thin walls (1/2″ or less) insert the red key into the wall anchor.
- Place mounting bracket onto wall. Line up holes on each end of the bracket with wall anchors.
- Insert mounting screws through the bracket and into wall anchors.
- Tighten screws until the mounting bracket is firmly fastened to the wall.
Placing Heater on Mounting Bracket
- Locate two horizontal slots on the back pane of the heater (see figure 9).
- Place heater onto mounting bracket. Slide horizontal slots onto stand-out tabs on the mounting bracket.

Installing Bottom Mounting Screws
- Locate two bottom mounting holes. These holes are near the bottom of the back panel of the heater (see figure 10).

- Mark screws locations on the wall.
- Remove the heater from the mounting bracket.
- If installing a bottom mounting screw into a hollow or solid wall, install wall anchors. Follow steps 1 through 4 under Attaching to Wall using Anchor. If installing a bottom mounting screw into a wall stud, drill holes at marked locations using a 9/64″ drill bit.
- Replace the heater onto the mounting bracket.
- Place spacers between bottom mounting holes and wall anchor or drilled hole.
- Hold spacer in place with one hand. On the other hand, insert the mounting screw through the bottom mounting hole and spacer. Place tip of screw in the opening of wall anchor or drilled hole.
- Tighten both screws until the heater is firmly secured to the wall. Do not overtighten. Note: Do not replace the front panel at this time. Replace the front panel after making gas connections and checking for leaks.
FLOOR MOUNTING AWAY FROM WALL:
Installing Support Feet (See figure 11.)
- Lay heater onto the table on its back with bottom edge overhanging table edge.
- Securely attach feet to the bottom of the heater using 2 -self-tapping screws each.
Note: Feet should have a long end going out the front of the heater, and the edge coincides with the side of the heater. If feet overhang the side of the heater, switch leg location. - Place the heater on the non-combustible surface (see Locating Heater, page 6) before proceeding with gas connection. If this will be a permanent location, the heater may be locked into position using anchoring holes in mounting feet.
Note: The use of floor mounting feet will require you to use a 3/8 NPT street elbow to make gas connection.
CONNECTING TO GAS SUPPLY
WARNING: A qualified service person must connect the heater to the gas supply. Follow all local codes.
WARNING: This appliance requires a 3/8″ NPT (National Pipe Thread) inlet connection to the pressure regulator. Use of floor mounting feet will require you to use a 3/8 NPT street elbow to make the gas connection.
CAUTION: Never connect the heater to the private (non-utility) gas well. This gas is commonly known as well-head gas.
IMPORTANT: Check your gas line pressure before connecting the heater to the gas line. Gas line pressure must be no greater than 14 inches of water. If gas line pressure is higher, heater regulator damage could OCCUR.
CAUTION: Use only new black iron or steel pipe. Internally-tinned copper tubing may be used in certain areas. Check your local codes. Use pipe of large enough diameter to allow the proper gas volume to heater. If the pipe is too small, undue loss of pressure will occur. Installation must include an equipment shutoff valve, union, and plugged 1/8″ NPT tap. Locate NPT tap within reach of test gauge hookup. NPT tap must be upstream from the heater (see figure 12). *A CSA/AGA certified equipment shutoff valve with a 1/8″ NPT tap is an acceptable alternative to test gauge connection. Purchase the CSA/AGA certified equipment shutoff valve from your dealer.
IMPORTANT: Install an equipment shutoff valve in an accessible location. The equipment shutoff valve is for turning on or shutting off the gas to the appliance. Apply pipe joint sealant lightly to male threads. This will prevent excess sealant from going into the pipe. Excess sealant in pipe could result in a clogged heater fuel train.
CAUTION: Use pipe joint sealant that is resistant to natural gas. Install sediment trap in supply line as shown in figure 12. Locate sediment trap where it is within reach for cleaning. A sediment trap traps moisture and contaminants. This keeps them from going into the heater. If the sediment trap is not installed or is installed improperly, the heater may not run correctly.
IMPORTANT: Hold pressure regulator with wrench when connecting it to gas piping and/or fittings.

CHECKING GAS CONNECTIONS
WARNING: Test all gas piping and connections for leaks after installing or servicing. Correct all leaks at once.
WARNING: Never use an open flame to check for a gas leak. Apply a mixture of liquid soap and water to all joints. Bubbles forming show a leak. Correct all leaks at once.
PRESSURE TESTING GAS SUPPLY PIPING SYSTEM
High-Pressure
Test pressure in Excess of 1/2 PSIG (3.5kPa)
- The appliance and its appliance main gas valve must be disconnected from the gas supply piping system during any pressure testing of that system at test pressures in excess of 1/2 psi (3.5 kPa). The appliance must be isolated from the gas supply piping system by closing its equipment shutoff valve during any pressure testing of the gas supply piping system at test pressures equal to or less than 1/2 psi (3.5 kPa).
- Cap off the open end of the gas pipe where the equipment shutoff valve was connected.
- Pressurize the supply piping system by either using compressed air or opening the main gas valve on or near the gas meter.
- Check all connections and joints in the gas supply piping system. Apply a mixture of liquid soap and water to gas joints. Bubbles forming show a leak.
- Correct all leaks at once.
- Depressurize and relieve pressure in the supply piping system.
- Reconnect heater and equipment shutoff valve to gas supply.
- Reconnected fittings must be checked for leaks in the next section.
Low-Pressure
Test Pressure Equal To or Less Than 1/2 PSIG (3.5 kPa)
- Close equipment shutoff valve (see figure 13)
- Pressurize supply piping system by either using compressed air or opening the main gas valve on or near gas meter.
- Check all joints from the gas meter to the equipment shutoff valve (see figure 14). Apply a mixture of liquid soap and water to gas joints. Bubbles forming show a leak.
- Correct all leaks at once.
- Depressurize and relieve pressure from the supply piping system.
Pressure Testing Heater Gas Connections:
- Make sure that the heater supply piping system is connected and has been leak-tested as described above.
- Make sure the control knob of the heater is in the OFF position.
- Open the equipment shutoff valve (see figure 13).

- Open the natural gas supply valve.
- Check all joints from the equipment shutoff valve to the control valve (see figure 14). Apply a mixture of liquid soap and water to gas joints. Bubbles forming show a leak.
- Correct all leaks at once.
- Light heater (see Operating Your Heater, page 10.

- Turn off the heater (see To Turn Off Gas to Appliance, page 10.
- Replace the lower front panel.
OPERATING YOUR HEATER
FOR YOUR SAFETY READ BEFORE LIGHTING
WARNING: If you do not follow these instructions exactly, a fire or explosion may result causing property damage, personal injury, or loss of life.
A. This appliance has a pilot that must be lighted by hand. When lighting the pilot, follow these instructions exactly.
B. BEFORE LIGHTING smell all around the appliance area for gas. Be sure to smell next to the floor because some gas is heavier than air and will settle on the floor.
WHAT TO DO IF YOU SMELL GAS
- Shut off the gas supply.
- Do not try to light any appliance.
- Do not touch any electrical switch; do not use any phone in your building.
- Immediately call your gas supplier from a neighbor’s phone. Follow the gas supplier’s instructions.
- If you can not reach your gas supplier, call the fire department.
C. Use only your hand to push in or turn the gas control knob. Never use tools. If the knob will not push in or turn by hand, don’t try to repair it; call a qualified service technician or gas supplier. Force or attempted repair may result in a fire or explosion.
D. Do not use this appliance if any part has been underwater. Immediately call a qualified service technician to inspect the appliance and to replace any part of the control system which has been underwater.
LIGHTING INSTRUCTIONS
- STOP! Read all safety information included with and on the side of the heater.
- Check that the gas supply to the heater is on.
- Push in the gas control knob and slightly turn clockwise
to the OFF position (see figure 15).
Note: Knob cannot be turned from PILOT to OFF unless knob is pushed in slightly. Do not force. - Wait five (5) minutes to dear out any gas. Then smell for gas, including near the floor. If you smell gas, STOP! Follow “B” in the safety information above. If you do not smell gas, go to the next step.
- Push in gas control now slightly and turn counterclockwise
to PILOT/IGN and depress for five (5) seconds.
Note: The first time that the heater is operated after connecting the gas supply, the control knob should be depressed for about 30 seconds. This will allow air to bleed from the gas system. - Push in control knob and rotate control knob back to OFF position then rotate counterclockwise
PILOT/ IGN position. This will light the pilot. If needed gently keep rotating the control knob back and forth while depressed until the pilot lights. - Keep the control knob depressed in for ten (10) seconds after lighting the pilot. If the pilot goes out, repeat steps 4, 5, 6, and 7. If the pilot does not stay lit, refer to Troubleshooting, pages 12-13. Also, contact a qualified service person or gas supplier for repairs. If the control knob does not pop up when released, contact a qualified service person or gas supplier for repairs.
- FOR MHVFRD1ONG:
• Turn the control knob to “HI” to light the heater. Leave on the “HI” position until the tiles have turned bright orange.
• After the burner tiles have turned bright orange, adjust heat output by turning Control Knob to the desired position (“LO” or “HI”).
FOR MHVFBF1ONG:
• When the pilot is lit, turn the control knob to the “HI” position to light.
• After the flame is established on “HI”, adjust heat output by turning the control knob to the desired position (“LO” or “HI”). Do not operate heater between locked positions.
CAUTION: Do not try to adjust the heating level by using the equipment shutoff valve.
WARNING: When running the heater, set the control knob at “LO” or “HI” locked positions. Poor combustion and higher levels of carbon monoxide may result if the heater is operated with a control knob positioned between locked positions.
IMPORTANT: Release downward pressure while turning the control knob. The control knob must be locked at the desired position.
TO TURN OFF GAS TO APPLIANCE
SHUTTING OFF HEATER:
- Turn off the equipment shutoff valve.
- Turn the control knob clockwise
to the OFF position.
SHUTTING OFF BURNER ONLY (PILOT STAYS LIT)
- Turn the control knob clockwise
to the PILOT/IGN position.
INSPECTING BURNER
Check pilot flame pattern and burner flame pattern often.
PILOT FLAME PATTERN
Figure 16 shows a correct pilot flame pattern and also shows an incorrect pilot flame pattern. The incorrect pilot flame pattern is not touching the thermocouple. This will cause the thermocouple to cool. When the thermocouple cools, the heater will shut down. If pilot flame pattern is incorrect, as shown in Figure 16:
- Turn heater off (see To Turn Off Gas to Appliance, page 10)
- See Troubleshooting, pages 12-13.

CLEANING AND MAINTENANCE
WARNING: Turn off the heater and let it cool before servicing.
For maintenance of the inside cabinet or to access the burner and pilot assembly for cleaning or service. Remove the four screws(two located on each side) that secure the front shell to the unit (Figure 6). Gently lift up on the front shell to disengage the hooks and pull forward to remove it. You will now be able to access all of the internal components of the appliance.
CAUTION: You must keep the control areas, burner, and circulation air passageways of the heater clean. Inspect these areas of the heater before use. Have the heater inspected yearly by a qualified service person? The heater may need more frequent cleaning due to excess lent from carpeting, bedding material, pet hair, etc. Make sure the grille guard is in place before running the heater. If the screen or grille guard is removed for servicing it must be replaced prior to operating the heater.
WARNING: Failure to keep the primary air opening(s) of the burner(s) clean may result in sooting and property damage.
CLEANING ODS/PILOT AND BURNER
- Use a vacuum cleaner, pressurized air or a small soft-bristled brush to clean.
CLEANING BURNER PILOT AIR HOLE INLET
We recommend that you clean the unit every 2,500 hours of operation or every three months. We also recommend that you keep the burner tube and pilot assembly clean and free of dust and dirt. To clean these parts we recommend
using compressed air no greater than 30 psig. This can be done by using a vacuum cleaner in the blow position or using compressed air in a can. If using canned air please follow the directions on the can. If you don’t follow directions on the can you could damage the burner or pilot assembly. In addition, the directions below should also be followed.
- Shut off the unit, including the pilot. Allow the unit to cool for at least thirty minutes.
- Inspect burner and pilot for dust and dirt.
- Blow air through the port/slots and holes in the burner.
A yellow tip on the pilot flame indicates dust and dirt in the pilot assembly. To clean the pilot assembly find the small pilot air inlet hole about two inches from where the pilot flame comes out of the pilot assembly (see figure 17). With the unit off, lightly blow air through the air inlet hole. You may blow through a drinking straw if compressed air is not available.
CLEANING HEATER CABINET Air passageways
- Use a vacuum cleaner or pressurized air to clean the Exterior
- Use a soft cloth dampened with a mild soap and water mixture. Wipe the cabinet to remove dust.

TROUBLESHOOTING
NOTE: All troubleshooting items are listed in order of operation and likely occurrence.
WARNING: Only a qualified service person should service and repair the heater.
CAUTION: Never use a wire needle, or similar object to clean ODS/pilot. This can damage ODS/pilot unit. Make sure the grille guard is in place before running the heater. If the screen or grille guard is removed for servicing it must be replaced prior to operating the heater.
WARNING: If you smell gas:
- Shut off the gas supply
- Do not try to light any appliance
- Do not touch any electrical switch; do not use any phone in your building
- Immediately call your gas supplier from a neighbor’s phone. Follow the gas supplier’s instructions.
- If you cannot reach your gas supplier, call the fire department.
IMPORTANT: Operating heater where impurities in air exist may create odors. Cleaning supplies, paint, paint remover, cigarette smoke, cement and glues, new carpet or textiles, etc., create fumes. These fumes may mix with combustion air and create odors and possible discoloration of walls and ceilings.
| OBSERVED SYMPTOM | POSSIBLE CAUSE | REMEDY |
| When the ignitor button is pressed in, there is a spark at the ODS/pilot but no ignition | Control knob is not fully pressed in | Press in control knob fully |
| Control knob was not pressed in long enough | After ODS/pilot lights, keep the control knob pressed in for 30 seconds | |
| Equipment shutoff valve is not fully open | A fully open equipment shutoff valve | |
| Thermocouple connection loose at the control valve | Hand tighten thermocouple nut until snug and then tighten 1/4 turn more | |
| The pilot flame does not touch the thermocouple, which allows the thermocouple to cool, causing the pilot flame to go out. This problem could be caused by one or both of the following: a.Low gas Pressure b.Dirty or partially clogged ODS/pilot | a.Contact local gas company b.Clean ODS/pilot (see Cleaning and Maintenance, page 11) | |
| Thermocouple damaged | Replace thermocouple | |
| Control valve damaged | Replace Control valve | |
| Burner does not light after ODS/pilot is lit | The burner orifice is clogged | Clean burner orifice (see Cleaning and Maintenance on page 11), or replace burner orifice |
| Burner orifice diameter to small | Replace burner orifice | |
| Inlet gas pressure is too low | Contact the local gas company | |
| Delayed ignition of the burner | Manifold pressure is too low | Contact the local gas company |
| The burner orifice is clogged | Clean burner orifice (see Cleaning and Maintenance on page 11), or replace burner orifice | |
| Burner backfiring during operation | Burner orifice is clogged or damaged | Clean burner orifice (see Cleaning and Maintenance on page 11), or replace burner orifice |
| Burner damaged | Replace burner | |
| Gas regulator defective | Replace gas regulator | |
| Burner plaque(s) does not glow [Infrared Only] | Plaque damaged | Replace burner |
| Control knob set between locked positions | Turn the control knob until it locks at the desired setting. | |
| Inlet gas pressure is too low | Replace gas regulator | |
| Slight smoke or odor during initial operation | Residues from the manufacturing process | The problem will stop after a few hours of operation |
| OBSERVED SYMPTOM | POSSIBLE CAUSE | REMEDY |
| The heater produces a whistling noise when the burner is lit | Turning control knob to HI position when the burner is cold | Turn the control knob to LO position and let warm up for a minute |
| Air in gas line | Operate burner until air is removed from the line have gas line checked by the local gas company | |
| Air passageways on heater blocked | Observe minimum installation clearances (see Figure 4 page 6) | |
| Dirty or partially clogged burner orifice. | Clean burner orifice (see Cleaning and Maintenance on page 11), or replace burner orifice | |
| White powder residue forms within burner box or on adjacent walls or furniture | When heated, vapors from furniture polish, wax, carpet cleaners, etc., turn into white powder residue | Turn heater off when using furniture polish, wax, carpet cleaner, or similar products |
| The heater produces unwanted odors. | Heater burning vapors from paint, hair spray, glues, etc. See the IMPORTANT statement on page 12 | Ventilate room. Stop using odor causing products while the heater is running |
| Gas leak. See the WARNING statement at top of page 12 | Locate and correct all leaks (see Checking Gas Connections, page 9) | |
| Heater shuts off in use (ODS operates) | Not enough fresh air is available | Open window and/or door for ventilation |
| Low line pressure | Contact the local gas company | |
| ODS/pilot is partially clogged | Clean ODS/pilot (see Cleaning and Maintenance, page 11) | |
| Gas odor even when control knob is in OFF position | Gas leak. See the WARNING statement at top of page 12 | Locate and correct all leaks (see Checking Gas Connections, page 9) |
| The control valve is defective | Replace control valve | |
| Gas odor during combustion | Foreign matter between the control valve and burner | Take apart gas tubing and remove foreign matter |
| Gas leak. See the WARNING statement at top of page 12 | Locate and correct all leaks (see Checking Gas Connections, page 9) | |
| The heater produces a clicking/ ticking noise just after the burner is lit or shut off | Metal expanding while heating or contracting while cooling | This is common with most heaters. If noise is excessive, contact a qualified service person |
| Moisture/condensation noticed on windows | Not enough combustion/ventilation air | Refer to Fresh Air for Combustion and Ventilation pages 3 through 5 |
WARNING:
USE ONLY THE MANUFACTURER’S REPLACEMENT PARTS. USE OF ANY OTHER PARTS COULD CAUSE INJURY OR DEATH. REPLACEMENT PARTS ARE ONLY AVAILABLE DIRECT FROM THE FACTORY AND MUST BE INSTALLED BY A QUALIFIED SERVICE AGENCY.
REPLACEMENT PARTS ORDERING INFORMATION:
PURCHASING: Accessories may be purchased at any Mr. Heater local dealer or direct from the factory
FOR INFORMATION REGARDING SERVICE
Please call Toll-Free 800-251-0001 www.mrheater.com
Our office hours are 8:00 AM – 5:00 PM, EST, Monday through Friday. Please include the model number, date of purchase, serial number and description of the problem in all communication.
LIMITED WARRANTY
Mr. Heater, Inc. warrants its heaters and accessories to be free from defects in material and workmanship for a period of 1 year from date of purchase. Mr. Heater, Inc. will repair or replace this product free of charge if it has been proven to be defective within the 1-year period, and is returned at customer expense with proof of purchase to Mr. Heater, Inc. within the warranty period. This warranty gives you specific legal rights, and you may also have other rights which vary from state to state.
Mr. Heater, Inc. reserves the right to make changes at any time, without notice or obligation, in colors, specifications, accessories, materials and models.
PRODUCT REGISTRATION: Thank you for your purchase. Please log in to http://www.egiregistration.com to register your product.
Mr. Heater, INC., 4560W 160TH ST CLEVELAND, OHIO 44135 • S00•251-0001 Mr. Heater is a registered trademark of Mr. Heater, Inc. 2020, Mr. Heater. All rights reserved
SOCIAL MEDIA
In order to provide the best service possible Mr. Heater is now giving you more ways to get in touch with us:
WEBSITE: Mr. Heater’s full line of product are now at: www.mrheater.com
FACEBOOK: Find us on Facebook
TWITTER: Find us on Twitter
YouTube: There are now informational videos on Youtube.


Note: Feet should have a long end going out the front of the heater, and the edge coincides with the side of the heater. If feet overhang the side of the heater, switch leg location.






















