CVC-X1011BB Cordless Vacuum Cleaner
Instruction Manual
CVC-X1011BB Cordless Vacuum Cleaner
Read this manual thoroughly before using and save it for future reference
SAFETY INSTRUCTIONS
When using an electrical appliance, the following rules of use and precautions should always be followed:
- Read all instructions carefully before use.
- Remove all packing materials and stickers before use.
- This is a vacuum cleaner for dry cleaning, do not use it to suck liquid to avoid being damaged.
- Do not immerse the charger or vacuum cleaner into the water for cleaning to avoid any risk.
- Do not use appliance on or near an open fire or on a heated oven.
- Make certain that the ventilation slits of the appliance are not covered in case affect radiating heat.
- Do not use the appliance to suck flammable or combustible liquids, such as gasoline, or use in areas where they may be present.
- Do not use the vacuum cleaner on large objects, sharp objects or building materials.
- Make sure that your outlet voltage corresponds to the voltage stated on the rating label of the charger.
- Do not use the appliance with damaged charger, cord or plug.
- The appliance can only be powered by the charger provided. Do not use the charger to charge any other appliance. The device must only be powered by safety extra-low voltage, as marked on the device.
- When the device is not in use, before cleaning, before assembling or disassembling, turn off the device and turn off the power supply of the charger to avoid electric shock.
- Before cleaning, cut off the power source of charger to avoid electric shock.
- Do not use the appliance if the charger cord is damaged. If the appliance or charger fails, take the appliance to an authorized service center for inspection, repair or adjustment.
- This unit contains a non-replaceable battery. Do not disconnect the battery for use other than as intended. This appliance contains a battery that should only be replaced by qualified personnel.
- The battery built into this unit should not be disposed of with household waste. If the battery can no longer be used, it must be disposed of properly. Never throw it into a fire, as an explosion may occur.
- This appliance can be used by children over the age of 8 and people with reduced physical, sensory or mental capabilities or lack of experience and knowledge, if they are under constant supervision or instructed in the safe use of the appliance and understand the possible dangers. Children should not play with the appliance. Cleaning and customer service should not be performed by children without supervision.
- Careful supervision is necessary if the appliance is used by or near children.
- Use of accessories not recommended by the manufacturer may result in malfunction and personal injury.
- Do not operate the appliance for other than its intended use.
- Do not use outdoors.
- When use the floor brush, please take care to avoid inhalation of power supply cord, curtain and other similar objects which maybe twine around the brush.
- Fully charge the new battery before first use.
- Remove the plug from the socket when the vacuum cleaner is fully charged. Do not unplug the device from the outlet by pulling on the cord.
- Do not leave the operating device unattended.
- Any repairs to the device must be carried out by the manufacturer or authorized service center.
- This appliance is intended for use in domestic and similar environments, including:
– kitchen areas for staff in shops, offices and other production environments, on agricultural farms;
– customers in hotels, motels and other residential type infrastructure;
– in private boarding houses. - The device is not intended to be operated from an external timer or a separate remote-control system.
FOR HOUSEHOLD USE ONLY EQUIPMENT:
- Cordless vacuum cleaner – 1 pc
- Turbo brush – 1 pc
- Wall mount – 1 pc
- Charger – 1 pc
- User manual (contains warranty card) – 1 pc
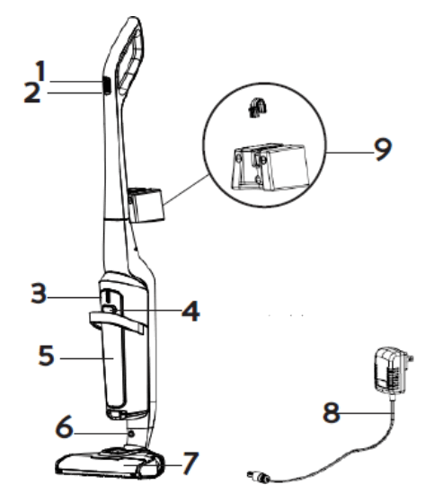
PARTS
On-off button- Power control
- Battery charge indicator
- Unlock button for dust reservoir
- Dust reservoir
- Floor turbo brush release button
- Floor turbo brush
- Adaptor
- Wall mount
BEFORE THE FIRST USE
To set up the vacuum cleaner properly, please follow the steps below:
- Place the handle on the base and fix with the supplied screw. Make sure that no wiring is trapped between the components.
- Make sure the floor turbo brush is clicked into the stick vacuum cleaner.
- Click the dust reservoir into the stick vacuum cleaner.

CHARGING
- Connect the adaptor to the stick vacuum cleaner by the fores connection on the back side of the appliance to charge the stick vacuum cleaner.
- The battery charge indicator indicates when the appliance has been fully charged.
- The vacuum cleaner cannot be started during charging.

WALL MOUNT
Please follow below instructions to fix the wall mount:
- Drill 3 holes in the wall corresponding to the attachment points of the wall mount.
- Insert the supplied plugs into the wall.
- Fix the wall mount using the supplied screws.
- Slide the Wall Mount Holder into the hook on the back of the handle
- Tocleaner storeietorehtahneddevice, simply hang it on the wall mount.

USE
- Press the on-off switch on the handle to turn the vacuum cleaner on. The battery indicator light is blue and indicates the battery level. If the battery is almost empty, the light will flash on and switch off.
- When you switch on the vacuum cleaner, the rotating floor brush will begin to turn. This will cause the dirt in the opening to be shifted and thereby vacuumed up.
- Press the power control to switch between turbo and normal modes.
- Turbo brush is equipped with a safety which will ensure that it shuts itself off if, for example, objects which are too large are sucked up, or if fingers become tangled in the floor brush. This is for personal safety and to protect the motor. To restart the floor brush, press 2 times the on/off button or the power regulation button.
CLEANING AND MAINTENANCE
CLEANING THE VACUUM CLEANER
Clean the vacuum cleaner with a slightly moist soft cloth. Dry the machine off well. Never submerge the vacuum cleaner in water!
CLEANING THE DUST RESERVOIR
- Press the dust reservoir unlock button to remove it from the vacuum cleaner.
- Then take the filters out of the dust reservoir. Empty the dust reservoir.
- Take part A (HEPA filter) from part B (Filter holder).

- Shake out the dirt from the HEPA filter, filter holder and dust reservoir. The HEPA filter must not be washed! The dust reservoir and filter holder can be washed under the tap, then dried completely.
We advise replacing the filters regularly to ensure an optimal operation of the device. Dirty filters will reduce the suction power drastically. After every cleaning, clean the dust reservoir and the filters to extend the life span of vacuum cleaner.
CLEANING THE FLOOR BRUSH
- If hair found on the floor brush, press the roll brush release tab as shown below to open the roll brush cover, and then remove the roll brush.
- Remove hairs and other dirt that have wrapped around the floor brush. If you do not clean the floor brush regularly, it will become damaged and vacuum cleaner will become unusable.
- The rotating floor brush may be rinsed off under running water. Make sure that it is completely dry before using it.
- Stuck hairs can damage the device or your floor. Always remove the hairs stuck on the brushes.

PROBLEM AND SOLUTION
| Problem | Solution |
| The device does not start up. | The battery is empty. Charge the device. |
| The device does not vacuum. | The filters are dirty/the dust reservoir is full. The floor nozzle is clogged/the floor brush is blocked. Clean the device as described in this manual. |
| The running time of the device is shorter and shorter. | The device is not sufficiently charged. Charge the device fully and try again. The battery is broken or old. Contact the after sales service. Stuck hairs. Remove the hairs stuck on the brushes. |
ELECTRICAL PARAMETERS
| Working voltage | DC 28.8 V |
| Rated power | 140 W |
| Adaptor input | 100-240 V, 50/60 Hz |
| Adaptor output | 36 V, 400 mA |
| Electric floor brush rated power | 10 W |
ENVIRONMENT-FRIENDLY DIPOSAL
Never dispose of the device with normal household waste.
Dispose of the device through an authorized disposal company or an appropriate government agency. Please follow all applicable rules. If in doubt, contact your waste disposal company.
Your local community or municipal government can provide information on how to properly dispose of the product.
This device is powered by a recyclable lithium-ion battery. Dispose of the battery in accordance with local waste disposal requirements. If you have questions about disposal, please contact your local waste disposal agency. The packaging is recyclable. Dispose of the packaging environmentally.
Warranty conditions:
The plant guarantees normal operation of the product within 12 months from the date of the sale, provided that the consumer complies with the rules of operation and care provided by this Manual.
Service life of the product is 3 years. In order to avoid any misunderstanding we kindly ask you to carefully study the Owner’s Manual, the terms of warranty, and check the correctness of filling the Warranty Card. The Warranty Card is valid only if the following information is correctly and clearly stated: model, serial number of the product, date of sale, clear seals of the companyseller, signature of the buyer.
The model and serial number of the product must correspond to those specified in the Warranty Card.
If these terms are violated, and if the information specified in the Warranty Card is changed, erased or rewritten, the Warranty Card is considered invalid. Setup and installation (assembly, connection, etc.) of the appliance are described in the attached documentation; they can be carried out both by the user, and by specialists having the necessary qualification sent by USC or selling companies (on a paid basis). In this case, the person (the institution) installing the appliance shall be responsible for the orrectness and quality of installation (setup). Please pay attention to the importance of the correct installation of the appliance, both for its reliable operation, and for obtaining warranty and free service. Require the installation specialist to enter all the necessary information about the installation in the Warranty Card.
In case of failure of the appliance during the warranty period by the fault of the manufacturer, the owner is entitled to free warranty repair upon presentation of the correctly filled Warranty Card together with the appliance in the factory configuration packed in the original packaging to the warranty workshop or the place of its purchase. Satisfaction of the customer’s claim due to the fault of the manufacturer shall be made in accordance with the law «On Protection of Consumers’ Rights». In the case of warranty repair the warranty period shall be extended for the period of repair and shipment.
WARRANTY CARD
Dear Buyer! Congratulations on your purchase of the ARDESTO brand appliance, which was designed and manufactured in accordance with the highest quality standards, and we thank you for choosing this particular instrument.
We ask you to keep the coupon during the warranty period. When purchasing a product, require a full warranty card.
- Warranty service is carried out only if there is a correctly and clearly filled original warranty card, which indicates: product model, date of sale, serial number, warranty service period, and the seller’s seal. *
- The service life of household appliances is 3 years.
- The product is intended for consumer use. When using the product in commercial activities, the seller / manufacturer does not bear warranty obligations, after-sales service is performed on a paid basis.
- Warranty repair is carried out within the period specified in the warranty card for the product in an authorized service center on the conditions and terms determined by applicable law.
- The product is withdrawn from the warranty in case of violation by the consumer of the operating rules set forth in the instruction manual.
- The product is removed from warranty service in the following cases:
• misuse and non-consumer use;
• mechanical damage;
• damage caused by the ingress of foreign objects, substances, liquids, insects;
• damage caused by natural disasters (rain, wind, lightning, etc.), fire, domestic factors (excessive humidity, dust, aggressive environment, etc.)
• damage caused by non-compliance of power and cable network parameters with state standards and other similar factors;
• when operating equipment in the power supply network with a missing single ground loop;
• in case of violation of seals installed on the product;
• lack of serial number of the device, or inability to identify it. - The warranty does not cover consumables and accessories, as well as filters, shelves, drawers, stands and other containers for storing products.
- The warranty period is 12 months from the date of sale.
* Tear-off maintenance tickets are provided by an authorized service center.
The completeness of the product is checked. I have read the terms of the warranty service, no complaints. Customer Signature
Warranty card
| Product information | Trade organization name |
| Product | The address |
| Model | Date of sale |
| Serial number | Seller stamp |
| Seller Information |
Coupon
Seller stamp
- Date of the application
- Cause of damage
- Date of completion
Coupon
Seller stamp
- Date of the application
- Cause of damage
- Date of completion
Coupon
Seller stamp
- Date of the application
- Cause of damage
- Date of completion

On-off button






















