
A2 Personal Radio
DAB & FM Radio with Built-In Battery

User Manual
This manual is available to download online at www.azatom.com
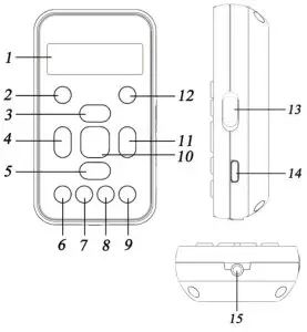
Controls & Interface

| 1. | LCD DISPLAY |
| 2. | POWER |
| 3. | VOL+ |
| 4. | TUN- << |
| 5. | VOL |
| 6. | PRESET |
| 7. | PRESET NUMBERS 1 & 2 |
| 8. | PRESET NUMBERS 3 & 4 |
| 9. | MODE |
| 10. | ENTER/SCAN |
| 11. | TUN+ >> |
| 12. | MENU |
| 13. | LOCK |
| 14. | DC IN SOCKET |
| 15. | EARPHONES / RESET |
What’s in the box?
- A2 Personal Radio
- User Manual
- Warranty Card
- USB Power Cable
- Earphones
Using the A2
Power Supply:
(USB Cable is supplied only)
Key-lock function:
The Key-lock function is used to prevent unintentional operation of your radio
- Set the Lock switch located on the right side of your radio to down “Lock” on . When in the button is pulled down, you will see on the display “Key locked”. All buttons will be disabled from use.
- To release the Lock switch, push up the lock switch to the “Unlock” position. All buttons will be active again.
Operating your radio – DAB:
1. Press and hold the POWER button for two seconds until the A2 switches on. The display will show “Welcome to digital radio.”
2. If this is the first time the radio is used, a quick scan of the Band III DAB channels will be carried out. If the radio has been used before the last used station will be selected.
3. Press and hold the SCAN button for the auto scan to begin. During the scanning process, the lower line of the display shows a bar graph indicating the progress of the scan.
4. When the scanning is complete, the first station (in numeric-alpha order 0-9, A-Z) will be played. Your radio will automatically set to the current time.
5. If the station list is still empty after the scan, your radio will display “service not available”.
Important: Make sure you have the earphones connected. The earphones are the antenna.
6. If no signals are found it may be necessary to relocate your radio to another position which gives a better reception.
7. To Power off the radio. Press and hold the POWER button until the display says “Power off”.
Selecting a station – DAB:
1. The top line of the display shows the name of the station currently selected.
2. Push the << or >> buttons to go through the list of available stations. The lower line of the display will read the station name. Press ENTER button to play selected station.
3. Adjust the Volume control to the required setting.
Note: If after selecting a station the display shows “service not available” it may be necessary to relocate your radio to a position giving better reception.
Secondary services – DAB
Certain radio stations have one or more secondary services associated with them. If a radio station has a secondary service associated with it the display will show “>>” next to the station name on the station list. The secondary service will then appear immediately after the primary services.
When the secondary service shuts down, your radio will automatically switch back to the main radio station ( or primary service) if it is available.
Finding new radio stations – DAB:
As time passes new stations may become available. To find new stations follow these steps:
You can press and hold SCAN for auto scan to start. The display will show “Scanning…” and your radio will perform a scan of the Band III DAB channels. As new radio stations are found the station counter on the display will increase and the radio stations will be added to the list stored in the radio.
Full Scan function – DAB:
As an alternative to finding new DAB stations. you can go into the menu to do a full scan.
1. Press the MENU button, and press << or >> until “Full Scan” is highlighted.
2. Press ENTER to to start the scan. You will see “scanning” on the display. Wait for the scan to complete.
Manual Tuning – DAB:
Manual tuning allows you to tune display to the various DAB Band III channels. UK DAB stations located in the range 11B to 12D.
1. Press MENU until the display shows “Manual Tune”, then press ENTER.
2. Press << or >> to highlight the desired frequency.
3. Press ENTER, the graph will indicate the signal strength.
4. Press MENU to return to the normal tuning mode.
Full scan function, search – FM:
1. Press the MODE button to select FM mode.
3. Press and hold SCAN until your radio starts searching. Whilst searching the radio will automatically save any stations it finds if they have a strong signal strength.
Manual Tuning – FM:
1. Press MODE button to select FM mode.
2. Press << or >> buttons to change the frequency up or down by 50 MHz.
3. Alternatively you can do a fast search to the next available station. Press and hold << or >> buttons until the A2 starts searching. It will also stop at any saved stations.
Presetting Stations:
Store your preferred DAB and FM radio. There are 30 presets for DAB and 30 presets for FM.
1. Tune to the station you want to preset and play it.
3. Press and HOLD the PRESET button until “Preset Store” is displayed on the screen, then using the << or >> buttons to select the preset number you’d like to store the station into.
4. Press ENTER to confirm, the display will show “Preset 01 Stored” (or the number slot you had selected). Repeat this procedure as needed for the different preset numbers.
Note: Each station must be playing before it can be stored in presets.
Recalling a preset:
1. Short press the PRESET button until the display says “Preset Recall”.
2. Select the preset number or station you want to play by using the << or >> buttons.
3. Press ENTER to select and play that station.
4. Fast Preset recall by pressing 1/2 or 3/4 to choose your first four favourite preset stations. Press Enter to play.
Note: If you have not previously stored a preset station and the preset button is pressed “Empty preset” will be displayed.
Time/Date Setting:
When no DAB signal, you will need to set the TIME and DATE manually.
1. Press the MENU button to enter the settings menu.
2. Press << or >> until you see “System”, on the display. Press ENTER.
3. Press << or >> until “Time/Date”. Press ENTER.
4. Press << or >> and ENTER to set the correct time and date.
Earphones:
The lead connecting the earphones to your radio acts as an aerial when plugged into the earphone socket. The lead should be extended as much as possible to increase reception.
1. Plug the earphones into the earphone socket on the bottom of your radio.
2. Check that the Volume level is not too loud before placing the ear-pieces into your ears.
IMPORTANT: Do not switch on the radio with the earphones connected and inserted in your ear.
Excessive sound pressure from earphones can cause hearing loss.
Sleep function:
Your radio can be set to turn off after a preset time has elapsed. The sleep setting can be adjusted between 15 and 90 minutes.
1. Press the MENU button to enter the settings menu.
2. Press << or >> until you see “System” on the display. Press ENTER
3. Press << or >> until “Sleep” is highlighted on the display. Press ENTER
4. Press << or >> to set the desired sleep time of 15, 30, 45, 60, 75 and 90 minutes or Sleep Off. Press ENTER
5. The sleep countdown will be shown on the display. Your radio will switch off after the preset sleep time has elapsed.
6. To cancel the sleep timer and switch off your radio before the chosen sleep time has elapsed, press the POWER button to cancel the sleep timer without switching off your radio, set the desired sleep time to SLEEP OFF.
Backlight:
When no buttons are pressed for 20 seconds, the LCD will dim by 25% and after 2 minutes dim 50%. To set the backlight to never dim,
1. Press the MENU button to enter the settings menu.
2. Press << or >> until you see “System” on the display. Press ENTER.
3. Press << or >> until “Backlight” is highlighted on the display. Press ENTER.
TIME OUT: Set dim time 10 to 180 seconds or off/
DIM LEVEL: Set dim brightness HIGH, MEDIUM or LOW when TIME OUT SET.
ON LEVEL: Set the brightness HIGH, MEDIUM or LOW
Factory Reset:
If you need to reset your radio, you can either use the factory reset tool and push it into the ear- phone slot until you feel the button press or you can choose to reset it via the software menu:
- Press MENU to enter Settings menu.
- Press << or >> until the display shows “System”. Press ENTER.
- Press << or >> until the display shows “Factory Reset”. Press ENTER.
- Press << or >> until “YES” is highlighted on the display. Press ENTER.
A full reset of your radio will be performed, All presets and station lists will be erased. If you do not wish to reset your radio select “NO”. - After a System reset a scan of the DAB band will be performed.
Technical Specification
Power requirement mains (via USB C):
100-240V 50/60Hz
DC 5V 1000mA
Lithium rechargeable battery:
3.7V, 1800mAH
Frequency Coverage:
FM: 87.5-108MHz
DAB: 174.928 – 239.200MHz
Output power: 150mW
Earphone socket: 3.5mm dia. Stereo
IMPORTANT: Do not switch on the radio with the earphones connected and inserted in your ear. Excessive sound pressure from earphones can cause hearing damage.
IMPORTANT SAFETY INFORMATION
1. Read these instructions.
2. Keep these instructions, which are also available for download at www.azatom.com
3. Follow all instructions.
4. Do not clean the apparatus with water.
5. Clean only with a dry cloth.
6. Do not block any ventilation openings.
7. Do put on or near any heat sources such as radiators or other apparatus that produce heat.
8. Only use attachments/accessories specified by the manufacturer.
9. Uplug from mains supply when unused for long periods of time.
10. Dispose of used electrical products and batteries safely according to your local authority and regulations.
ADDITIONAL WARNINGS
The apparatus shall not be exposed to liquid or moisture.
The internal battery should not be exposed to excessive heat.
RECYCLING ELECTRICAL PRODUCTS
Please recyle electrical products.
This symbol means an electrical product should not be disposed of with normal household waste. Please ensure it is taken to a suitable facility for disposal when finished with.
IMPORTANT: Please read all instructions carefully before use and keep for future reference
• Risk of electric shock. Do not open
• Read all instructions carefully before use and keep for future reference.
• When servicing, use only identical replacement parts.


REGISTER YOUR PRODUCT ONLINE. TO LEARN MORE & REGISTER FOR OUR AZATOM WARRANTY PLEASE VISIT: WWW.AZATOM.COM/WARRANTY
AZATOM© 2021 ALL RIGHTS RESERVED. AZATOM IS PART OF AZATOM GROUP LIMITED.
SEE SITE FOR SAFETY INFORMATION. AZATOM ® RESERVE THE RIGHT TO WITHDRAW ANY AND ALL PROMOTIONS WITHOUT NOTICE. FOR FULL WARRANTY, EXTENDED WARRANTY AND PROMOTIONAL OFFER TERMS & CONDITIONS
PLEASE VISIT: WWW.AZATOM.COM/TERMS-CONDITIONS
*REGISTRATION REQUIRED


















