DRAPER 63669 Gasless Mig Welder

These instructions accompanying the product are the original instructions. This document is part of the product, keep it for the life of the product passing it on to any subsequent holder of the product. Read all these instructions before assembling, operating or maintaining this product.
This manual has been compiled by Draper Tools describing the purpose for which the product has been designed, and contains all the necessary information to ensure its correct and safe use. By following all the general safety instructions contained in this manual, it will ensure both product and operator safety, together with the longer life of the product itself.
All photographs and drawings in this manual are supplied by Draper Tools to help illustrate the operation of the product.
Whilst every effort has been made to ensure the accuracy of the information contained in this manual, the Draper Tools policy of continuous improvement determines the right to make modifications without prior warning.
INTRODUCTION
SCOPE
This MIG welder is a limited duty machine designed to perform welding fabrication on a variety of steel types with flux cored filler wire.
Intended for domestic and infrequent light trade use. Any application other than that it was intended for, is considered misuse.
This product is not a toy and must not be used by children or any person with reduced physical, sensory or mental capabilities or lack of experience and knowledge, or people unfamiliar with these instructions.
Local regulations may restrict the age of the operator.
UNDERSTANDING THIS MANUAL SAFETY CONTENT:
Warning! – Information that draws attention to the risk of injury or death.
Caution! – Information that draws attention to the risk of damage to the product or surroundings.
SPECIFICATION
- Stock No. ……………………………………………………… 63669
- Part No. …………………………………………………….. MIG100
- Rated voltage…………………………………………… 230~50Hz
- Effective input current…………………………………………… 5A
- Current range……………………………………………..40 – 100A
- MIG wire range (Flux cored)……………………. 0.6 – 0.9mm
- MIG Wire Spool……………………………………………… 0.45kg
- Degree of protection……………………………………….. IP21S
- Cooling………………………………………………………. Air (fan)
- Insulation class…………………………………………………….. H
- Duty cycle:……………………….. 10% @ 100A , 60% @ 40A
- Weight (Gross/Net/machine only)……… 14.0/12.5/12.0kg
- Stock No. ……………………………………………………… 70050
- Part No. ………………………………………………. MW150A/SF
- Rated voltage…………………………………………… 230~50Hz
- Effective input current………………………………………… 8.8A
- Current range……………………………………………..80 – 150A
- MIG wire range (Flux cored)……………………. 0.6 – 0.9mm
- MIG Wire Spool……………………………………………… 0.45kg
- Degree of protection……………………………………….. IP21S
- Cooling………………………………………………………. Air (fan)
- Insulation class…………………………………………………….. H
- Duty cycle:………………………… 10% @ 150A , 60% @80A
- Weight (Gross/Net/machine only)……… 20.0/17.0/16.5kg
- Stock No. ……………………………………………………… 70051
- Part No. ………………………………………………. MW120A/SF
- Rated voltage…………………………………………… 230~50Hz
- Effective input current………………………………………… 7.3A
- Current range……………………………………………..50 – 120A
- MIG wire range (Flux cored)……………………. 0.6 – 0.9mm
- MIG Wire Spool……………………………………………… 0.45kg
- Degree of protection……………………………………….. IP21S
- Cooling………………………………………………………. Air (fan)
- Insulation class…………………………………………………….. H
- Duty cycle:………………………… 10% @ 120A , 60% @50A
- Weight (Gross/Net/machine only)……… 18.5/16.0/15.5kg
HEALTH AND SAFETY INFORMATION
General Safety Instructions
Warning! Read all safety warnings and all instructions. When using electric tools basic safety precautions should always be followed to reduce the risk of fire, electric shock, and personal injury including the following.
Read all these instructions before attempting to operate this product and save these instructions.
Electric shock can kill:
- Remove the plug from the socket before carrying out adjustment, servicing, or maintenance.
- Allow 5 minutes waiting time for the capacitors to discharge before removing the panels for any maintenance operations
- Do not touch live electrical parts.
- Never use electrode holders or cables with damaged or deteriorated insulation.
- Keep the working environment, equipment, cables, and clothing free from grease, oil, moisture, and dirt.
- Ensure the welding machine has been correctly earthed and all panels are fitted securely.
- The operator must be insulated from the floor and workbench using a dry insulation mat.
- Wear isolating footwear and gloves that are in good condition, i.e. without holes.
- In hazardous conditions of increased electric shock always ensure a second person is present in case of an accident.
- Never change electrodes with bare hands or damp gloves (for ARC/MMA welders).
- Keep welding cables away from power cables.
- Regularly inspect the condition of the welding, earth, and power cables for signs of damage.
- Do not leave the machine unattended and remove the plug from the socket when not in use.
- Do not use welding cables unsuitable for the amperage.
- Ensure the earth clamp is adjacent to the weld seam, secured to bare metal and when not in use is insulated for safety.
- Keep all equipment well maintained.
- The operator shall prevent gas cylinders in the vicinity of the workpiece from becoming part of the welding circuit.
Fumes & Gases can be harmful:
- The welding process generates hazardous fumes as a by-product. Inhalation of these fumes is hazardous to health.
- Keep your head away from the weld to avoid breathing the fumes.
- If welding in confined spaces ensure adequate ventilation and use a fume extractor.
- Welding fumes displace oxygen. The danger of suffocation.
- By-products of welding can react with other chemical vapours to produce a toxic/explosive environment.
Welding can cause fire or explosion:
- Arc welding and allied processes can cause fire and explosions and precautions shall be taken to prevent these hazards.
- Before starting a weld ensure the area is clear of flammable materials.
- Remove any inflammables to a safe distance, especially substances likely to generate a dangerous vapour.
- The welding arc can cause serious burns. Avoid contact with skin.
- Sparks and molten metal are cast out during welding. Take precautions to prevent fire igniting and wear protective clothing.
- Sparks and molten metal can pass through gaps. Be aware that fire can start out of sight. Flammables in a locked cabinet may not be safe.
- Do not weld pressurised containers.
- Do not weld tanks, drums, or other vessels until they have been correctly cleaned/prepared for welding.
- Always have appropriate and fully maintained fire-fighting equipment suitable for the materials used and for use in electrical environments available in close proximity at all times.
- Keep clothing free from oil and grease.
- Wear a hat, flame-proof apron, woolen clothing, gloves, long sleeve tops with closed neck, trousers (without turn-ups) to cover non-slip boots.
- Protective head and shoulder coverings should be worn when overhead welding.
- Avoid taking any fuels with you e.g. cigarette lighters or matches.
- Hot spots and their immediate surroundings should be observed until their temperature has dropped to normal.
Personal Protection:
- The body should be protected by suitable clothing.
- The use of neck protection may be necessary against reflected radiation.
- Wear safety glasses when chipping, wire brushing, grinding, or when near cooling welds as metal filings or slag can be thrown up. Fully enclosed goggles are advisable.
- Arc machines generate a magnetic field which is detrimental to pacemaker recipients. Consult your doctor before going near welding equipment/operations.
- The UV and IR radiation generated by welding is highly damaging to the eye, causing burns. This can also affect the skin. Protect the eyes and face.
- The face and eyes shall be protected by suitable welding shields equipped with appropriate ocular protection filters.
- Where environments are subject to pedestrians and traffic ensure a protective screen is used to avoid accidental arc glare.
- Do not weld in the vicinity of children or animals and ensure no one is looking before striking up.
- In the welding environment, damaging levels of noise can exist. Wear hearing protection if the process dictates.
- Do not touch hot equipment or metal. Allow the weld time to cool, use the correct tool and wear protective welding gauntlets.
- Wear flame retardant clothing (leather, wool, etc.).
- Take care when adjusting or maintaining the torch that it has had time to cool sufficiently and is disconnected.
- The arc generates
- ultra-violet radiation (can damage skin and eyes).
- visible light (can dazzle eyes and impair vision).
- infra-red (heat) radiation (can damage skin and eyes).
- Such radiation can be direct or reflected from surfaces such as bright metals and light coloured objects.
Gas cylinders:
- Gas cylinders should be located or secured so that they cannot be knocked over.
- Shield gas containers can explode if damaged. Take care when handling.
- Ensure gas cylinders are shut-off when not in use and between operations.
- Take care that no build-up of gas is permitted to form in confined areas.
- Cylinders must be in an upright position at all times during use and storage.
- The gas cylinder must never come in contact with the electrode.
- Follow the manufacturer’s instructions for handling, storing, and using the gas bottle correctly and safely.
- Use the correct equipment to connect the gas bottle to the welding torch.
Limitations:
- Do not use for:
- operations in severe conditions (e.g. extreme climates, freezer applications, strong magnetic fields, etc).
- operations subject to special rules (e.g. potentially explosive atmospheres, mines, etc).
- operations that require ingress protection greater than IPX0, e.g. in rain or snow, etc.
General:
- Training should be sought out in
- the safe use of this equipment;
- the processes;
- the emergency procedures;
- Welding power sources are not to be used for pipe thawing.
- Take precautions against toppling over, if the power source shall be placed on a tilted plane.

UNPACKING AND CHECKING
PACKAGING
- Carefully remove the product from the packaging and examine it for any sign of damage. Check contents against the parts shown in Fig A. If any part is damaged or missing, please contact the Draper Help Line (see back page). Do not attempt to use the product!
- The packaging material should be retained during the warranty period, in case the product needs to be returned for repair.
- All equipment should be kept in good working condition, inspected and, when defective, promptly repaired or withdrawn from service – All equipment should be placed so that it does not present a hazard in passageways, on ladders, or stairways, and should be operated in accordance with the manufacturer’s instructions.
- In the vicinity of an arc, non-reflective curtains or screens shall be used to isolate persons from the arc radiation. A warning, e.g. a symbol for eye protection, should refer to the hazard of arc radiation.

Warning!
- Some of the packaging materials may be harmful to children. Do not leave any of these materials in reach of children.
- If any of the packagings is to be thrown away, make sure they are disposed of correctly, according to local regulations.
TECHNICAL DESCRIPTION

- Transport handle.
- MIG welding torch.
- MIG wire feed speed.
- Earth clamp.
- Max., Min. power switch.
- 1, 2 power switch.
- On/off switch.
- Thermal overload indicator.
- Power cable.
- MIG Spool hub.
- MIG wire feed assembly.
- Open catch.
- Flux cored wire.
- Face mask.
- Hammer/brush.
Note: For details of our full range of accessories and consumables, please visit drapertools.com
ASSEMBLING THE WELDER
Make sure the power supply information on the machine’s rating plate is compatible with the power supply you intend to connect it to.
Stock nos.63669 & 70051.
These appliances are supplied with an approved plug and cable for your safety.
A suitable plug must be fitted by a qualified electrician.
Stock No.70050.
This appliance power wiring has insulation stripped in preparation for wiring a 16A plug (not supplied).
It is designed for connection to a 16amp power supply rated at 230V AC.
Because these appliances are constructed mostly of metal parts, they are Class 1 machines; meaning, they must have an earth connection in the power supply. This is to prevent electrocution in the event of a failure.
Note: Remove the plug from the socket before carrying out adjustment, servicing or maintenance.
Check that the electrical supply delivers the voltage and frequency corresponding to the welding machine and that it is fitted with a delayed fuse suited to the maximum delivered rated current.
Note: The welding machines are set to the highest voltage at the factory.
SETTING THE WELDER
GENERAL
This medium weight, portable welder requires no special lifting instructions, however, it contains dedicated circuitry and must be handled with care. The welder is designed to weld with a filler wire feed through the torch (MIG).
LOCATION
Locate the machine close to the correct power supply and allow a 500mm air gap around to ensure sufficient ventilation. There are two cooling fans located in the rear of the machine housing which must be kept clear. Equally, ensure no debris can be drawn into the machine.
Make certain the location does not pose any hazards as detailed in the safety instructions, before attempting to start the machine.
Note: Refer to the rating label for energy input details.
Warning! Remove the plug from the socket before carrying out adjustment, servicing or maintenance.
INSTALLING THE FILLER WIRE
The welding machine is designed to accept the standard size drums of wire (0.45kg).
The welding wire is flux-cored types this provides a means of shielding the weld pool from the atmosphere.
Do not let the filler wire become uncoiled or tangled as this will lead to problems with delivery to the welding torch.
Select the filler wire suitable for the parent metal and with a gauge to match the welder specification.
Note: If the welding machine is not regularly used, remove the wire which is prone to rust and will cause feed problems next time.
- Open the top panel.
- Unscrew the large plastic ring. Sit the reel on to the hub (10). Refit the large plastic ring.
- Fit the wire spool so that it feeds off the base of the reel towards the wire drive unit (11).
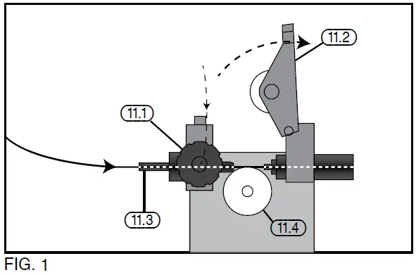
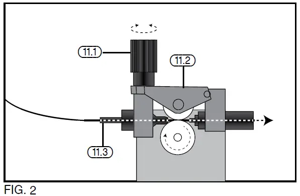
- Pull tensioner (11.1) forward off the tension arm (11.2), the tension arm (11.2) will spring up out of the way.

- The wire must sit in the appropriate groove for the wire gauge. The groove size is etched on the side of the roller. Remove nut to see the groove size that is NOT in use. The drive roller (11.4) can be removed from shaft, to change the groove size for appropriate wire gauge. Unscrew and remove the retaining cap.
- Pass the filler wire through the guide (11.3) and over the top of the drive roller, make sure the wire is well inside the torch liner before closing the arm (11.2) and tensioner (11.1).

- Press the feed trigger on gun and observe the wire feed mechanism. If the wire is being fed correctly it will come out of the swan neck. If it jams you will need to remove the gas shroud (2.1) and with a small spanner unscrew and remove the tip (2.2). Pass the tip over the wire and secure back onto the swan neck. Do not over tighten. Resecure the gas shroud and trim the wire back as required.
Note: Ensure the tip size matches the wire size prior to installation.
NO GAS WELDING PRINCIPLE
For a successful weld joint, the molten metal must be protected from contaminating gases found in the air. This is achieved by using a flux cored filler wire. The flux is produced as the wire melts.
The flux creates a coating over the weld and once cooled will need to be removed by chipping it off.
If allowed to cool naturally some areas of the flux may ping off of the weld by themselves due to thermal contraction for this reason it is recommended that eye protection is worn.
BASIC WELDING OPERATION
NOTE: Although this machine is medium weight and portable take care. Do not manoeuvre over people’s heads.
Note: Welding is a mix of science and art and due to the complex principles and vast differences in parameters (ie. Material type, position, condition etc.) That information is well beyond the scope of this manual. Draper Tools suggest training be obtained from a third party or refer to a suitable reference book on the subject additionally; nothing can beat practice using the welder on scrap material to get a better understanding.
ON/OFF SWITCH – FIG. 4
The on/off switch is a rocker switch. Press the top half in to switch the welder ‘on’ and the bottom half in to switch the welder ‘off’.

WELDING CURRENT REGULATION SWITCHES
The current regulation switches regulate the welders power in four steps:
Min +1, Min +2 and Max +1, Max +2.
Regulate the welding current in conjunction with the wire speed to achieve the optimum arc for the workpiece thickness and type.
WIRE SPEED ADJUSTMENT
Wire speed is dependent on material thickness and welding current. Being able to judge the correct wire speed based on the sound and quality of the weld will only come from practice.
- Too fast will result in holes blowing in the weld or the wire hitting the metal will force the torch backward.
- Too slow will result in the wire burning back to the torch into a ball and clogging the tip.
Note: When using the welder on a low amp setting/low wire speed, it is necessary that the wire drive tension is increased on the adjustment to avoid the spool stalling.

THERMAL CUT OUT
If the duty cycle of the welder is exceeded, the thermal cut out will activate to prevent damage to the internal components or further overheating.
When the thermal cut out warning light is lit, the welder must be left to cool down before it can be restarted.
MIG WELDING PRINCIPLES
The MIG welding process allows two similar materials to be fused together without altering the properties of the material. The electric arc created between the electrode (the welding wire) and the work piece produces the required heat for turning the metal into a molten state. The gas creates a shield around the arc and the molten metal.
The area to be welded and the earth point must be clean of grease, dirt, paint and rust. Clean with a wire brush as necessary. Position the earth clamp as close as possible to the working area and ensure a tight grip is achieved.
Select the welding current based on the thickness of the material. A thick piece will require a high current, however due to the duty cycle this will effect the welding time by significantly reducing it. A thin piece will only require minimal heat and so the current can be less. This will allow a longer period of welding. The position of the torch is critical to the arc and end results.


The position of the welding torch is important to achieve a good quality bead. Position the torch at approximately 35° vertically and 75° horizontally and up to 20mm distance from the join. 20mm is the maximum that can be achieved on the maximum setting. Ensure the gas shroud remains clean of spatter. Likewise and more importantly the wire feed tip must be kept clean to avoid the wire becoming blocked or restricted.
Use of an anti-spatter spray (Draper Stock No.05709) will help keep the end result more tidy.
DEFINITION:
DUTY CYCLE:
Duty Cycle is a percentage of 10 mins. in which a machine can operate at a rated load without overheating and interruption from the thermal cut-out device.
Example: 150A @ 30% Duty factor
To increase the operation time, reduce the amperage.
Note: The heating tests have been carried out at ambient temperature and the duty cycle (duty factor) at 20°C has been determined by simulation
Definition:
METAL INERT-GAS (MIG welding)
Also known as GMAW (Gas metal arc welding)
A welding process in which an electric arc forms between a consumable wire electrode and the workpiece metal(s), which heats the workpiece metal(s), causing them to melt, and join. Along with the wire electrode, a shielding gas feeds through the welding gun, which shields the process from contaminants in the air.
TROUBLESHOOTING
WARNING: For your own safety, turn the switch off and remove the plug from the power supply socket.
| PROBLEM | POSSIBLE CAUSE | REQUIRED ACTION |
|
Wire not feeding despite wire feed pulley turning. | Dirty current nozzle (contact tip). | Clean. |
| Wire feed pulley set too tight. | Loosen. | |
| Too low clamping pressure of the wire feed pulley. | Increase the clamping pressure. | |
|
Interrupted or disruptive wire supply. | Damaged current nozzle. | Replace. |
| Burnt current nozzle. | Replace | |
| Dirty driving gear torch liner. | Clean. | |
| Cut on worn driving gear. | Replace. | |
|
Electric arc turned off. | Poor contact between earth clamp and part to be welded. | Tighten the pliers and check them, remove paint and rust. |
| Short circuit between current nozzle and gas supply pipe. | Clean or replace the current and gas nozzle, remove dirt, paint and rust. | |
| Too loose current nozzle. | Tighten the current nozzle firmly. | |
| Welder suddenly stops working after longer operation. | Welder has overheated due to too long use and the thermal protection has activated. | Let the welder cool down. |
IMPORTANT: Please note all repairs/service should be carried out by a qualified person.
MAINTENANCE
Regular inspection and cleaning reduces the necessity for maintenance operations and will keep your tool in good working condition.
Warning: Remove the plug from the power supply. Periodically the welder must be checked as detailed below.
- Check the torch cable and ground cable connections.
- Clean the contact tip and the gas shroud with an iron brush. Replace if worn.
- Clean the outside of the welder with a damp cloth.
- Every time the wire spool is replaced:
- Check the alignment, cleanliness and state of wear of the wire roll.
- Remove any metal powder deposited on the wire feeder mechanism and then dry with compressed air.
- Occasionally test to ensure the thermal cut-out device is operating correctly, i.e. weld for an extended period or on a maximum duty cycle.
- Check the condition of the warning labels.
- Replace any worn parts.
- If the replacement of the supply cord is necessary, this has to be done by the manufacturer or his agent to avoid a safety hazard.
The welder must be correctly ventilated during tool operation. Avoid blocking the air inlets and vacuum the ventilation slots regularly.
Do not use solvents or fuels to clean the product. When not in use, store the product in a safe, dry place.
WARRANTY
Draper tools have been carefully tested and inspected before shipment and are guaranteed to be free from defective materials and workmanship.
Should the tool develop a fault, please return the complete tool to your nearest distributor or contact:
Draper Tools Limited, Chandler’s Ford, Eastleigh, Hampshire, SO53 1YF. England.
Telephone Sales Desk: +44 (0)23 8049 4333 or:
Product Helpline +44 (0)23 8049 4344.
A proof of purchase must be provided.
If upon inspection it is found that the fault occurring is due to defective materials or workmanship, repairs will be carried out free of charge. This warranty period covering labour is 12 months from the date of purchase except where tools are hired out when the warranty period is 90 days from the date of purchase. This warranty does not apply to any consumable parts, any type of battery or normal wear and tear, nor does it cover any damage caused by misuse, careless or unsafe handling, alterations, accidents, or repairs attempted or made by any personnel other than the authorised Draper warranty repair agent.
Note: If the tool is found not to be within the terms of warranty, repairs and carriage charges will be quoted and made accordingly.
This warranty applies in lieu of any other warranty expressed or implied and variations of its terms are not authorised.
Your Draper warranty is not effective unless you can produce upon request a dated receipt or invoice to verify your proof of purchase within the warranty period.
Please note that this warranty is an additional benefit and does not affect your statutory rights.
Draper Tools Limited.
DISPOSAL
- At the end of the machine’s working life, or when it can no longer be repaired, ensure that it is disposed of according to national regulations.
- Contact your local authority for details of collection schemes in your area.
In all circumstances:- Do not dispose of power tools with domestic waste.
- Do not incinerate.
- Do not dispose of WEEE* as unsorted municipal waste.
- * Waste Electrical & Electronic Equipment.























