DRAPER MW160A Gas or Gasless MIG Inverter Multi Welder Machine Instruction Manual
These instructions accompanying the product are the original instructions. This document is part of the product, keep it for the life of the product passing it on to any subsequent holder of the product. Read all these instructions before assembling, operating or maintaining this product.
This manual has been compiled by Draper Tools describing the purpose for which the product has been designed, and contains all the necessary information to ensure its correct and safe use. By following all the general safety instructions contained in this manual, it will ensure both product and operator safety, together with longer life of the product itself.
All photographs and drawings in this manual are supplied by Draper Tools to help illustrate the operation of the product. Whilst every effort has been made to ensure the accuracy of information contained in this manual, the Draper
Tools policy of continuous improvement determines the right to make modifications without prior warning.
INTRODUCTION
SCOPE
This multi function welder is able to perform MIG, MMA and TIG LIFT welding fuctions when the correct accessories are connected. This machine can weld carbon steel, low alloy steel and with the correct accessories and consumables stainless steel and aluminium.
This product is suitable for enthusiasts and tradespersons alike. Any application other than that it was intended for, is considered misuse.
This product is not a toy and must not be used by children or any person with reduced physical, sensory or mental capabilities or lack of experience and knowledge, or people unfamiliar with these instructions.
Local regulations may restrict the age of the operator.
UNDERSTANDING THIS MANUALS SAFETY CONTENT:
Warning! – Information that draws attention to the risk of injury or death.
Caution! – Information that draws attention to the risk of damage to the product or surroundings.
EXPLANATION OF SYMBOLS
Warning!
Read the instruction manual
Warning!
Wear suitable welding eye/face protection.
Warning!
Wear ear defenders (During grinding operations).
Warning!
Wear ear defenders (During grinding operations).
Warning!
Wear protective gloves.
Keep out of the reach of children.
Warning!
Danger of electric shock
Danger of fire
Danger of explosion.
Danger of fumes
Danger of ultraviolet radiation.
Danger of burning splashes.
Pressure bottle to be secured by chain.
Fan cooled.
Input current.
Input voltage.
Protection rating
Thermal overload.
MIG range.
MMA range.
MIG wire sizes.
MMA electrode sizes
MIG welding (Metal Inert Gas) or GMAW (Gas Metal Arc Welding).
ARC welding (stick), MMA ( Manual Metal Arc) or SMAW (Shielded Metal Arc Welding)
TIG welding (Tungsten Inert Gas) or GTAW (Gas Tungsten Arc Welding).
Machine weight
WEEE –
Waste Electrical & Electronic Equipment. Do not dispose of Waste Electrical & Electronic Equipment in with domestic rubbish.
Do not incinerate or throw onto fire.
For indoor use only. Do not expose to rain.
Class 1 appliance (Must be earthed).
UK Conformity Assessed.
European conformity.
SPECIFICATION
Stock No. …………………………………………………….. 70047
Part No. ………………………………………………….. MW160A
Rated voltage ………………………………………….. 230~50Hz
Input current …………………………………………………….. 16A
Current range …………………………………………… 20 – 160A
MIG wire range……………………………………… 0.6 – 1.0mm
MMA/ARC Electrode size…………………………1.6 – 4.0mm
MIG Wire Spool…………………………………………1kg & 5kg
Dinse Type Socket …………………………………………10 / 25
Degree of protection……………………………… IP21S
Cooling ……………………………… Air (fan)
Insulation class…………………………………………… F
Duty cycle:…………………… 60% @ 160A, 100% @ 120A
Weight (Gross/Net/machine only) ………. 12.8/12.0/9.5kg
HEALTH AND SAFETY INFORMATION
General Safety Instructions
Warning! Read all safety warnings and all instructions. When using electric tools basic safety precautions should always be followed to reduce the risk of fire, electric shock, and personal injury including the following.
Read all these instructions before attempting to operate this product and save these instructions.
Electric shock can kill:
- Remove the plug from the socket before carrying out adjustment, servicing, or maintenance.
- Allow 5 minutes waiting time for the capacitors to discharge before removing the panels for any maintenance operations
- Do not touch live electrical parts.
- Never use electrode holders or cables with damaged or deteriorated insulation.
- Keep the working environment, equipment, cables, and clothing free from grease, oil, moisture, and dirt.
- Ensure the welding machine has been correctly earthed and all panels are fitted securely.
- The operator must be insulated from the floor and workbench using a dry insulation mat.
- Wear isolating footwear and gloves that are in good condition, i.e. without holes.
- In hazardous conditions of increased electric shock always ensure a second person is present in case of an accident.
- Never change electrodes with bare hands or damp gloves (for ARC/MMA welders).
- Keep welding cables away from power cables.
- Regularly inspect the condition of the welding, earth, and power cables for signs of damage.
- Do not leave the machine unattended and remove the plug from the socket when not in use.
- Do not use welding cables unsuitable for the amperage.
- Ensure the earth clamp is adjacent to the weld seam, secured to bare metal and when not in use is insulated for safety.
- Keep all equipment well maintained.
- The operator shall prevent gas cylinders in the vicinity of the workpiece from becoming part of the welding circuit.
Fumes & Gases can be harmful:
- The welding process generates hazardous fumes as a by-product. Inhalation of these fumes is hazardous to health.
- Keep your head away from the weld to avoid breathing the fumes.
- If welding in confined spaces ensure adequate ventilation and use a fume extractor.
- Welding fumes displace oxygen. The danger of suffocation.
- By-products of welding can react with other chemical vapours to produce a toxic/explosive environment.
Welding can cause fire or explosion:
- Arc welding and allied processes can cause fire and explosions and precautions shall be taken to prevent these hazards.
- Before starting a weld ensure the area is clear of flammable materials.
- Remove any inflammables to a safe distance, especially substances likely to generate a dangerous vapour.
- The welding arc can cause serious burns. Avoid contact with skin.
- Sparks and molten metal are cast out during welding. Take precautions to prevent fire igniting and wear protective clothing.
- Sparks and molten metal can pass through gaps. Be aware that fire can start out of sight. Flammables in a locked cabinet may not be safe.
- Do not weld pressurised containers.
- Do not weld tanks, drums, or other vessels until they have been correctly cleaned/prepared for welding.
- Always have appropriate and fully maintained fire-fighting equipment suitable for the materials used and for use in electrical environments available in close proximity at all times.
- Keep clothing free from oil and grease.
- Wear a hat, flame-proof apron, woolen clothing, gloves, long sleeve tops with closed neck, trousers (without turn-ups) to cover non-slip boots.
- Protective head and shoulder coverings should be worn when overhead welding.
- Avoid taking any fuels with you e.g. cigarette lighters or matches.
- Hot spots and their immediate surroundings should be observed until their temperature has dropped to normal.
Personal Protection:
- The body should be protected by suitable clothing.
- The use of neck protection may be necessary against reflected radiation.
- Wear safety glasses when chipping, wire brushing, grinding, or when near cooling welds as metal filings or slag can be thrown up. Fully enclosed goggles are advisable.
- Arc machines generate a magnetic field which is detrimental to pacemaker recipients. Consult your doctor before going near welding equipment/ operations.
- The UV and IR radiation generated by welding is highly damaging to the eye, causing burns. This can also affect the skin. Protect the eyes and face.
- The face and eyes shall be protected by suitable welding shields equipped with appropriate ocular protection filters.
- Where environments are subject to pedestrians and traffic ensure a protective screen is used to avoid accidental arc glare.
- Do not weld in the vicinity of children or animals and ensure no one is looking before striking up.
- In the welding environment, damaging levels of noise can exist. Wear hearing protection if the process dictates.
- Do not touch hot equipment or metal. Allow the weld time to cool, use the correct tool and wear protective welding gauntlets.
- Wear flame retardant clothing (leather, wool, etc.).
- Take care when adjusting or maintaining the torch that it has had time to cool sufficiently and is disconnected.
- The arc generates
- ultra-violet radiation (can damage skin and eyes).
- visible light (can dazzle eyes and impair vision).
- infra-red (heat) radiation (can damage skin and eyes).
- Such radiation can be direct or reflected from surfaces such as bright metals and light coloured objects.
Gas cylinders:
- Gas cylinders should be located or secured so that they cannot be knocked over.
- Shield gas containers can explode if damaged. Take care when handling.
- Ensure gas cylinders are shut-off when not in use and between operations.
- Take care that no build-up of gas is permitted to form in confined areas.
- Cylinders must be in an upright position at all times during use and storage.
- The gas cylinder must never come in contact with the electrode.
- Follow the manufacturer’s instructions for handling, storing, and using the gas bottle correctly and safely.
- Use the correct equipment to connect the gas bottle to the welding torch.
Limitations:
- Do not use for:
- operations in severe conditions (e.g. extreme climates, freezer applications, strong magnetic fields, etc)
- operations subject to special rules (e.g. potentially explosive atmospheres, mines, etc).
- operations that require ingress protection greater than IPX0, e.g. in rain or snow, etc.
General:
- Training should be sought out in
- the safe use of this equipment;
- the processes;
- the emergency procedures;
- Welding power sources are not to be used for pipe thawing.
- Take precautions against toppling over, if the power source shall be placed on a tilted plane.
- All equipment should be kept in good working condition, inspected and, when defective, promptly repaired or withdrawn from service – All equipment should be placed so that it does not present a hazard in passageways, on ladders, or stairways, and should be operated in accordance with the manufacturer’s instructions.
- In the vicinity of an arc, non-reflective curtains or screens shall be used to isolate persons from the arc radiation. A warning, e.g. a symbol for eye protection, should refer to the hazard of arc radiation.

UNPACKING AND CHECKING
PACKAGING
Carefully remove the product from the packaging and examine it for any sign of damage. Check contents against the parts shown in Fig A. If any part is damaged or missing, please contact the Draper Help Line (see back page). Do not attempt to use the product!
The packaging material should be retained during the warranty period, in case the product needs to be returned for repair.
Warning!
- Some of the packaging materials may be harmful to children. Do not leave any of these materials in reach of children.
- If any of the packaging is to be thrown away, make sure they are disposed of correctly, according to local regulations.
TECHNICAL DESCRIPTION

- Power indicator.
- Thermal overload.
- Function indicator.
- Current adjustment.
- Select method/function.
- Voltage fine adjustment (Synergy).
- Transport handle.
- MIG torch euro connection.
- Polarity change plug.
- Positive coupling.
- Negative coupling.
- MIG welding torch.
- Earth clamp.
- MMA welding electrode holder.
- MIG gas hose barb.
- On/off switch.
- Power cable.
- MIG Spool hub.
- MIG wire feed assembly.
- Earthing.
- Face mask.
- Hammer/brush.
ASSEMBLING THE WELDER
Make sure the power supply information on the machine’s rating plate is compatible with the power supply you intend to connect it to.
A suitable plug must be fitted by a qualified electrician.
This machines wiring has insulation stripped in preparation for wiring a 16A plug (not supplied).
It is designed for connection to a 16amp power supply rated at 230V AC.
Because it is constructed mostly of metal parts, it is a Class 1 machine; meaning, it must have an earth connection in the power supply. This is to prevent electrocution in the event of a failure.
Note: Remove the plug from the socket before carrying out adjustment, servicing or maintenance. Check that the electrical supply delivers the voltage and frequency corresponding to the welding machine and that it is fitted with a delayed fuse suited to the maximum delivered rated current.
Note: The welding machines are set to the highest voltage at the factory.
DTi– Digital Technology Inside
Draper Tool’s newest models of welding machines contain the latest digital technology, integrated into every element of the machine’s control, improving every aspect of performance.
More Functions
Internal micro-processors combined with digital circuitry allow more functions to be managed within a single machine, resulting in highly sophisticated machines which are compact and lightweight.
Superior Performance
Digital signal stabilisation maintains the machine settings for optimum performance during use, automatically adjusting to humidity, temperature and other environmental factors to ensure superior welding performance in any conditions.
Precision Control
Digital technology enables various machine settings to be applied with a high level of accuracy, giving the user precision control of every element of their welding.
SETTING THE WELDER
GENERAL
This medium weight, portable welder requires no special lifting instructions, however, it contains dedicated circuitry and must be handled with care. The welder is designed to weld with coated consumable electrodes (MMA), using lift arc start with manually fed filler wire (TIG) and using a filler wire feed through the torch (MIG).
Note: Although the tungsten electrode is classed as non-consumable compared to the filler rod it will be consumed by the TIG process and require resharpening and eventually replacing.
LOCATION
Locate the machine close to the correct power supply and allow a 500mm air gap around to ensure sufficient ventilation. There are two cooling fans located in the rear of the machine housing which must be kept clear. Equally, ensure no debris can be drawn into the machine.
Make certain the location does not pose any hazards as detailed in the safety instructions, before attempting to start the machine.
Note: Refer to the rating label for energy input details. For TIG operations, ensure the gas bottle is securely mounted and in a vertical position according to the manufacturer’s instructions.
Warning! Remove the plug from the socket before carrying out adjustment, servicing or maintenance.
TIG (TUNGSTEN INERT GAS) – FIG. 1
MMA (MANUAL METAL ARC)
To attach the electrode holder (14) to the front panel, insert the plug into positive coupling (9) and twist to lock.
Attach the earth clamp (13) to the negative coupling (11) and twist clockwise to lock.
INSTALLING THE FILLER WIRE (MIG WELDER) – FIGS. 2 – 6
The welding machine is designed to accept the standard size drums of wire (1kg & 5kg).
The welding wire can be either of the flux-cored types this provides a means of shielding the weld pool from the atmosphere.
Or non-flux wire with the gas hose connected to the back of the machine.
Do not let the filler wire become uncoiled or tangled as this will lead to problems with delivery to the welding torch.
Select the filler wire suitable for the parent metal and with a gauge to match the welder specification.
Note: If the welding machine is not regularly used, remove the wire which is prone to rust and will cause feed problems next time.
- Open the side panel.
- Unscrew the large plastic ring. Sit the reel on to the hub (18) and make sure the peg locates in the back of the reel. Refit the large plastic ring.
- Fit the wire spool so that it feeds off the base of the reel towards the wire drive unit (19).
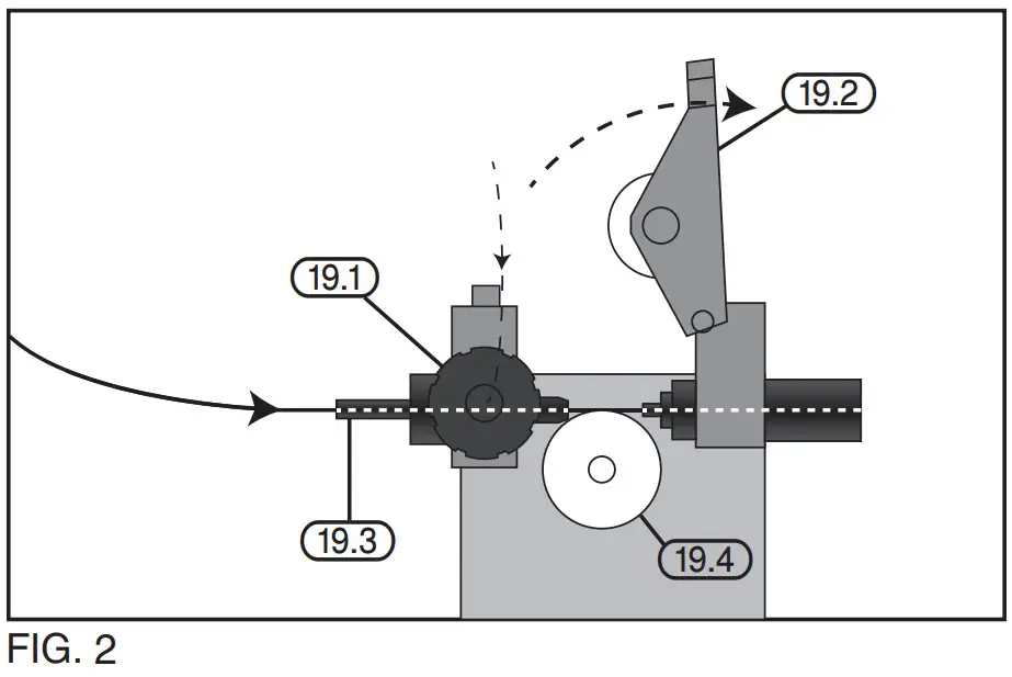
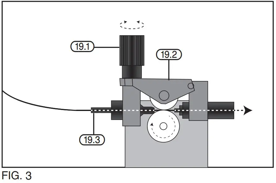
- Pull tensioner (19.1) forward off the tension arm (19.2), the tension arm (19.2) will spring up out of the way.

- The wire must sit in the appropriate groove for the wire gauge. The groove size is etched on the side of the roller. Remove nut to see the groove size that is NOT in use. The drive roller (19.4) can be removed from shaft, to change the groove size for appropriate wire gauge. Unscrew and remove the retaining cap.
- Pass the filler wire through the guide (19.3) and over the top of the drive roller, make sure the wire is well inside the torch liner before closing the arm (19.2) and tensioner (19.1).

- Connect the welding machine to the power supply.
- Attach the Polarity change plug (10) as illustrated for either GAS or GASLESS.


- Press the feed trigger on gun and observe the wire feed mechanism. If the wire is being fed correctly it will come out of the swan neck. If it jams you will need to remove the gas shroud (12.1) and with a small spanner unscrew and remove the tip (12.2). Pass the tip over the wire and secure back onto the swan neck. Do not over tighten. Resecure the gas shroud and trim the wire back as required
Note: Ensure the tip size matches the wire size prior to installing.
- If bottled gas is required for the weld it will be fitted via the hose barb (16) on the back.
MIG Carbon steel welding
This mode uses 100% CO2 gas, most common welding process to weld carbon steel. Suitable diameter 0.6-0.8mm.
This mode uses mixed gas, commonly gas ratio is by 80% Argon + 20% CO2 to weld carbon steel. Mixed gas welding generates less spatter and better welding result. Suitable diameter 0.6-0.8mm.
NO GAS WELDING PRINCIPLE
For a successful weld joint, the molten metal must be protected from contaminating gases found in the air. This is achieved by using a flux cored filler wire. The flux is produced as the wire melts.
The flux creates a coating over the weld and once cooled will need to be removed by chipping it off.
If allowed to cool naturally some areas of the flux may ping off of the weld by themselves due to thermal contraction for this reason it is recommended that eye protection is worn.
BASIC WELDING OPERATION
Note: Although this machine is medium weight and portable take care with additional items i.e. gas bottles etc. Do not manoeuvre over people’s heads.
WELDING TYPE SELECTION – SWITCH – FIG.7
Note: Welding is a mix of science and art and due to the complex principles and vast differences in parameters (ie. Material type, position, condition etc.) That information is well beyond the scope of this manual. Draper Tools suggest training be obtained from a third party or refer to a suitable reference book on the subject additionally; nothing can beat practice using the welder on scrap material to get a better understanding.
SYNERGY MIG – FIG. 8
Requires just adjust welding current, other parameters like voltage, wire speed will automatically match.
For precise welding, adjust compensation voltage. Micro adjustment for desired welding voltage. Position at middle is for standard welding.
MIG WELDING PRINCIPLES – FIGS. 9 – 10
The MIG welding process allows two similar materials to be fused together without altering the properties of the material. The electric arc created between the electrode (the welding wire) and the work piece produces the required heat for turning the metal into a molten state. The gas creates a shield around the arc and the molten metal.
The area to be welded and the earth point must be clean of grease, dirt, paint and rust. Clean with a wire brush as necessary. Position the earth clamp as close as possible to the working area and ensure a tight grip is achieved.
Select the welding current based on the thickness of the material. A thick piece will require a high current, however due to the duty cycle this will effect the welding time by significantly reducing it. A thin piece will only require minimal heat and so the current can be less. This will allow a longer period of welding. The position of the torch is critical to the arc and end results.

The position of the welding torch is important to achieve a good quality bead. Position the torch at approximately 35° vertically and 75° horizontally and up to 20mm distance from the join. 20mm is the maximum that can be achieved on the maximum setting. Ensure the gas shroud remains clean of spatter. Likewise and more importantly the wire feed tip must be kept clean to avoid the wire becoming blocked or restricted.
Use of an anti-spatter spray (Draper Stock No.05709) will help keep the end result more tidy
TIG WELDER, TUNGSTEN ELECTRODES – SELECTION & PREPARATION – FIG. 11
The correct selection of tungsten size and type will vary for each application dependent upon amperage, material thickness, equipment and shield gas, however as a general rule for DC output negative electrode machines a 1.6mm thorium or cerium oxide tungsten electrode will suffice.
The selection of the ceramic shroud is based on the tungsten electrode and should be 4 to 6 times the tungstens diameter. For example a 1.6mm tungsten could be used with a No.4 (6.4mm) ceramic shroud, a
No.5 (8.0mm) or at the maximum a No.6 (9.8mm). There are a variety of different tungsten electrodes available with the most common categories underlined:
Note: The alloy content shown are a guide but generally range between 1% to 4%.
Before welding can commence the electrode must be prepared, i.e. the tip ground to a suitable point.
If using a grinding wheel, a dedicated abrasive wheel must be used to prevent contamination of the tungsten.
The tip must be ground straight, i.e. perpendicular to the grinder’s drive spindle.
Note: For DC welding the tip should be ground into a point to help produce a stable arc.
The general rule is to grind the point’s length to match the electrodes diameter (A).
However for low amperage/smaller diameter electrodes the points length should be double the electrodes diameter (B).
With AC welding you mayfind the tip forms itself into a balled configuration.
Note: During the grinding process thorium alloy tungsten can release alpha ( ) dust particles and in some instances beta ( ) and gamma ( ) particles. Avoid inhalation as they act as a carcinogen.
In addition to dust protection, safety goggles must be warn to protect eyes from sparks and debris thrown up by the grinder.
Selection of the appropriate specification electrode is important to achieve a good quality weld. Seek guidance if unsure of selection.
| Colour Code Band | Content | Composition | Comments |
| White | 0.7-0.9% | Zirconium Oxide contamination resistance | Predominantly used for AC welding due to its resistance to tungsten spitting and ability to retain a rounded profile tip. |
| Red | 1.8-2.2% | Thorium Oxide | Long life DC welding tungsten alloy providing improved ignition properties and a stable arc. See HSE guidelines. |
| Grey | 1.8-2.2% | Cerium Oxide | Capable of AC/DC welding with reduced slag deposits. |
MACHINE OPERATION
No TIG filler wire is supplied with this machine, however
a list of accessories are displayed in the optional
accessories. Alternatively, consult your local Draper
stockist for further information.
Prepare the joint(s) to be welded. Select the electrode suitable for the application and insert it into the electrode holder as described in the manufacturers literature.
The tungsten should extend 3-6mm past the end of shroud but no greater than the gas shroud diameter.
With the earth clamp, electrode holder and gas bottle connected, connect the machine to the power supply.
The power display will illuminate as confirmation. Set the amperage adjustment appropriate to the selected electrode size.
Secure the earth clamp to a clean sound section of the parent metal in the vicinity to the intended weld. With all safety equipment in place and personal protective clothing on begin welding.
Note: Ensure the gas bottle regulator is open.
Open the torch gas control valve (where fitted).
Lower the electrode down toward the parent metal.
Allow the tip of the tungsten to touch the workpiece and carefully lift again, the arc will be established and welding can commence.
ARC WELDING, FILLER ROD (ELECTRODE) SELECTION – FIG. 12
The correct selection of electrode size and type will vary for each application dependent upon material thickness, material type, amperage and equipment, however as a guide the figures below provide an indication.
| MMA Electrode | Material Thickness | Amp Range |
| ≤1.6mm | 1-1.5mm | ≤50A |
| 2.0mm | 1.2-3mm | 45 – 75A |
| 2.5mm | 2-5mm | 75 – 110A |
| 3.25mm | 4-8mm | 100 – 150A |
With the MMA welding process the arc created between the work piece and the consumable electrode rod melts the parent metal and the filler metal in a weld pool.
The electrode’s flux coating reacts during this process and develops into a shield gas protecting the weld bead.
Part of this reaction leaves a trail of slag which solidifies behind the weld pool protecting the weld as it cools.
The most common varieties of electrodes are cellulosic, rutile and basic, the latter two being the most general purpose.
Selection of the appropriate specification electrode is important to achieve a good quality weld. Seek guidance if unsure of selection.

MMA/ARC MACHINE OPERATION – FIG. 13
Prepare the joint(s) to be welded.
Select the electrode suitable for the application and insert into the electrode holder (14) while pressing lever (14.1).
With the earth clamp and electrode holder connected, connect the machine to the power supply. The power display will illuminate as confirmation. Set the amperage appropriate to the selected electrode size.
Secure the earth clamp to a clean sound section of the parent metal in the vicinity to the intended weld.
With all safety equipment in place and personal protective clothing on begin welding.
Lower the electrode down toward the parent metal and strike the arc.

DIRECTION OF WELD – FIG. 14
Strike the initial arc perpendicular to the parent metal before moving the electrode holder in the direction of travel 20-30° (Z,Y axis) and tilt it 20-30° (Z,X axis).
Maintain a constant gap between the electrode tip and the weld pool of approximately 1 to 1.5 times the diameter of the electrode for a stable arc. This machine is equipped with two additional features ‘Arc Force’ and ‘Anti-Stick’ to ensure smooth welding and reduce the instances of the electrode becoming stuck to the parent metal.

Definition:
ARC FORCE
The machine will automatically create a specific overpower when the electrode is too near, forcing it back to help avoid the risk of sticking.
Definition:
ANTI-STICK
The machine will automatically reduce the intensity of the current in order to aid quick and simple separation of the electrode and parent metal.
The position of the electrode is critical to the arc and the end result. Achieving a good weld will take practice.
For more detailed information refer to a welding book and/or seek training on the subject.
Use of an anti-spatter spray Draper stock No.05709 will help to achieve a cleaner finished weld. This welding power source has a maximum material thickness capability of 5mm.
THERMAL CUT-OUT
If welding for extended periods the thermal cut-out will activate prohibiting use of the machine until sufficiently cool.
Attention: After completion of any welding task leave the unit connected to the power supply for a sufficient period to allow the cooling fan to continue working.
DEFINITION:
DUTY CYCLE:
Duty Cycle is a percentage of 10 mins. in which a machine can operate at a rated load without overheating and interruption from the thermal cut-out device.
Example: 150A @ 30% Duty factor
150A welding for 3 minutes
7 minutes down time
Example: 95A @ 100% Duty factor
95A continuous welding
To increase the operation time, reduce the amperage.
Note: The heating tests have been carried out at ambient temperature and the duty cycle (duty factor) at 20°C has been determined by simulation
Definition:
ARC WELDING:
Fusion welding in which heat for welding is obtained from an electric arc.
Definition:
MANUAL METAL ARC (MMA welding):
Also known as SMAW (Shielded metal arc welding).
Metal-arc welding† with straight covered electrodes of a suitable length and applied by the operator without automatic or semi-automatic means of replacement. No protection in the form of gas from a separate source is applied to the arc or molten pool during welding.
†Arc welding using a consumable electrode.
Definition:
TUNGSTEN INERT-GAS (TIG welding)
Also known as GTAW (Gas tungsten arc welding)
Gas-shielded arc welding using a non-consumable pure or activated tungsten electrode where the shielding is provided by a shroud of inert gas.
Note: Although the tungsten electrode is classed as non-consumable compared to the filler rod type electrode it will be consumed by the TIG process and require re-sharpening and eventually replacing.
Definition:
METAL INERT-GAS (MIG welding)
Also known as GMAW (Gas metal arc welding)
A welding process in which an electric arc forms between a consumable wire electrode and the workpiece metal(s), which heats the workpiece metal(s), causing them to melt, and join. Along with the wire electrode, a shielding gas feeds through the welding gun, which shields the process from contaminants in the air.
TROUBLESHOOTING
WARNING: For your own safety, turn the switch off and remove the plug from the power supply socket.
| PROBLEM | POSSIBLE CAUSE | REQUIRED ACTION |
| Wire not feeding despite wire feed pulley turning. | Dirty current nozzle (contact tip). | Clean. |
| May be an obstruction at the contact tip. | Remove obstruction. | |
| Too low clamping pressure of the wire feed pulley. | Increase the clamping pressure. | |
| Interrupted or disruptive wire supply. | Damaged current nozzle. | Replace. |
| Burnt current nozzle. | Replace. | |
| Dirty driving gear torch liner. | Clean. | |
| Cut on worn driving gear. | Replace. | |
| Electric arc turned off. | Poor contact between earth clamp and part to be welded. | Tighten the pliers and check them, remove paint and rust. |
| Short circuit between current nozzle and gas supply pipe. | Clean or replace the current and gas nozzle, remove dirt, paint and rust. | |
| Too loose current nozzle. | Tighten the current nozzle firmly. | |
| Porous welded joint. | No gas, too little gas or wrong gas. | Achieved via gas regulator flow adjustment assuming gas bottle has enough pressure. |
| Welder suddenly stops working after longer operation. | Welder has overheated due to too long use and the thermal protection has activated. | Let the welder cool down. |
IMPORTANT: Please note all repairs/service should be carried out by a qualified person.
MAINTENANCE
MAINTENANCE
Regular inspection and cleaning reduces the necessity for maintenance operations and will keep your tool in good working condition.
Warning: Remove the plug from the power supply.
Periodically the welder must be checked as detailed below.
- Check the torch cable and ground cable connections.
- Clean the contact tip and the gas shroud with an iron brush. Replace if worn.
- Clean the outside of the welder with a damp cloth.
- Every time the wire spool is replaced:
- Check the alignment, cleanliness and state of wear of the wire roll.
- Remove any metal powder deposited on the wire feeder mechanism and then dry with compressed air.
- Occasionally test to ensure the thermal cut-out device is operating correctly, i.e. weld for an extended period or on a maximum duty cycle.
- Check the condition of the warning labels.
- Replace any worn parts.
- If the replacement of the supply cord is necessary, this has to be done by the manufacturer or his agent to avoid a safety hazard.
The welder must be correctly ventilated during tool operation. Avoid blocking the air inlets and vacuum the ventilation slots regularly.
Do not use solvents or fuels to clean the product. When not in use, store the product in a safe, dry place.
WARRANTY
Draper tools have been carefully tested and inspected before shipment and are guaranteed to be free from defective materials and workmanship.
Should the tool develop a fault, please return the complete tool to your nearest distributor or contact:
Draper Tools Limited
UK: Chandler’s Ford, Eastleigh, Hampshire,
SO53 1YF. England.
EU: Oude Graff 8, 6002 NL Weert (NL).
Telephone Sales Desk: +44 (0)23 8049 4333 or:
Product Helpline +44 (0)23 8049 4344.
A proof of purchase must be provided.
If upon inspection it is found that the fault occurring is due to defective materials or workmanship, repairs will be carried out free of charge. This warranty period covering labour is 12 months from the date of purchase except where tools are hired out when the warranty period is 90 days from the date of purchase. This warranty does not apply to any consumable parts, any type of battery or normal wear and tear, nor does it cover any damage caused by misuse, careless or unsafe handling, alterations, accidents, or repairs attempted or made by any personnel other than the authorised Draper warranty repair agent.
Note: If the tool is found not to be within the terms of warranty, repairs and carriage charges will be quoted and made accordingly.
This warranty applies in lieu of any other warranty expressed or implied and variations of its terms are not authorised.
Your Draper warranty is not effective unless you can produce upon request a dated receipt or invoice to verify your proof of purchase within the warranty period.
Please note that this warranty is an additional benefit and does not affect your statutory rights.
Draper Tools Limited.
DISPOSAL
- At the end of the machine’s working life, or when it can no longer be repaired, ensure that it is disposed of according to national regulations.
- Contact your local authority for details of collection schemes in your area.
In all circumstances:
- Do not dispose of power tools with domestic waste.
- Do not incinerate.
- Do not dispose of WEEE* as unsorted municipal waste.

Waste Electrical & Electronic Equipment.



















