SHURE BLX Wireless Dual Vocal System

System Components
Note: Your system comes with a combination of the following components.
- BLX1 Bodypack Transmitter
- BLX2 Handheld Transmitter (choice of SM58, BETA58A, or PG58)
- BLX4 Wireless Receiver
- BLX88 Dual Wireless Receiver
- PS24 Power Supply
- Lavalier microphone (choice of PG185, WL185 or WL93)
- Headworn microphone (choice of PG30, SM31FH or SM35)
- MX153 Earset microphone
- Instrument microphone (BETA98H/C)
- Guitar cable (WA302)
Quick Start Guide
- .
- Connect receiver to power source.

- Connect receiver to mixer or amplifier. Hold power button to turn on.

- Connect receiver to power source.
- Press group button on receiver to perform a group scan.

- .
- Install batteries and turn on transmitter.

- On the transmitter, set the group and channel to match the receiver. The audio LED on the receiver should illuminate.
If setting up additional systems, leave the first transmitter and receiver on. For each additional receiver, manually set the group to match the first receiver. Note: The receiver will automatically perform a channel scan to find an available frequency after the group has been selected. Set the transmitter frequency to match the receiver.
- Install batteries and turn on transmitter.
- If sound is too faint or distorted, adjust the gain accordingly.

Features
Front Panel
BLX4
BLX88
- audio LED
Indicates strength of incoming audio signal: green for normal and red for overload. - ready LED
Green light indicates system is ready for use and receiving transmitter signal. - LED Display
Displays group and channel setting. - group and channel Buttons
Scan: Push and release group button to scan for an open group and channel.
Manual: Push and hold group button to select a group. Push channel button to select a channel in the current group. - power Button
Push and hold to turn power on or off.
Back Panel
BLX4
BLX88
- DC Power Jack
- Adapter Cord Tie-Off
- XLR microphone output jack (MIC out)
- 6.35 mm (1/4″) instrument level output jack (instrument out)
BLX1
- LED Indicator
Displays power and battery status (see Transmitter LED Indicators). - power Switch
Toggles power on or off. - 4-Pin Microphone Input Jack (TA4 connector)
- Antenna
- group Button
Changes group setting. - LED Display
Displays group and channel setting. - channel Button
Changes channel setting. - Battery Compartment
- Audio Gain Adjustment
Rotate to increase or decrease transmitter gain.
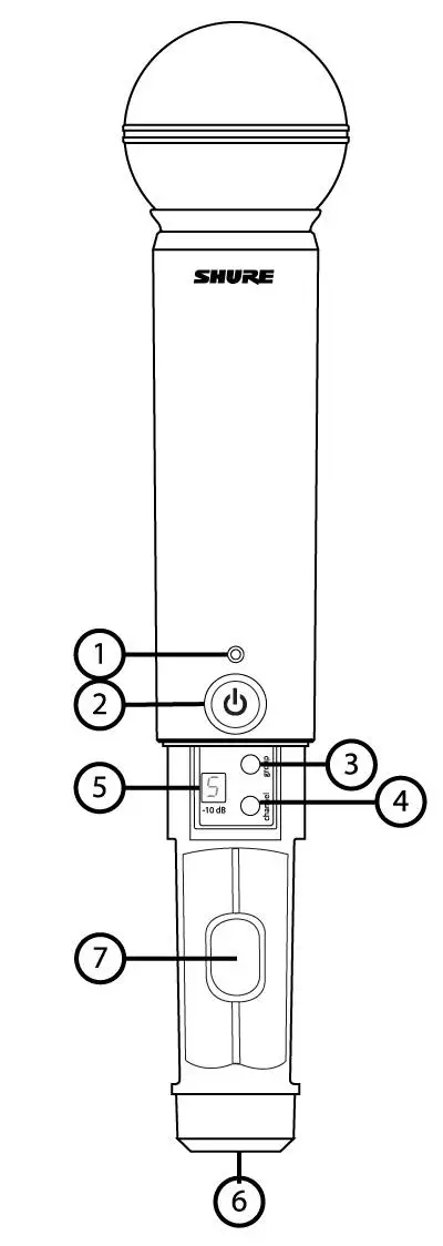
BLX2
- LED Indicator
Displays power and battery status (see Transmitter LED Indicators). - power Button
Push to turn power on or off. - group Button
Changes group setting. - channel Button
Changes channel and gain setting. - LED Display
Displays group and channel setting. - Identification Cap
- Battery Compartment
Transmitter LED Indicators
| LED Indicator | Status |
| Green | Ready |
| Rapidly Flashing Red | Controls locked |
| Solid Red | Battery power low (less than 1 hour remaining*) |
| Flashing Red and shuts off | Batteries dead (change batteries to power on transmitter) |
*For alkaline batteries only. For rechargeable batteries, solid red means the batteries are dead.
Single System Set Up

Before you begin, turn off all transmitters and turn on any equipment (other microphones or personal monitoring systems) that could cause interference during the performance.
- Press and release the group button on the receiver.
The receiver scans for the clearest group and channel.
Note: If you want to stop the scan, push the group button again. - Turn on the transmitter and change the group and channel to match the receiver (See Setting Transmitter Group and Channel).
Once the system is set up, perform an audio check and adjust the gain if necessary.
Setting Transmitter Group and Channel
The Transmitter group and channel must be manually set to match the receiver.
Group (letter)
- Press and release the group button on the transmitter to activate the display. Press the group button again and the display flashes.
- While the display is flashing, press the group button again to advance to the desired group setting.
Channel (number)
If channel needs to be changed, follow the same procedure using the channel button instead of the group button.
Note:
- When the group and channel correctly match the receiver, the ready LED on receiver illuminates.
- After manual setup, the transmitter alternately displays the group and channel setting for about two seconds.

Multiple System Setup
Up to 12 systems can operate simultaneously (band and RF environment dependent).
Important: Set up each system one at a time. Once a receiver and transmitter are tuned to the same group and channel, leave the transmitter powered on. Otherwise, scans from the other receivers will not detect that channel as occupied. For the BLX88, be sure to setup both transmitters before progressing to the next receiver.
Turn on any other equipment that could cause interference during the performance so it will be detected during the group and channel scans in the following steps.
Before you begin system set up, turn all receivers ON and all transmitters OFF.
For the first receiver:
- Perform a group scan.
This finds the group with the clearest channels.
Note: For the BLX88, the group scan sets up both receivers at the same time. - Turn on the first transmitter and change the group and channel to match the receiver.
- Leave the transmitter on and continue with the additional systems.
Note: If the selected group does not contain enough open channels, manually select group “d” when setting up larger systems.
For each additional receiver:
- Use manual setup to change the receiver to match the group setting of the first receiver. Recall that each time the group setting is changed, a channel scan is automatically done.
- Turn on the transmitter and change the group and channel to match the receiver.
- Leave the transmitter on and continue to the next system.
- Once all receivers are set up, perform an audio check on all microphones.
Manually Setting Receiver Group and Channel
The receiver group may need to be changed as part of a multiple system setup.
Group (letter)
- Hold the group button on the receiver until the display begins to flash.
- While the display is flashing, press the group button again to advance to the next group.
Note: Only the group setting will be displayed during the manual setup. - Once the desired group is reached, release the group button. The receiver automatically performs a channel scan.
Channel (number)
Always use a channel selected by the channel scan. However, if necessary, the channel can be set manually. Follow the same steps above using the channel button instead of the group button.
Locking and Unlocking Controls
Lock system controls to prevent accidental setting changes or power off.
Transmitter (lock/unlock)
Turn the transmitter on. Hold the group button, then press the channel button for approximately 2 seconds. The LED indicator rapidly flashes red when locked.
Receiver (lock/unlock)
Turn the receiver on. Simultaneously hold the group and channel button. The display flashes rapidly.
- When locked, the display flashes rapidly if any key is pressed.
- The BLX88 locks on both sides when locked from either side.
Tips to Improve Wireless System Performance
If you encounter interference or dropouts, try the following suggestions:
- Choose a different receiver channel
- Reposition the receiver so there is nothing obstructing a line of sight to the transmitter (including the audience)
- Avoid placing transmitter and receiver where metal or other dense materials may be present
- Move the receiver to the top of the equipment rack
- Remove nearby sources of wireless interference, such as cell phones, two-way radios, computers, media players, Wi-Fi devices, and digital signal processors
- Charge or replace the transmitter battery
- Keep transmitters more than two meters (6 feet) apart
- Keep the transmitter and receiver more than 5 meters (16 feet) apart
- During sound check, mark trouble spots and ask presenters or performers to avoid those areas
Getting Good Sound
Correct Microphone Placement

- Hold the microphone within 12 inches from the sound source. For a warmer sound with increased bass presence, move the microphone closer.
- Do not cover grille with hand.
Wearing the Headworn Microphone
- Position the headworn microphone 13 mm (1/2 in.) from the corner of your mouth.
- Position lavalier and headworn microphones so that clothing, jewelry, or other items do not bump or rub against the microphone.

Adjusting Gain
Monitor the audio LED indicator on the receiver front panel when setting the transmitter gain.
- Green: normal levels
- Red: excessive sound levels (overload).
The red LED should only illuminate infrequently when you speak loudly or play your instrument loudly.
BLX1
Rotate the audio gain adjustment to increase (+) or decrease (−) the gain until desired level is reached. For instruments, turn gain to minimum setting. For lavaliers, increase the gain as desired.
BLX2
The BLX2 features two gain level settings, default and attenuated (-10 dB). The default setting is used for most situations. If the receiver audio LED flickers red often, set the microphone to attenuated. Use the channel button to change the gain setting.
- Hold down the channel button for 5 seconds.
A dot appears on the lower righthand corner of the LED display, which indicates −10 dB gain setting has been activated. - To change the gain back to default, hold the channel button again for 5 seconds, or until the dot disappears.

Batteries
Expected life for AA batteries is up to 14 hours (total battery life varies depending upon battery type and manufacturer). When the LED indicator turns red, it signifies “low battery” with approximately 60 minutes of remaining battery life.
For alkaline batteries only. For rechargeable batteries, solid red means the batteries are dead.
To remove batteries from the handheld transmitter, push them out through the opening in the microphone battery compartment.
WARNING: Battery packs shall not be exposed to excessive heat such as sunshine, fire, or the like.
Wearing the Bodypack Transmitter
Clip the transmitter to a belt or slide a guitar strap through the transmitter clip as shown. For best results, the belt should be pressed against the base of the clip.
Power Off
Hold down the power button to power off the BLX2 or BLX4/88. To power off the BLX1, slide the power toggle switch to OFF.
Removing and Installing Identification Caps
The BLX2 is equipped with a black identification cap from the factory (dual vocal systems ship with additional gray cap).
To remove: Remove battery cover. Squeeze sides and pull off cap.
To install: Align the cap and click into place. Replace battery cover.
An Identification Cap Kit containing assorted colored caps is available as an optional accessory.
Troubleshooting
| Issue | Indicator Status | Solution |
|
No sound or faint sound |
Receiver ready LED on | Verify all sound system connections or adjust gain as needed (see Adjusting Gain) Verify that the receiver is connected to mixer/amplifier |
|
Receiver ready LED off | Turn on transmitter Make sure the batteries are installed correctly Perform transmitter setup (see Single System Setup) Insert fresh batteries | |
|
Receiver LED screen off | Make sure DC adapter is securely plugged into electrical outlet. Make sure receiver is powered on. |
| Issue | Indicator Status | Solution |
| Transmitter indicator LED flashing red | Replace transmitter batteries (see Changing Batteries). | |
|
Audio artifacts or dropouts |
Ready LED flickering or off | Change receiver and transmitter to a different group and/ or channel. Identify nearby sources of RF interference, and shut down or remove source. Replace transmitter batteries. Ensure that receiver and transmitter are positioned with in system parameters System must be set up within recommended range and receiver kept away from metallic surfaces. Transmitter must be used in line of sight from receiver for optimal sound |
| Distortion | Audio LED on receiver indi cates overload (red) | Reduce transmitter gain (see Adjusting Gain). |
| Sound level variations when switching to different sources | N/A | Adjust transmitter gain as necessary (see Adjusting Gain). |
| Receiver/transmitter won’t turn off | LED/display flashing rapidly | See Locking and Unlocking Controls. |
Frequency Range and Transmitter Output Level
| Band | Range | Output Power |
| G18 | 470 to 494 MHz | 10 mW |
| H8 | 518 to 542 MHz | 10 mW |
| H8E | 518 to 542 MHz | 10 mW |
| H9 | 512 to 542 MHz | 10 mW |
| H10 | 542 to 572 MHz | 10 mW |
| H10E | 542 to 572 MHz | 10 mW |
| H11 | 572 to 596 MHz | 10 mW |
| H62 | 518 to 530 MHz | 10 mW |
| J10 | 584 to 608 MHz | 10 mW |
| J11 | 596 to 616 MHz | 10 mW |
| K3E | 606 to 630 MHz | 10 mW |
| Band | Range | Output Power |
| K12 | 614 to 638 MHz | 10 mW |
| K14 | 614 to 638 MHz | 10 mW |
| L27 | 674 to 698 MHz | 10 mW |
| M15 | 662 to 686 MHz | 10 mW |
| M17 | 662 to 686 MHz | 10 mW |
| M18 | 694 to 703 MHz | 10 mW |
| M19 | 694 to 703 | 10 mW |
| Q12 | 748 to 758 | 10 mW |
| Q24 | 748 to 758 MHz | 10 mW |
| Q25 | 742 to 766 MHz | 10 mW |
| R12 | 794 to 806 MHz | 10 mW |
| S8 | 823 to 832 MHz | 10 mW |
| T11 | 863 to 865 MHz | 10 mW |
Note: Frequency bands might not be available for sale or authorized for use in all countries or regions.
NOTE: This Radio equipment is intended for use in musical professional entertainment and similar applications. This Radio apparatus may be capable of operating on some frequencies not authorized in your region. Please contact your national authority to obtain information on authorized frequencies and RF power levels for wireless microphone products.
Specifications
System
Working Range
91 m (300 ft) Line of Sight
Note: Actual range depends on RF signal absorption, reflection and interference.
Audio Frequency Response
50 to 15,000 Hz
Note: Dependent on microphone type
Total Harmonic Distortion
Ref. ±33 kHz deviation with 1 kHz tone
0.5%, typical
Dynamic Range
100 dB, Aweighted, typical
Operating Temperature
-18°C (0°F) to 57°C (135°F)
Note: Battery characteristics may limit this range.
Polarity
Positive pressure on microphone diaphragm (or positive voltage applied to tip of WA302 phone plug) produces positive voltage on pin 2 (with respect to pin 3 of lowimpedance output) and the tip of the high impedance 1/4-inch output.
BLX1
Audio Input Level
| max | 16 dBV maximum |
| min (0 dB) | +10 dBV maximum |
Gain Adjustment Range
26 dB
Input Impedance
1 MΩ
RF Transmitter Output
10 mW, typical
varies by region
Dimensions
4.33 in. X 2.52 in. X 0.83 in. (110 mm X 64 mm X 21 mm) H x W x D
Weight
2.6 oz. (75 g), without batteries
Housing
Molded ABS
Power Requirements
2 LR6 AA batteries, 1.5 V, alkaline
Battery Life
up to 14 hours (alkaline)
BLX2
Audio Input Level
| 0dB | 20 dBV maximum |
| -10dB | 10 dBV maximum |
Gain Adjustment Range
10 dB
RF Transmitter Output
10 mW, typical
varies by region
Dimensions
8.82 in. X 2.09 in. (224 mm X 53 mm) L x Dia.
Weight
7.7 oz. (218 g) without batteries
Housing
Molded ABS
Power Requirements
2 LR6 AA batteries, 1.5 V, alkaline
Battery Life
up to 14 hours (alkaline)
BLX4
Output Impedance
| XLR connector | 200 Ω |
| 6.35 mm (1/4″) connector | 50 Ω |
Audio Output Level
Ref. ±33 kHz deviation with 1 kHz tone
| XLR connector | –27 dBV (into 100 kΩ load) |
| 6.35 mm (1/4″) connector | –13 dBV (into 100 kΩ load) |
RF Sensitivity
105 dBm for 12 dB SINAD, typical
Image Rejection
>50 dB, typical
Dimensions
1.57 in. X 7.40 in. X 4.06in. (40 mm X 188 mm X 103 mm) H x W x D
Weight
8.5 oz. (241 g)
Housing
Molded ABS
Power Requirements
12–15 V DC @ 235 mA (BLX88, 320 mA), supplied by external power supply (tip positive)
BLX88
Output Impedance
| XLR connector | 200 Ω |
| 6.35 mm (1/4″) connector | 50 Ω |
Audio Output Level
Ref. ±33 kHz deviation with 1 kHz tone
| XLR connector | –27 dBV (into 100 kΩ load) |
| 6.35 mm (1/4″) connector | –13 dBV (into 100 kΩ load) |
RF Sensitivity
105 dBm for 12 dB SINAD, typical
Image Rejection
>50 dB, typical
Dimensions
1.50 in. X 12.13 in. X 3.98in. (38 mm X 308 mm X 101 mm) H x W x D
Weight
15.1 oz. (429 g)
Housing
Molded ABS
Power Requirements
12–15 V DC @ 235 mA (BLX88, 320 mA), supplied by an external power supply (tip positive)
IMPORTANT SAFETY INSTRUCTIONS
- READ these instructions.
- KEEP these instructions.
- HEED all warnings.
- FOLLOW all instructions.
- DO NOT use this apparatus near water.
- CLEAN ONLY with dry cloth.
- DO NOT block any ventilation openings. Allow sufficient distances for adequate ventilation and install in accordance with the manufacturer’s instructions.
- DO NOT install near any heat sources such as open flames, radiators, heat registers, stoves, or other apparatus (including amplifiers) that produce heat. Do not place any open flame sources on the product.
- DO NOT defeat the safety purpose of the polarized or grounding type plug. A polarized plug has two blades with one wider than the other. A grounding-type plug has two blades and a third grounding prong. The wider blade or the third prong are provided for your safety. If the provided plug does not fit into your outlet, consult an electrician for replacement of the obsolete outlet.
- PROTECT the power cord from being walked on or pinched, particularly at plugs, convenience receptacles, and the point where they exit from the apparatus.
- ONLY USE attachments/accessories specified by the manufacturer.
- USE only with a cart, stand, tripod, bracket, or table specified by the manufacturer, or sold with the apparatus. When a cart is used, use caution when moving the cart/apparatus combination to avoid injury from tip-over.
- UNPLUG this apparatus during lightning storms or when unused for long periods of time.
- REFER all servicing to qualified service personnel. Servicing is required when the apparatus has been damaged in any way, such as power supply cord or plug is damaged, liquid has been spilled or objects have fallen into the apparatus, the apparatus has been exposed to rain or moisture, does not operate normally, or has been dropped.
- DO NOT expose the apparatus to dripping and splashing. DO NOT put objects filled with liquids, such as vases, on the apparatus.
- The MAINS plug or an appliance coupler shall remain readily operable.
- The airborne noise of the Apparatus does not exceed 70dB (A).
- Apparatus with CLASS I construction shall be connected to a MAINS socket outlet with a protective earthing connection.
- To reduce the risk of fire or electric shock, do not expose this apparatus to rain or moisture.
- Do not attempt to modify this product. Doing so could result in personal injury and/or product failure.
- Operate this product within its specified operating temperature range.
| This symbol indicates that dangerous voltage constituting a risk of electric shock is present within this unit. | |
| This symbol indicates that there are important operating and maintenance instructions in the literature accom paying this unit. |
WARNING: Danger of explosion if incorrect battery replaced. Operate only with AA batteries.
Certifications
Meets essential requirements of the following European Directives:
- WEEE Directive 2012/19/EU, as amended by 2008/34/EC
- RoHS Directive EU 2015/863
Note: Please follow your regional recycling scheme for batteries and electronic waste
This product meets the Essential Requirements of all relevant European directives and is eligible for CE marking.
CE Notice: Hereby, Shure Incorporated declares that this product with CE Marking has been determined to be in compliance with European Union requirements. The full text of the EU declaration of conformity is available at the following site: https://www.shure.com/en-EU/support/declarations-of-conformity.
Authorized European representative:
Shure Europe GmbH
Department: Global Compliance
Jakob-Dieffenbacher-Str. 12
75031 Eppingen, Germany
Phone: +49-7262-92 49 0
Fax: +49-7262-92 49 11 4
Email: [email protected]
Certified under FCC Part 74.
- DD4BLX1A, DD4BLX1B, DD4BLX1C, DD4BLX1D; DD4BLX2A, DD4BLX2B, DD4BLX2C, DD4BLX2D, DD4BLX1W, DD4BLX1S, DD4BLX2W, DD4BLX2S, DD4BLX1H11, DD4BLX2H11, DD4BLX1J11, DD4BLX2J11
Certified by ISED in Canada under RSS-102 and RSS-210.
- 616A-BLX1A, 616A-BLX1B, 616A-BLX1C, 616A-BLX1D; 616A-BLX2A, 616A-BLX2B, 616A-BLX2C, 616A-BLX2D, 616A-BLX1H11, 616A-BLX2H11, 616A-BLX1J11, 616A-BLX2J11
Certified by ISED in Canada under RSS-123 and RSS-102.
- 616A-BLX1W, 616A-BLX1S, 616A-BLX2W, 616A-BLX2S
Important Product Information
LICENSING INFORMATION
Licensing: A ministerial license to operate this equipment may be required in certain areas. Consult your national authority for possible requirements. Changes or modifications not expressly approved by Shure Incorporated could void your authority to operate the equipment. Licensing of Shure wireless microphone equipment is the user’s responsibility, and licensability depends on the user’s classification and application, and on the selected frequency. Shure strongly urges the user to contact the appropriate telecommunications authority concerning proper licensing, and before choosing and ordering frequencies.
Information to the user
This device complies with part 15 of the FCC Rules. Operation is subject to the following two conditions:
- This device may not cause harmful interference.
- This device must accept any interference received, including interference that may cause undesired operation.
Note: This equipment has been tested and found to comply with the limits for a Class B digital device, pursuant to part 15 of the FCC Rules. These limits are designed to provide reasonable protection against harmful interference in a residential installation. This equipment generates uses and can radiate radio frequency energy and, if not installed and used in accordance with the instructions, may cause harmful interference to radio communications. However, there is no guarantee that interference will not occur in a particular installation. If this equipment does cause harmful interference to radio or television reception, which can be determined by turning the equipment off and on, the user is encouraged to try to correct the interference by one or more of the following measures:
- Reorient or relocate the receiving antenna.
- Increase the separation between the equipment and the receiver.
- Connect the equipment to an outlet on a circuit different from that to which the receiver is connected.
- Consult the dealer or an experienced radio/TV technician for help.
Canada Warning for Wireless
This device operates on a noprotection, nointerference basis. Should the user seek to obtain protection from other radio services operating in the same TV bands, a radio license is required. For further details, consult Innovation, Science and Economic Development Canada’s document Client Procedures Circular CPC2128, Voluntary Licensing of LicenceExempt LowPower Radio Apparatus in the TV Bands.
Ce dispositif fonctionne selon un régime de non‑brouillage et de non‑protection. Si l’utilisateur devait chercher à obtenir une certaine protection contre d’autres services radio fonctionnant dans les mêmes bandes de télévision, une licence radio serait
requise. Pour en savoir plus, veuillez consulter la Circulaire des procédures concernant les clients CPC‑2‑1‑28, Délivrance de licences sur une base volontaire pour les appareils radio de faible puissance exempts de licence et exploités dans les bandes
de télévision d’Innovation, Sciences et Développement économique Canada.
This device contains licenceexempt transmitter(s)/receiver(s) that comply with Innovation, Science and Economic Development Canada’s licenceexempt RSS(s). Operation is subject to the following two conditions:
- This device may not cause interference.
- This device must accept any interference, including interference that may cause undesired operation of the device.
Industry Canada ICES-003 Compliance Label: CAN ICES-3 (B)/NMB-3(B)
Note: EMC conformance testing is based on the use of supplied and recommended cable types. The use of other cable types may degrade EMC performance.
Changes or modifications not expressly approved by the manufacturer could void the user’s authority to operate the equipment.
Australia Warning for Wireless
This device operates under an ACMA class licence and must comply with all the conditions of that licence including operating frequencies. Before 31 December 2014, this device will comply if it is operated in the 520-820 MHz frequency band. WARNING: After 31 December 2014, in order to comply, this device must not be operated in the 694-820 MHz band.





If setting up additional systems, leave the first transmitter and receiver on. For each additional receiver, manually set the group to match the first receiver. Note: The receiver will automatically perform a channel scan to find an available frequency after the group has been selected. Set the transmitter frequency to match the receiver.





















