Simplicity S100 Sport Portable Vacuum Cleaner Owner’s Manual
IMPORTANT SAFETY INSTRUCTIONS
When using an electrical appliance, basic precautions should always be followed, including the following:
IMPORTANT: The manufacturer cannot accept responsibility for damage caused when the appliance is not used according to the instructions, or for uses other than those for which it was intended.
WARNING: To reduce the risk of fire, electric shock, damage or injury:
- Do not leave appliance when plugged in.
Unplug from outlet when not in use and before servicing. - WARNING: ELECTRIC SHOCK COULD OCCUR IF USED OUTDOORS OR ON WET SURFACES.
- Do not allow to be used as a toy.
Close attention is necessary when used by or near children. - Use only as described in this manual.
Use only manufacturer’s recommended attachments. - Do not use with damaged cord or plug.
If appliance is not working as it should, has been dropped, damaged, left outdoors, or dropped into water, return it to your Authorized Retailer for service. - Do not pull or carry by cord, use cord as a handle, close a door on the cord, or pull cord around sharp edges or corners.
Do not run appliance over cord.
Keep cord away from heated surfaces. - Do not unplug by pulling on cord.
To unplug, grasp the plug, not the cord. - Do not handle plug or appliance with wet hands.
- Do not put any object into openings.
Do not use with any opening blocked; keep free of dust, lint, hair and anything that may reduce air flow. - Keep hair, loose clothing, fingers and all parts of body away from openings and moving parts.
- Do not pick up anything that is burning or smoking, such as cigarettes, matches or hot ashes.
- Do not use without vacuum bag and/or filter in place.
- Turn off all controls before unplugging.
- Use extra care when cleaning on stairs.
- Do not use to pick up flammable or combustible liquids, such as gasoline, or use in areas where they may be present.
- Do not attempt to service the unit while appliance is plugged in.
POLARIZATION INSTRUCTIONS
Power Cord, 2-Wire Polarized Cord
To reduce the risk of electric shock, this product is equipped with a polarized alternating current line plug (a plug having one blade wider than the other).
This plug will fit into the power outlet only one way.
This is a safety feature.
If you are unable to insert the plug fully into the outlet, try reversing the plug. If the plug should still fail to fit, contact a qualified electrician to replace the obsolete outlet.
Do not defeat the safety purpose of the polarized plug.
DESCRIPTION OF THE VACUUM
- Carrying Handle
- Blower Exhaust Port
- Crevice Tool
- Deluxe Dusting Brush
- Shoulder Strap
- Upholstery Tool
- Mesh Bag
- Bag Compartment Cover and Retaining Latch
- Suction Intake Port
- Suction Relief Ring
- Hose Assembly
- Main On/Off Power Switch
- Extension Wands
- Rug/Floor Tool


OPERATION
Turning the Vacuum On/Off (Fig. 1)
- To start the vacuum cleaner, flip the “On/Off” switch located on the handle to the “On” (I) position.
- To stop the vacuum cleaner, flip the “On/Off” switch to the “Off” (O) position.
- Turn the vacuum cleaner off before unplugging from the electrical outlet.
Carrying the Vacuum (Fig. 2)
To safely transport your vacuum use the carry handle and/or the shoulder strap.
Vacuuming Floors
With the cleaning tools and vacuum wands, your vacuum is a comprehensive cleaning system.
- Attach the vacuum hose to the suction intake port and twist to lock into place (Fig. 3).

- Attach the extension wand(s) to the curved handle end of the hose (Fig. 4).

- Attach the rug/floor tool to the end of the extension wand(s) for cleaning floors and area rugs (Fig. 5).

NOTE: You can connect any of the cleaning tools to the end of the extension wand(s) and twist for a secure fit.
To remove the cleaning tool from the extension wand(s) simply twist and pull apart.
ATTACHMENT CLEANING
Cleaning Tools
Your vacuum is equipped with a deluxe dusting brush, upholstery tool and crevice tool.
- Attach the vacuum hose to the suction intake port and twist to lock into place (Pg. 7, Fig. 3).
- Attach the extension wand(s) to the curved handle end of the hose (Pg. 7, Fig. 4).
- Insert any of the tools onto the end of the wand(s).
Tools can be attached directly to the vacuum hose when the extension wands are not needed.
Dusting Brush (Fig. 6)
Ideal for table tops, shelves, blinds or baseboards.
Upholstery Tool (Fig. 7)
Ideal for soft surfaces like chairs and couches.
Crevice Tool (Fig. 8)
Ideal for tight places like between seat cushions or corners.
Adjusting the Suction Power for Tool Cleaning (Fig. 9)
On the hose handle, locate the suction relief ring and turn it to the desired position.
This reduces the suction power coming through the hose.
Close the suction relief ring when finished to restore full suction power.
Using the Blower Exhaust Port
Attach the vacuum hose to the blower exhaust port (Fig. 10).
MAINTENANCE AND CARE
Replacing the Vacuum Bag
- Turn the vacuum over. Lift up the cover retaining clip to remove the cover (Fig. 11).

- Remove and discard the used bag.
- Install a new bag with the arrow on the cardboard pointing to the top of the vacuum (Fig. 12).

- Replace the cover and close the retaining latch.
NOTE: The vacuum bag cannot be reused.
When to Change the Filter
At a minimum, it’s recommended to replace the filters once a year or after using 12 vacuum bags, whichevercomes first.
If someone in your household is sensitive to airborne allergens, it is recommended to change the filter after every six vacuum bags.
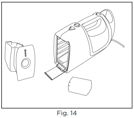
Replacing the Charcoal Filter
- Turn the vacuum over. Lift up the cover retaining clip to remove the cover (Fig. 13).

- Remove the bag (Fig. 14).

- Remove and discard the used filter from the inside back wall of the vacuum.
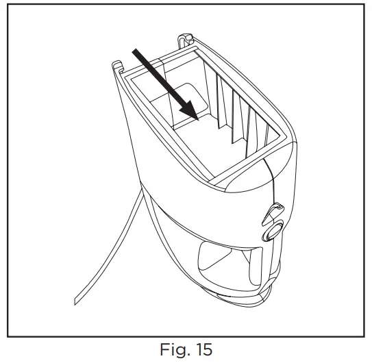
- Place the new charcoal filter in the back wall of the vacuum.
It should fit snugly against the inside wall of the vacuum (Fig. 15).
- Replace the vacuum bag.
- Replace the cover and close the retaining latch.
Troubleshooting
| PROBLEM | CHECK POINT | POSSIBLE SOLUTION |
| Vacuum won’t turn on |
|
|
|
| |
|
| |
| Vacuum won’t pick up or low suction |
|
|
|
| |
|
| |
| Dust escaping from vacuum |
|
|
|
| |
|
|
Any other service should be performed by an Authorized Simplicity Vacuum Retailer.
To locate your nearest Authorized Retailer, visit our website at SimplicityVac.com or call 888-974-6759.
Key Replacement Parts
- Genuine package of 6 paper bags and 1 filter Part # SS-6
For Best Performance
- Keep machine and all accessories clean and in good operating condition.
- Change vacuum bag and filter as recommended to maintain optimum cleaning efficiency.
- Always use genuine bags, filters and parts, as use of other products may result in poor cleaning or filtration performance.
Simplicity filtration products are designed for maximum performance. - Have machine checked periodically by the retailer where you purchased your Simplicity vacuum.
- Store machine carefully in dry area.
- For optimum cleaning performance and safety, follow your owner’s manual.
WARRANTY
What is Covered:
This warranty covers any defects in material and workmanship in the vacuum.
How Long Coverage Lasts:
Warranty coverage for the Simplicity Sport vacuum lasts one year.
Domestic models used commercially are only guaranteed for 90 days.
What is Not Covered:
- Damage to the vacuum which occurs from neglect, abuse, alterations, accident, misuse or improper maintenance.
- Normal replacement items: disposable bags and disposable filters.
What We Will Do:
This warranty provides, at no cost to you, all labor and parts to keep this vacuum in correct operating condition during the warranted period.
How to Get Service:
Warranty service can only be obtained by presenting the vacuum to an Authorized Simplicity Retailer.
A proof-of-purchase and product serial number will be required before service is rendered.
To locate your nearest service center, please call 888-974-6759 or visit SimplicityVac.com.
THIS WARRANTY IS EXCLUSIVE AND IN LIEU OF ANY AND ALL OTHER WARRANTIES WHETHER WRITTEN, ORAL, EXPRESSED OR IMPLIED, (INCLUDING ANY WARRANTY OF MERCHANTABILITY OR FITNESS FOR A PARTICULAR
PURPOSE).
THIS WARRANTY DISCLAIMS LIABILITY FOR INCIDENTAL OR CONSEQUENTIAL DAMAGES.
How State Law Applies:
This warranty gives you specific legal rights, and you may also have other rights which vary from state to state.
Owner’s Warranty Information (keep this for your records…)
Register your warranty online at: SimplicityVac.com
CUSTOMER SUPPORT
888-974-6759
1760 Gilsinn Lane
Fenton, MO 63026
Simplicityvac.com


























