Kraus KAG-1 Dishwasher Air Gap

Congratulations on the purchase of your new Kraus plumbing fixture!
Please keep the box and packaging materials until your product is completely installed. If you have any questions, require technical assistance, or have any problems with your product:
STOP: DO NOT RETURN TO STORE
Please contact our Customer Service Team
1-800-775-0703 / [email protected]
Have the model number available, and retain a copy of your receipt with purchase date for reference. If for any reason this product does not meet your expectations, please be sure to repack this product in the original box and packaging material to avoid damage during transit.
PRIOR TO INSTALLATION
- Make sure you have all necessary parts by checking the diagram and parts list. If any part is missing or damaged, please contact Kraus Customer Service at 800-775-0703 for a replacement
- Pre-drilled hole size requirement: 1 3/8”
- Max countertop thickness: 1 1/4”
For technical assistance or replacement parts, please contact Kraus Customer Service and one of our representatives will be happy to help:
Toll-Free: 800.775.0703 or [email protected]
The step-by-step guidelines in the installation instructions are a general reference for installing a Kraus Sink. Should there be any discrepancies, Kraus cannot be held liable. It is recommended to install all Kraus products by hiring a licensed professional.
Diagram and Parts List:
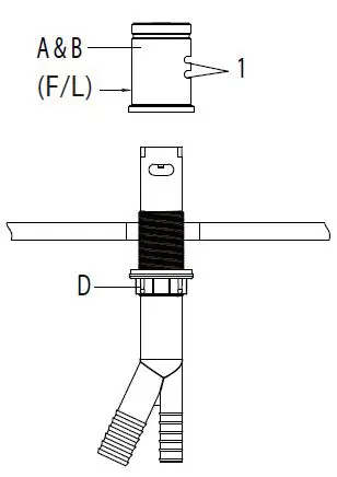
- A. Cap
- B. Nut & Washer
- C. Washer
- D. Nut
- D. Air Gap Body
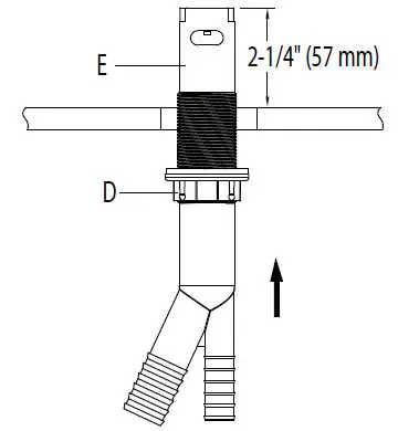
Dimension
- Step 1
Remove the cap (A) and nut & washer (B).Remove the cap (A) and nut & washer (B).Remove the cap (A) and nut & washer (B).Remove the cap (A) and nut & washer (B).
- Step 2
Insert the air gap body (E) through the sink deck hole, leaving approximately 2-1/4″ (57 mm) of the body showing above sink deck. (Back the nut (D) down if necessary).
- Step 3
Thread the cap (A) and the nut & washer (B) fully onto body, with the slotted vents (1) facing the wall. Tighten the nut (D) firmly.
Note: The air gap is to be installed so that the flood level mark (F/L) shall be at or above the flood level of the sink or other receptacle which may be connected to the sanitary drain into which the air gap discharges.
Step 4
Connect the dishwasher outlet hose (5/8 ” I.D.) (1) to air gap inlet (smaller diameter leg) (2) and to dishwasher outlet (3) using hose clamps (4). Connect the drain hose (7/8 ” I.D.) (5) to air gap outlet (larger dimension leg) (6) and to “Y” fitting (7) or disposer (8) using hose clamps. (1, 3, 4, 5, 7, 8 are not included).
Replacement Parts
| Replacement Parts List | Finish / Color | Part # |
| 1. Cap | CH, SFS, MB, ORB, BG, SB, BB, SFACB, SFSB* | KP27179 (For KAG-1) |
| KP27180 (For KAG-2) | ||
| 2. Nut & Washer | KP27192 | |
| 3. Washer | KP27182 | |
| 4. Nut | KP27181 | |
*Denotes faucet component color options: CH – Polished Chrome
- SFS – Spot Free Stainless Steel
- MB – Matte Black
- ORB – Oil Rubbed Bronze
- BG – Brushed Gold
- SB – Black Stainless
BB – Brushed Brass - SFACB – Spot Free Antique Champagne Bronze SFSB – Spot Free Black Stainless
Kitchen Accessories Warranty
Kraus products are manufactured and tested to the highest quality standards by Kraus USA Inc. (“Kraus”). Kraus extends this warranty to the original purchaser for personal household use of the “Kitchen Accessories” in their original location. The warranty is non-transferable. Kraus warrants the structure and finish of the product (Kitchen Accessories) to be free from defects in material and workmanship under normal usage for a period of one (1) years. The warranty commences from the initial date of purchase by the owner or trade professional, from an authorized Kraus dealer, through the one (1) year term of the original owner or end-user. Any product reported to the authorized dealer or to Kraus as being defective within the warranty period will be repaired or replaced with a product of equal value at the option of Kraus. This warranty extends to the original owner or end-user, and is not transferable to a subsequent owner.
Restrictions
This warranty does not cover antediluvian, discontinued, or display products, whether such items are purchased at discount outlets, unauthorized dealers, and/or sold on clearance. This warranty does not cover instances of negligence, misuse, abuse, improper installation, carelessness, accident, hard water or mineral deposits, exposure to corrosive materials, misapplication, damages caused by improper maintenance, alteration of the product, or failure to follow care or installation instructions enclosed with your product. Avoid using abrasive cleaners such as powders, bleach, ammonia, alcohol, or chlorine. Avoid using abrasive pads, steel wool, or wire brushes, as these will damage and wear down the finish. This warranty does not apply unless the Kraus product is installed by a fully insured and licensed trade professional. Kraus insists that such professionals have experience in the installation of bathroom and kitchen manufactured goods. This warranty does not cover labor charges or costs of removal and reinstallation of said product. This warranty does not allow recovery of incidental or consequential damages such as loss of use, delay, property damage, or other consequential damages, and Kraus accepts no liability for
such damages. This warranty does not cover Marine or Outdoor Installation. Except as otherwise provided above, Kraus makes no warranties, expressed or implied, including warranties of merchantability and fitness for a particular purpose, or compliance with any code. Shipping charges will be covered for the first (1) year of the warranted replacement part or product (HI, AK, and Puerto Rico shipping charges may apply). International shipping fees are not included.
Commercial Warranty
Kraus extends the above warranty for a period of one (1) year to purchasers of products for industrial, commercial, and business use. All incidental or consequential damages are specifically excluded. No additional warranties, express or implied are given, including but not limited to, any implied warranty of merchantability or fitness for a particular purpose. Some states do not allow the exclusion or limitation of incidental or consequential damages, or limitations on how long an implied warranty lasts, so the above limitations or exclusions may not apply to you. This warranty gives you specific legal rights, and you may also have other rights which vary from state to state.
If you are a HOMEOWNER please contact a Kraus Customer Service Representative at:
Kraus USA, Inc.
12 Harbor Park Drive
Port Washington, NY 11050
Toll-free 800-775-0703
[email protected]
If you are a PLUMBING CONTRACTOR OR TRADE PROFESSIONAL please contact a Kraus Pro Representative at:
Kraus USA, Inc.
12 Harbor Park Drive
Port Washington, NY 11050
516-801-8955
[email protected]
If you are an AUTHORIZED PARTNER please contact a Partner Support Representative at:
Kraus USA, Inc.
12 Harbor Park Drive
Port Washington, NY 11050
516-801-8954
[email protected]
In requesting warranty service, please be ready to provide:
- Proof of purchase
- A description of the problem
IMPORTANT
- Register Your Kraus Product
- Activate Your Warranty
- Access Premium Customer Support Get Product Information
REGISTER TODAY
http://www.kraususa.com/registration



























