schneider SCVC93120BL ASPIRATEUR BALAI SANS FIL CORDLESS BRUSH VACUUM

IMPORTANT WARNINGS
PLEASE READ THE SAFETY INSTRUCTIONS CAREFULLY BEFORE USE AND KEEP FOR FUTURE REFERENCE.
Safety instructions:
- The battery must be disposed of safely.
- Do not use next to steps or on balconies. This machine does not have step avoidance sensors.
- This device can be used by children from 8 years old and by people with reduced physical, sensory or mental capacities or a lack of experience and knowledge provided they have been placed under supervision or that they have received instructions on the safe use of the device and understand the dangers involved.
- Children must not play with the appliance.
- Cleaning and user maintenance must not be made by children without supervision.
- This appliance is intended for household use only.
- This unit is suitable for low to medium back carpets. It is not suitable for uneven floors or mixed carpets.
- Remove the side brush when cleaning the carpet pad to protect the side brush.
- If the adapter’s power cord is damaged, the adapter should be discarded.
- Recharge the battery (s) only with the charger supplied by the manufacturer.
- Use the device only with its battery (ies) specially created for this purpose. The use of any other battery (s) could create a danger of explosion or fire.
- Please use an adapter to use this product only.
- Do not use on damp or greasy dust.
- Before use, remove fragile objects (glass, light, etc.) and other objects that may entangle the brushes, for example (long hair, plastic bag, rope, wire, etc.).
- Do not sit on the machine and do not put heavy things on it.
- CAUTION: Make sure that the appliance can operate freely in the room (that it is not blocked by an obstacle, that it cannot tip over) and that there is no obstacle on which the appliance could fall and create a risk of danger (such as a lighted candle or a vase filled with water).
- Clean the machine regularly.
- Empty the dust container.
- Charge the machine without using it for three months.
- Only recharge it in the event of a low power alarm or when the power is turned off. Use it after fully charging it.
- The battery must be removed from the device before disposal; the device must be disconnected from the mains when removing the battery;
- Only remove the rechargeable battery by a qualified technician.
- Do not dispose of used batteries with household waste. Dispose of them in accordance with local regulations.
- Recharge the battery / robot only with the adapter supplied with the device.
- The external flexible cable of this adapter cannot be replaced; If the cord is damaged, the adapter should be discarded and replaced with an adapter of the same model.
- The device must be disconnected from the power supply when removing the battery.
- This device contains batteries which cannot be replaced.
- The device should only be used with the power supply supplied with the device.
- CAUTION: To recharge the battery, use only the removable power supply unit supplied with the device (part number: RKGSDC2650500).
- WARNING: The plug must be removed from the outlet before cleaning or servicing the appliance.
- WARNING: risk of entrapment. Keep loose clothing, hair, fingers, etc. away. motorized brushes and nozzles.
- For information on the charging operation, refer to the following paragraph of the manual.
- RECHARGING THE VACUUM
- Please use the specified adapter to charge the vacuum cleaner.
- When the machine is recharging, the indicator light glows blue. It turns blue without glowing when charging is complete.
- When the battery is discharged, please recharge it.

IMPORTANT
It is forbidden to replace the power cable by yourself if damage.
If the device is dropped, please ask a qualified person to check it before using it again. Internal damage could cause accidents. For any kind of problems or repairs, please contact the customer service of the local distributor, manufacturer or a qualified person to avoid danger.
Disposal and environmental responsibility
In order to be environmentally friendly, we encourage you to have your device correctly. You can contact your local authorities or recycling centers for more information.
Read this instruction carefully before use.
This product complies with the applicable requirements of Directive 2014/35/EU (repealing Directive 73/23/EEC as amended by Directive 93/68/EEC) and 2014/30/EU (repealing Directive 89/336/EEC)
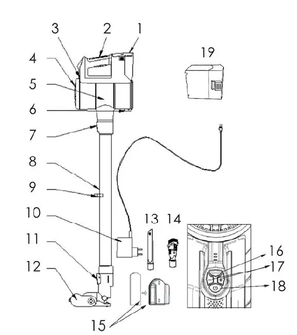
DESCRIPTION OF THE DEVICE

- Detachable battery pack
- Ergonomic handle
- Indicator lights
- Outlet filter cover
- Dust tank
- Dust tank release button
- Metal tube release button
- Metal tube
- Accessory support
- Adapter
- Motorized floor brush release button
- Electro brush with multi-surfaces
- Crevice tool
- 2 in 1 brush tool
- Wall mount with removable sticker
- Floor brush switch(on/off)
- Adjust power level
- On/Off switch
- Battery
INSTRUCTIONS TO INSTALLATION
Metal Tube

- Insert the metal tube to the main body until a click sound is heard.
- Press the metal tube release button and remove the tube.
Floor Brush Installation

- Insert the motorized brush on the end of the tube until a click is heard.
- Press the motorized floor brush release button to remove the motorized floor brush.
Note: The floor brush, crevice nozzle, and 2 in 1 brush can be directly connected to the main body or tube.
Installation of the dust container

- Put the dust cup to the main body and twist counter- clockwise until it clicks.
- Hold the opening part connected to the tube and twist clockwise to remove it.
Battery Installation

- Install the battery into the bottom of the main body until itclicks.
- Press the battery release button and pull it out.
BEFORE FIRST USE
Unpacking the appliance and disposing of the emballagic elements
Remove all packing material around the appliance and the protective elements inside the appliance compartments.
- Carton board and sheets of paper are recyclable. They must be thrown in the collection bins provided for this purpose.
- Materials bearing the symbol are recyclable:
- PE <= polyethylene; > PS <= polystyrene; > PP <= polypropylene
- This means that they can be recycled by depositing them into appropriate collection containers.
- Other packaging elements (adhesive, fasteners, etc.) must be disposed of with household waste.
PRODUCT OPERATION
Charging

Plug adapter into charging port and then plug the other side of the adapter into the power outlet.
Note:
- Charge the battery before the first use.
- It is better to charge the battery fully in the first 3 times.
- Do not charge the battery for extended periods, as this may damage the battery.
Indicator Lights
During charging
Charging from low: lights flashing in turn:

During use
INSTRUCTIONS TO USE
Cleaning Accessories 
- Motorized floor brush: Suitable for rugs and hard floors. Turn it on/ off by pressing the floor brush switch.
- Long crevice tool: for cleaning the trash in the corners, gaps, baseboard edges, and other hard-to-reach places.
- 2 in 1 brush tool: Use the brush to clean upholstered surfaces, keyboards, lamps, curtain, blinds, vents, etc. Perfect for cleaning hair and dust inserted on the fabric. Use the crevice portion to do the ordinary cleaning task. To switch between brush and crevice portion, press the button on the accessory and slide brush up or down.
Start to Work
- Select the appropriate accessory to use according to different cleaning task.
- Press the ON/OFF switch, the machine will start to work. Press it again to stop.
- Press the ‘+’ or ‘-’ button to adjust 3 suction powerlevels.
Emptying 
- Press the dust empty release button to empty the dust when clean task is finished.
- Close the cover of dust cup when it is empty.
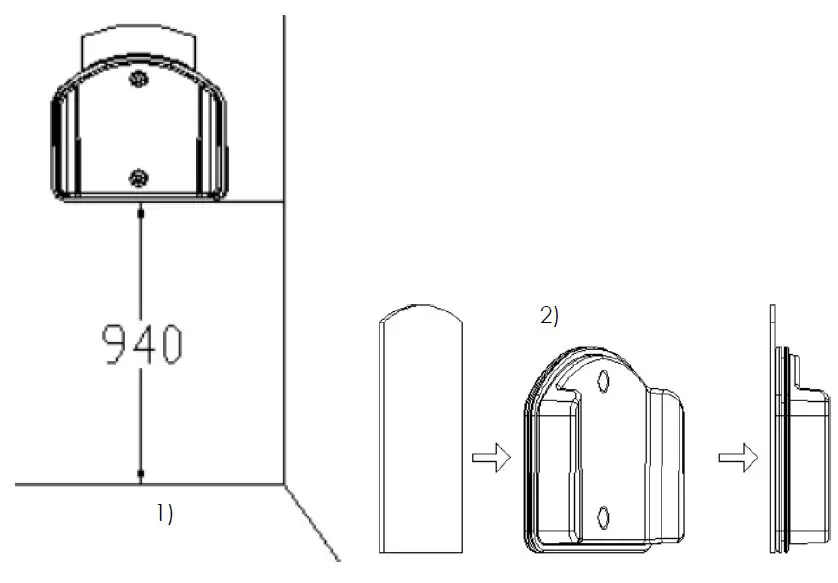
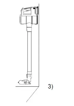
Magnetic wall mount: no need to screw the bracket to the wall!

- Keep the bottom line of removable sticker 940mm to the floor, stick it to wooden, ceramics surfaces, etc. (removable gel sticker is washable)
- Stick the magnetic holder to the gel sticker.
- Stand the unit on the floor, keep it in the magnetic holder.

CLEANING AND MAINTENANCE
Dust Container and Filters Cleaning
Note: Clean the dust container and filters monthly to maintain the performance.
- Twist clockwise the dust container and then pull it out.

- Lift out the filter mask and remove. Then separate the HEPA filter from the filter mask by twisting count clockwise and pulling out.

Post-Motor Filter Cleaning
Note: Clean the post-motor filter every 6 months.
1. Turn the filter cover counterclockwise to remove it.
2. Lift out post-motor sponge filter.
3. Shake to remove dust. Wash the filter under running coldwater.
4. Completely dry the filter before reassembling.
Floor Brush Cleaning
- Use a coin press down by hand to turn the fastener counter-clockwise to unlock.

- Remove the hair and debris around the brush roller by fingers or knife.

- COMPLETELY dry the brush roller before assembling.
To reassemble, install the brush roller inside the original place. Use a coin or press down to twist the fastener to lock.
TROUBLESHOOTING
If you encounter a problem with your device or if you suspect the device is not working properly, you can make a few simple checks before calling a technician.
| Problem | Solution |
| No power | Before using the appliance, check that it is fully charged, empty the dust container and clean the filter. |
| Loss of aspiration | Check to see if the openings are clogged. Unplug and clean if necessary. Make sure the filter is correctly installed. Empty the dust container and clean the filter. |
| The motorized brush does not turn. | Unplug the unit, check for clogged hair or dirt. If necessary, remove the rotating shaft from the power brush by unlocking the latch, clean and reposition the shaft by performing the reverse procedure. Make sure that the axle has been properly inserted into the power brush and the latch is in the locked position. The device may need to be recharged. Connect the device to the charger. The battery indicator will turn GREEN when charging is complete. |
| The battery indicator lights are red while in use | The motorized brush is blocked. Turn off the vacuum and remove any object blocking the brush. |
For any other problems occurring in your device: contact Customer Service.
CAUTION: The power brush contains electrical connections, do not immerse in water for cleaning.
TECHNICAL CHARACTERISTICS
- Power supply: Rechargeable battery
- Motor max. power: 120W
- Battery: Li-ion DC 22.2V 2200mAh
- Charging time: 4-5 hours Max
- Capacity of the dust bin: 0.6 L
- Speed levels: 3 speeds
- Product Dimensions: 240 x 220 x 1100mm
- Net weight: 2.5kg
DISPOSAL
If that logo appears on the device, this means that it must be discarded in accordance with Directive 2012/19 / EU on electrical and electronic equipment (WEEE). All hazardous substances in electrical and electronic equipment can have deleterious effects on the environment and human health during treatment. Therefore, at the end of its useful life, this product should not be disposed of with unsorted municipal waste. As a consumer
Ultimately, your role is essential for reuse, recycling or any other form of value creation for this device. There are several systems of collection and recovery implemented by your local authority (recycling center) and distributors. You have an obligation to use those systems.
In the end of battery life:
This appliance contains battery that are non-replaceable.
Used batteries must be supported by a selective collection system in order to be recycled thus reducing the impact on the environment.
When the battery reaches its end of life, you must place it in an appropriate selective collection system that will handle its destruction and / or recycling.
- If the battery acid has leaked, avoid contact with skin, eyes and mucous membranes! The liquid that leaks from the battery can cause rashes. If acid still had to contact with skin, immediately flush the affected areas with clean water and consult a doctor immediately.
- The batteries must be installed with the correct polarity +/-.
- Do not recharge non-rechargeable batteries because of the risk of explosion.
IMPORTANT:
Under no circumstances should you throw the device or battery on a public road
The warranty does not cover the wear parts of the product, nor the problems or damage resulting from:
- Deterioration of the surface due to the normal wear and tear;
- Defects or damage due to contact with liquid and corrosion caused by rust or the presence of insects;
- Any incident, abuse, misuse, alteration, removal or unauthorized repair;
- Improper maintenance, improper use about the product or connection to improper voltage;
- Any use of accessories not supplied or approved by the manufacturer.
The guarantee will be cancelled if the nameplate and / or serial number of the product are removed.
Information for external power supplies for Commission Regulation 2019/1782/EU
| Value | Unit | |
| Model identification | RKGSDC2650500 | |
| Manufacturer’s name or trade mark | Changzhou Taiyu Electric Co., Ltd. | |
| Input voltage | 100-240 | V |
| Input AC frequency | 50/60 | Hz |
| Output voltage | 26.5 | V |
| Output current | 0.5 | A |
| Output power | 13.3 | W |
| Average active efficiency | 86.72 | % |
| Efficiency at low load (10 %) | 76.14 | % |
| No-load power consumption | ≤0,1 | W |

INSTRUCTIONS TO USE




To reassemble, install the brush roller inside the original place. Use a coin or press down to twist the fastener to lock.


















