air AXR.SW.1025 1-3 Door Pizza Maker Refrigerator Instruction
Your New Airex Product
Thank you for choosing this quality Airex product.
All Airex products are designed and manufactured to meet the needs of foodservice professionals. By caring for and maintaining your new Airex product in accordance with these instructions, will provide many years of reliable service.
Stoddart is a wholly Australian-owned company, which manufactures and/or distributes a comprehensive range of foodservice equipment for kitchens, food preparation and presentation. Stoddart products are manufactured and/or engineered in Australia to provide excellent results whilst offering value-for-money, ease of use and reliability.
Carefully read this instruction booklet, as it contains important advice for safe installation, operation and maintenance. Keep this booklet on hand in a safe place for future reference by other operators or users.
Disclaimer
The manufacturer and distributor cannot be held responsible or liable for any injuries or damages of any kind occurred to persons, units or others, due to abuse and misuse of this unit in regards to installation, removal, operation, servicing or maintenance, or lack of conformity with the instructions indicated in this documentation.
All units made by the manufacturer are delivered assembled, where possible, and ready to install. Any installation, removal, servicing, maintenance and access or removal of any parts, panels or safety barriers that is not permitted, does not comply in accordance to this documentation, or not performed by a TRAINED AND AUTHORISED SPECIALIST will result in the IMMEDIATE LOSS OF THE WARRANTY.
The manufacturer cannot be held responsible or liable for any unauthorised modifi cations or repairs. All modifi cations or repairs must be approved by the manufacturer in writing before initiating. All modifi cations or repairs performed to this unit must be performed at all times by a TRAINED AND AUTHORISED SPECIALIST.
Stoddart design, manufacture and distribute Food Service Equipment (appliances) exclusively for the commercial market. This appliance is not designed nor intended for household or domestic use and must not be used for this purpose.
This product is intended for commercial use, and in line with Australian electrical safety standards the following warnings are provided:
- This product is not intended for use by persons (including children) with reduced physical, sensory or mental capabilities, or lack of experience and knowledge, unless they have been given supervision or instruction concerning the use of the product by a person responsible for their safety. Children should be supervised to ensure that they do not play with the product
- If the supply cord is damaged, it must be replaced by the manufacturer, its service agent or similarly qualifi ed persons in order to avoid a hazard
Warranty & Registration
- Australia and New Zealand Warranty
- Warranty Period
All Stoddart manufactured and distributed products are covered by Stoddart’s standard Australia and New Zealand Product Warranty (minimum 12 month on-site parts and labour, terms and conditions apply). Further to this standard warranty, certain products have access to an extended warranty. Full terms, conditions and exclusions can be found using the below Link/QR code. - Warranty Registration
To register your new product, Follow the below Link/QR code.
www.stoddart.com.au/warranty-information
General Precautions
When using any electrical unit, safety precautions must always be observed.
Our units have been designed for high performance. Therefore, the unit must be used exclusively for the purpose for which it has been designed.
- All units MUST be installed according to the procedures stated in the installation section of this manual
- In the case of new personnel, training is to be provided before operating the equipment
- DO NOT use this unit for any other purpose than its intended use
- DO NOT store explosive substances such as aerosol cans with a flammable propellant in or near this unit
- Keep fi ngers out of “pinch point” areas
- Unit is not waterproof DO NOT use jet sprays, hoses or pour water over/on the exterior of the unit
- Only use this unit with voltage specified on the rating label
- DO NOT remove any cover panels that may be on the unit
- DO NOT use sharp objects to activate controls
- DO NOT use sharp objects to remove ice from the unit
- If any fault is detected, refer to the troubleshooting
- The manufacturer declines any liability for damages to persons and/or things due to an improper/wrong and/or unreasonable use of the machine
- Only specifically trained/qualifi ed Technicians (Stoddart, one of our service agents, or a similarly qualifi ed persons) should carry out any and all repairs, maintenance and services
Product Overview
IMPORTANT
This unit is not designed to cool down hot/warm prod-uct. It only maintains the product at the controlled 2°C – 5°C
CAUTION
This unit includes refrigeration components. Cold surfaces can burn DO NOT touch these surfaces
Setting Up
WARNING
Improper installation, adjustments, alterations, service or maintenance can cause property damage, injury or death.
Handling
- Use suitable means to move the unit;
- For smaller items use two people
- For large items a fork lift, pallet trolley or similar (the forks should reach completely beneath the pallet)
Unpacking
- Check the unit for damage before and after unpacking. If unit is damaged, contact the distributor and manufacturer
- Should any item have physical damage, report the details to the freight company and to the agent responsible for the dispatch within seven (7) days of receipt. No claims will be accepted or processed after this period
- The unit is supplied fully assembled
- Remove all protective plastic film, tapes, ties and packers before installing and operating
- Clean off any remaining residue from the interior/exterior of the unit using a clean cloth dampened with warm soapy water
Positioning
- When moving the unit, ensure the cabinet is upright at all times
- When positioning the unit, avoid direct sunlight, warm drafts, heated areas, air-conditioning vents, or areas where airflows can affect the normal operating temperature of the unit
- Do not position the unit in:
- Wet areas
- Near heat and/or steam sources
- Near flammable substances
- Ensure the unit is positioned on a level surface
- Allow a minimum 25mm gap from the ‘air in’ vent
- After positioning the unit, allow the refrigerator to settle for 2 hours before switching ON
- Please consult national and local standards to ensure that your unit is positioned in accordance with any existing requirement

Installation
Refrigeration
The system is fully operational as soon as it leaves the factory. No addition setup is required.
Plumbing Connections
The unit is supplied with a condensate burn-off tray. No additional drainage or plumbing is required.
Electrical Connection
Information
WARNING
This unit must be installed in accordance with AS/NZS 60335.1 Some procedures in this manual require the power to the equipment to be turned off and isolated. Turn the power OFF at the power point and unplug the power supply lead by the plug body. If the power point is not readily accessible turn the equipment off at the isolation switch or the circuit breaker in the switchboard. Attach a yellow “CAUTION-DO NOT OPERATE” tag. This must be performed where relevant unless the procedures specify otherwise.
FAILURE TO DO SO MAY RESULT IN ELECTRIC SHOCK.
Single Phase Units
- Supplied and fi tted with an appropriately rated plug and lead, indicated as:
- 10A plug & lead fi tted
Notes
- If the supply cord is damaged, it must be replaced by the manufacturer, its service agent or similarly qualifi ed persons in order to avoid a hazard. Please contact Stoddart for parts and we will advise how to do this in order to avoid any electrical hazard
- The power cable should be dry and/or isolated from moisture or water
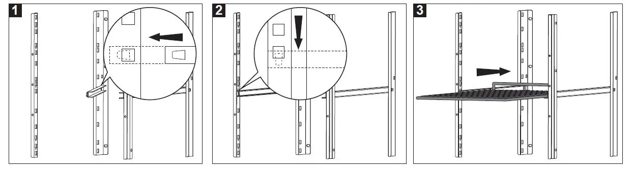
Adjustable Shelves
Shelf Installation
Note: Do not use pliers when installing shelf clips
- Insert the back clip of the tray slide into the upright rail
- Insert the front clip of the tray slide into the upright rail, then pull downward. Ensure both tray slides (two slides per shelf) are positioned at the same height
- Slide the shelf into position
General Drawing
AXR.SW.1025
| Specifications | |
| Model | AXR.SW.1025 |
| W x D x H (mm) | 1025 x 845 x 900 |
| Weight | 112kg |
| Packed Dimensions (mm) | 1075 x 880 x 965 |
| Packed Weight | 122kg |
| Capacity | 5 x 1/3GN |
| Operation | 2°C – 5°C |
| Refrigerant | R134A |
| Max Ambient | 40°C |
| Power | 1.56kW 220 – 240V 10A plug & lead |
AXR.SW.1740
| Specifications | |
| Model | AXR.SW.1740 |
| W x D x H (mm) | 1740 x 845 x 900 |
| Weight | 175kg |
| Packed Dimensions (mm) | 1790 x 880 x 965 |
| Packed Weight | 195kg |
| Capacity | 9 x 1/3GN |
| Operation | 2°C – 5°C |
| Refrigerant | R134A |
| Max Ambient | 40°C |
| Power | 1.73kW 220 – 240V 10A plug & lead |
AXR.SW.2450
| Specifications | |
| Model | AXR.SW.2450 |
| W x D x H (mm) | 2450 x 845 x 900 |
| Weight | 226kg |
| Packed Dimensions (mm) | 2500 x 880 x 965 |
| Packed Weight | 256kg |
| Capacity | 13 x 1/3GN |
| Operation | 2°C – 5°C |
| Refrigerant | R134A |
| Max Ambient | 40°C |
| Power | 1.77kW 220 – 240V 10A plug & lead |
Initial Start-up & Operation
IMPORTANT
This unit is not designed to cool down hot/warm prod-uct. It only maintains the product at the controlled 2°C – 5°C
Controller
Initial Start-Up
- Before switching ON the unit, ensure the unit is installed correctly
- Turn the unit ON. Once switched ON, check that the air is flowing within the unit, close the doors and lids
- After 45 minutes check the cabinet temperature has reached 2°C – 5°C (with lids closed)
- Inspect door frames for condensation. If condensation is present, turn on the TROPICAL switch (under door heating)
- Leave the unit to operate for 1-2 hours to remove any fumes or odours
- Clean the whole unit, including the shelves, before placing in product
Food Temperature
- Ensure the doors and lids are CLOSED when not loading product, to bring the unit up to and maintain the set temperature (2°C – 5°C)
- Do NOT place warm/hot items in the unit to chill, placing warm/hot items in the unit can lead to food spoilage and possibly food poisoning
Loading Restrictions
- Air vents must NOT be covered
- There should NOT be any overhang of products on the shelves
- Shelves are only designed to hold one layer of product. Overloading can break/damage the shelves
- Remove some products if the shelves are flexing or bending
- Shelves should be adjusted to allow air space around all the product for even refrigeration and efficient operation of the Refrigerator. Leave an air space of at least 50mm above the product for air circulation
Loading and Display – Cold Well
- Do not overload the Cold Well, product must not overfill the GN pans
- Food must be below 5°C when filling the GN pans
- Food must be stored/displayed in approved containers
- Night lids must be kept on at all times when not in use (i.e. overnight), except when serving
Around the Cold Well
- Ensure the Cold Well and benches around the unit are cleaned continuously to prevent contaminants
- Ensure all liquids on or around the unit are cleaned up immediately
Operation
Defrost Cycle – Automatic
- The system has an automatic defrost system which improves the energy efficiency of the unit and minimises temperature fluctuations
- After the unit is first switched ON, the first defrost cycle will occur automatically after 6 hours.
- If the unit is NOT turned OFF, the unit will defrost automatically 4 times per day or every 6 hours
- If air is not circulating properly, a manual defrost cycle can be made. Normal automatic defrost cycles will still occur every 6 hours even if a manual cycle has been run in between cycles. Check the electronic controller section for more information
- The defrost cycle terminates when the temperature of the evaporator coil rises to 6°C or after 30 minutes. Products will remain refrigerated during defrost cycle if the doors remain closed
- For changing of defrost cycle settings, contact Stoddart or an approved service technician
Defrost Cycle – Manual
The unit may need to be manually defrosted:
- Press and hold the DEFROST button for 5 seconds
- The defrost cycle will start immediately and the Defrost LED illuminates. The defrost will last a maximum of 30 minutes
After Service – Information
- The unit should NOT be turned OFF after service
- The unit will maintain set temperature after service
- Switch OFF lights and door heaters to minimise power. Ensure all doors and lids are closed
After Service – Storage
- Products can either be stored in the unit or placed in night storage
- All storage of product should comply with local health standards and regulations
Temperature Adjustment
- The temperature range of this unit is 2°C – 5°C
- Different modes require different temperatures
- The temperature probe only measures the temperature of the water/air, NOT the food temperature
PIXEL CONTROL
DISPLAY
KEY FUNCTIONS
| To display target set point; in programming mode it selects a parameter or confirm an operation. | |
| (DEF) | To start a manual defrost push and hold the defrost button for 2 seconds. |
| (UP) | To see the maximum stored temperature; in programming mode it browses the parameter codes or increases the displayed value. |
| (DOWN) | To see the minimum stored temperature; in programming mode it browses the parameter codes or increases the displayed value. |
KEY COMBINATIONS
|
| To lock and unlock the keyboard. |
|
| To enter in programming mode. |
|
| To return to the room temperature display. |
HOW TO SEE THE SETPOINT
- Push and immediately release the SET key, the display will show the set point value
- Push and immediately release the SET key or wait 5 seconds to display the probe value again
HOW TO SEE THE SET POINT
- Push the SET key for more than 3 seconds to change the set point value
- The value of the set point will be displayed and the “°C” LED starts blinking
- To change the set point value push the or arrows within 10 seconds
- To store the new set point value push the SET key again or wait 10 seconds
HOW TO CHANGE A PARAMETER VALUE
- Enter the Programming mode by pressing the SET + keys for 3s ( °C LED starts blinking)
- Select the required parameter. Press the SET key to display its value
- Use or to change the parameter value
- Press SET to store the new parameter value and move to the following parameter
- To Exit: Press SET + or wait 15 seconds without pressing any keys
Note: The set value is stored even when the procedure is exited by waiting the time-out to expire.
Note: To enter in programming mode. (Contact the Stoddart Service Department)
HOW TO LOCK/UNLOCK THE KEYBOARD:
- To lock the keyboard press and hold the + for 3 seconds. The “OF” message will be displayed
- To unlock the keyboard press and hold the + for 3 seconds. The “ON” message will be displayed
Cleaning and Maintenance
Cleaning
Cleaning Schedule
- Regular cleaning is recommenced for the unit. This will help to maintain and prolong the efficiency of the unit
Materials Required
- Stainless Cleaner
- Non Abrasive Cleaning pad
- Clean Sanitised Cloth
- Paper Towel
- Warm Soapy Water
- Appropriate PPE (Personal Protective Equipment)
General Information
- Cleaning is recommended for health and safety purposes and to prolong the life of the unit
- DO NOT use abrasive pads or cleaners on the stainless steel or any other metal parts of the unit
- DO NOT use industrial chemical cleaners, fl ammable cleaners, caustic based cleaners or bleaches and bleaching agents, as many will damage the metals and plastics used on this unit
- DO NOT remove any screws and/or panels for cleaning (unless directed)
- This unit is NOT waterproof, DO NOT hose, DO NOT pour water directly onto the unit, DO NOT immerse in water
Corrosion Protection
- Stainless steel exhibits good resistance to corrosion however, if not properly maintained stainless steel can rust and/or corrode
- Any sign of mild rust and/or corrosion should be thoroughly cleaned with warm soapy water and dried as soon as possible
- NEVER use abrasive pads or cleaners for cleaning
- All metal surfaces should be checked while cleaning for damage, scuffs or scrapes as these can lead to rust and further damage to the product
- Mild rust and/or corrosion can be treated with a commercial cleaning agent that contains citric/oxalic/nitric/phosphoric acid.
- DO NOT use cleaning agents with chlorides or other harsh chemicals as this can cause corrosion.
- After treatment, wash with warm (not hot) soapy water and dry thoroughly
- Thoroughly wipe the surfaces dry after cleaning. DO NOT let water pool on the unit. Check crevices and folds for pooling
- When using, ensure all liquids and moisture is cleaned up straight away.
Food liquids such as juices from vegetables and fruits should not be left on preparation surfaces - DO NOT leave items on the stainless steel such as cutting boards, rubber mats and bottles
Surface Finish
- To protect the polished surface of the stainless steel, it should be dried using a clean dry soft cloth. A light oil can be applied to enhance the stainless steel surface, using a clean cloth apply the oil in the same direction as grained polished fi nish
- Some commercial stainless steel cleaners can leave residue or fi lm on the metal; this may trap fi ne particles of food on the surface, thus deeming the surfaces not food safe
- IMPORTANT
Threaded fasteners can loosen in service. Regular inspection and adjustment should be carried out as required - IMPORTANT
Some commercial stainless steel cleaners leave residue or fi lm on the metal that may entrap fi ne particles of food, deeming the surface not FOOD SAFE - WARNING
This unit is NOT waterproof, DO NOT hose. DO NOT pour water directly onto the unit. DO NOT immerse in water - WARNING
This unit includes refrigeration components. Cold surfaces can burn DO NOT touch these surfaces
Refrigerator
- Isolate the unit from the power supply
- Remove shelves and wash separately in a dishwasher or kitchen sink, thoroughly wipe dry after cleaning
- Using a good quality nylon brush remove crumbs and small food items
- Clean using a clean cloth dampened (not wet) with clean warm soapy water until all soil has been removed
- Thoroughly wipe dry with a soft cloth after cleaning, do NOT allow to air dry. Do NOT let water pool, check crevices and folds
Cold Well (Daily)
- Remove all night lids, GN pans and air panels and wash separately, using clean warm soapy water until all soil has been removed
- Clean the cold well using a clean cloth dampened (not wet) with clean warm soapy water until all soil has been removed
- Re-insert the air panels and night lids
Door Seal
- Clean the door seal using a clean cloth dampened (not wet) with warm water
External Surfaces
- Using a clean cloth dampened (not wet) with clean warm soapy water until any grime has been removed
- Using a clean sanitised cloth, thoroughly wipe the stainless steel and metal parts dry. Do NOT let water pool on the unit. Check crevices and folds
Ventilation Panels
- Use a vacuum and/or brush to remove dust and debris from all ventilation panels
- Do NOT use water or a hose to remove dust or debris
Condenser
Periodic cleaning of the condenser can extend the life of the unit. This must be done by a qualified service technician. Contact the Stoddart service department
Troubleshooting
Troubleshooting Procedures
- If any faults/issues occur with the unit, follow the below troubleshooting procedures
- If the troubleshooting procedures do not correct the problem, contact the Stoddart Service Department
WARNING
Technician tasks are only to be completed by qualified service people. Check faults before calling service technician.
| Problem | Possible Causes | Possible Corrective Action |
|
Unit does not operate/start | The mains isolating switch on the wall, circuit breaker or fuses are OFF at the power board | Turn isolating switch, circuit breaker or fuses ON |
| The main switch of the unit is OFF | Turn the main switch ON | |
| Condenser unit is OFF | Turn ON condenser unit | |
| Electrical wiring damaged | Contact Stoddart service department | |
| Condenser unit broken | Contact Stoddart service department | |
| Faulty electronic controller | Contact Stoddart service department | |
|
Unit is too warm | Ambient air entering the units | Door not closing / sealing |
| Position unit away from drafts / airconditioning / ventilation vents | ||
| GN pans in coldwell are over filled, remove some product from GN pan | ||
| Warm items in unit | “Pre-chill / Remove items / Wait 30min for items to chill” | |
| Air not circulating | Remove some items / Clear air vents / Grills | |
| Too many items in the unit (overloaded) | Remove some items | |
| Items obstructing air vents / grills | Re-position items | |
| Defrost cycle is ON / just finished | Wait 30min for cabinet to cool | |
| Evaporator coil fins blocked | Clean fins / Run defrost cycle. Contact Stoddart service department if problem persists | |
| Evaporator coil iced up | Contact Stoddart service department | |
| Temperature probe broken / disabled | Contact Stoddart service department | |
| Set point temperature too high | Contact Stoddart service department | |
| Evaporator fans not operating | Contact Stoddart service department | |
| Undercharge | Contact Stoddart service department | |
| Faulty electronic controller | Contact Stoddart service department | |
| Direct sunlight | Block sunlight, window shades | |
| Unit is too cold | Temperature probe broken/disabled | Contact Stoddart service department |
| Faulty electronic controller | Contact Stoddart service department | |
| Set point temperature too low | Contact Stoddart service department |
Alarm Signals
| Display | Cause | Outputs |
| P1 | Room probe failure | Compressor output according to “Cy” and “Cn” |
| P2 | Evaporator probe failure | Defrost end is timed |
| HA | Maximum temp. alarm | Outputs unchanged |
| LA | Minimum temp. alarm | Outputs unchanged |
Disposal
If the appliance is no longer of use, please dispose in an environmentally correct way. Contact a qualified service technician:
- To recover all refrigerant
- To remove the compressor or remove the oil from the compressor The distributor / retailer can contact their local metal recycling centre to collect the remaining cabinet, shelves, etc.
There may be special requirements or conditions. Information on the disposal of refrigeration appliances can be obtained from: - Your supplier
- Government authorities (The local council, Ministry of the Environment, etc.)
Discarded electric appliances are recyclable and should not be discarded in the domestic waste! Please actively support us in conserving resources and protecting the environment by returning this appliance to the collection centres (if available). - Dispose of packaging in accordance to applicable legal regulations.




















