BeSafe Stretch B Child Car Seat User Manual
Contents hide
Thank you for choosing BeSafe Stretch B
It is important that you read this user manual BEFORE installing your seat. Incorrect installation could endanger your child.
Vital information
- The child seat MUST NOT be installed in a front seat WITH AN ACTIVATED AIRBAG or on a vehicle seat position with a belt airbag.

- The car list provided for this seat can serve as a guideline for which positions in your vehicle the seat can fit. But you must always check your vehicle manual if child seats of this type are allowed to be installed. The vehicle manual is the leading guideline and must always be followed.
- This seat must be installed rear facing with a 3-point vehicle belt, approved according to UN/ECE Regulation No.16 or other equivalent standards.
- The floor support must always be used. Make sure that the floor support is fully pushed down until it touches the floor of the vehicle in front of the seat and that the indicators on the floor support are always showing green.
- The harness straps must always be locked when the child is in the seat.
- The harness straps must be tightened without slack and not twisted.
- Make sure to tighten the harness extremely well, so that you can no longer make a horizontal fold in the belts. When you tighten the harness, make sure that the child is positioned well against the backrest.
- The shoulder pads contain magnets. Magnets can influence electronic equipment such as pacemakers or other medical devices.
- Protect any part of the child’s body which is exposed to the sun.
- Always dress your child in a thin layer of clothes to avoid direct contact between harness belts and skin. Avoid puffy clothes since this prevents being able to tighten the belts fully.
- We recommend to use the baby shell only in the most reclined position till a stature height of 87 cm.
- Remove the baby shell when the child is taller than 87 cm. • You must stop using this seat and change to the next suitable seat when ONE of these conditions is met: 1) The child is taller than 125 cm; 2) The child incl. clothes weighs more than 36 kg; 3) The shoulder height exceeds the highest position of the shoulder belts; 4) The top of the ears
is above the highest point of the headrest in the highest position. - Replace the seat if it has been in a collision where the speed was 10 km/h and above or if there is a suspicion that the seat has been damaged for whatever reason. Although it may look undamaged, if you were to have another accident, the seat may not be able to protect your child to the level to which it was designed.
- Prevent the seat from becoming trapped or weighed down by luggage, seats and/or slamming doors.
- DO NOT attempt to dismantle, modify or add any part to the seat. Warranty will be void if non-original parts or accessories are used.
- Never leave your child unattended in the seat.
- Make sure all passengers are informed about how to release your child in case of emergency.
- Make sure luggage or other objects are properly secured. Unsecured luggage may cause severe injuries to children and adults in case of accidents.
- Never use the seat without the cover. The cover is a safety feature and may only be replaced by an original BeSafe cover.
- Do not use any aggressive cleaning products; these may harm the construction material of the seat.
- When washing the seat cover, make sure to follow the wash label on the inside of the cover.
- BeSafe advises that child seats should not be bought or sold secondhand.
- KEEP this user manual for later use with the seat. Store it in the user manual pocket on the bottom side of the front brace.
- DO NOT use the seat for longer than 15 years. Due to ageing, the quality of the material may change.
- DO NOT use at home. It has not been designed for home use and can only be used in a vehicle.
- When the child seat is mounted in the car check all the areas where the child seat might touch the interior. We recommend using a (BeSafe) protection cover in these places to avoid cuts, marks or discolouration to the interior of the vehicle, especially in vehicles with leather or wooden interiors.
- If in doubt, consult either the car seat manufacturer or the retailer.
Components



- (1a) Headrest
- (1b) Baby shell
- (1c) Front brace
- (1d) Front brace handle
- (1e) User manual pocket
- (1f) SIP+
- (1g) Belt guider (2x)
- (1h) Floor support
- (1i) Floor support adjuster
- (1j) Floor support indicator
- (1k) Shoulder pads (2x)
- (1l) Shoulder belts (2x)
- (1m) Hip belts (2x)
- (1n) Harness buckle
- (1o) Central adjuster button
- (1p) Central adjuster strap
- (1q) Lower tether (2x)
- (1r) Lower tether release button (2x)
- (1s) Lower tether strap (2x)
- (1t) Lower tether hook (2x)
- (1u) Headrest handle
- (1v) Tensioner knob
- (1w) Recline handle
- (1x) Tensioner lock-of
- (1y) Lower tether anchorage points in the vehicle
Preparing the child seat for installation

- The front brace is delivered as a separate part and must be mounted to the seat before using the seat in a vehicle. Once installed, the front brace can only be taken off with the correct tools.
- To mount the front brace: Keep the front brace handle pushed in while sliding both tubes into the openings in the seat base on both sides. Slide them all the way in. (2)
- Decide with how much leg space you want to install the seat by adjusting the position of the front brace. To do so, push the front brace handle in and slide the front brace in or out and let it click into place. (2)
- Tip: It’s easiest to adjust the front brace position already outside the vehicle.
- Move the floor support away from the seat and upwards until it locks into the usage position and does not dangle anymore. (5)

- For an easier installation once in the car, bring the seat into the most upright position with the recline handle, and keep the floor support in the shortest position.
Preparing the vehicle for installation on the back seat

- Bring the backrest of the back seat into upright position (if applicable to your car).
- To give yourself space for the installation, move the front seat forward as far as possible and put it into upright position if needed.
- If your vehicle is equipped with lower tether anchorage points, you don’t need further preparations and can start with installing the child seat.
Check your vehicle manual to ensure that the anchorages are allowed to be used with lower tethers. (3)
Preparing the vehicle for installation on the passenger seat
- Adjust the backrest of the front seat into an upright position.
- ALWAYS deactivate the front airbag. If this is not possible in your vehicle, you cannot install this seat on the front seat.
- Move the front seat and/or adjust the front brace position, so that the back of the child seat will be in contact with the dashboard. If having contact is not possible, then you should move the front seat as far back as possible, so that you have a preferable minimum distance of 25 cm between child seat and dashboard.
- If your vehicle is equipped with lower tether anchorage points, you don’t need further preparations and can start with installing the child seat.
Check your vehicle manual to ensure that the anchorages are allowed to be used with lower tethers.
Installing the child seat into the vehicle
- Place the child seat onto the vehicle seat with the front brace positioned against the backrest of the vehicle seat. (4)

- Remove the yellow cap from the floor support. The alarm sound will stop when the seat is installed correctly with the floor support in contact with the floor of the vehicle.
- Extend the floor support with the floor support handle, so that it is in contact with the vehicle floor while the child seat sits flush on the vehicle seat. This prevents the child seat from tipping backwards. (5)

- Pull the vehicle belt out long and combine shoulder belt and lap belt with one hand. With the other hand, guide the belt tongue through the first belt guider, through the tensioner-lock-off, through the second belt guider and click it into the buckle. Make sure both belts sit underneath the ledge on the base and fully inside the tensioner-lock-off. (6, 7)


- To remove slack in the belt, first pull on ONLY the shoulder belt near the buckle. Then, pull on the shoulder belt on the door side while making sure the child seat does not move. (8)

- When all slack is removed, rotate the tensioner knob clockwise at the backside of the seat. When doing so, the tensioner-lock-off at the front side will close. Continue rotating the knob to tension the belt. You can rotate until the knob will click and doesn’t tension any further. (9)

- Note: check that the vehicle belt buckle is not in conflict with the belt guider. Should this be the case, you need to install the seat with a larger front brace position.
- Check that the floor support is still in contact with the vehicle floor and adjust if needed.
- The height indicator of the floor support shows green when the floor support is in contact with the floor.
- The alarm sound stops when the floor support height indicators show green and it is in contact with the floor.
- Push down the lower tether release button and pull out the lower tethers.
Connect the hook to the lower tether anchorages of the vehicle. Repeat the same procedure on the other side. (10)
- Ensure that both lower tethers are connected and tight. By wiggling the seat from side to side, they will become more tight.
- Make sure that you can still see the yellow line on each lower tether strap.
If you cannot see it, there is not enough tension on the tethers. (11, 12)

- If you have installed the child seat on the back seat: Move the front vehicle seat backwards, so that it is in light contact with the child seat. If this is not possible, then move the front seat forward to create as much distance as possible between the child seat and front seat, preferably at least 25 cm.
- Check if the installation is tight and stable: the vehicle belt should be very tight without slack and locked by the tensioner-lock-off. Both lower tethers should be connected and tight and have the yellow line visible, and the floor support should be in contact with the vehicle floor. Repeat the same installation if necessary.
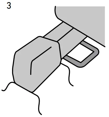
- The seat is delivered with removable SIP+ (side impact protection +).
This extra side impact protection should be used on the doorside of the vehicle. To connect your SIP+ version, follow the instruction drawings on the SIP+ included with your seat. The seat already offers high level integrated side impact protection. This extra side impact protection improves the protection in the side impact still further. (13)
- Do not use the SIP+ on the seat when the space between seat and door of the vehicle is too small, which might lead to a situation where the seat is not positioned correctly on the vehicle seat.
- In case the SIP+ sits at the height of the door window and your car is equipped with side curtain airbags, then do not use the SIP+ if there is less than 10cm distance between the SIP+ and the window.
Removing the child seat from the vehicle
- To remove the seat from the vehicle, first release the lower tethers with the release button and hook off the lower tether hooks.
- Release some of the tension of the tensioner by turning the tensioner knob counter-clockwise. Then you can push the knob towards the seat to open the lock-off. If pushing is difficult, turning the knob further counterclockwise releases the tension and opens the lock-off at its end position.
Make sure that the tensioner is totally back to its starting position with an open lock-off at the front. (14)
- Release the vehicle belt from the buckle and guide the belt back through the belt guiders.
- Bring the floor support into its shortest position while pressing the floor support adjuster button.
- Take the seat out of the vehicle.
- If you want to store the seat, you can bring the floor support into transport position by pulling it downwards and pushing it against the seat.
Placing the child into the seat



- While pressing the button of the central adjuster, pull the shoulder belts away from the seat with a flat hand. Make sure to pull the belts evenly so that they stay at the same length. Do not pull on the shoulder pads, as they are fixed and cannot move. (15)
- Open the harness buckle.
- To keep the straps out of the way, place the shoulder pads onto the magnets on each side of the seat shell. (15)
- Place your child into the seat and adjust the position of the shoulder belts and headrest if needed – see section “Adjusting to the growing child”.
- Place the shoulder belts over the child’s shoulders and close the buckle: CLICK! (15)
- Pull the central adjuster strap straight away from the seat to tighten the harness. Make sure to tighten the harness extremely well, so that you can no longer make a horizontal fold in the belts. When you tighten the harness, make sure that the child is positioned well against the backrest. (15)
Adjusting the seat to the growing child
Shoulder belt/headrest height
- The height of the shoulder belts and the headrest can be adjusted by pulling the headrest handle upwards at the back of the headrest and moving the headrest up or down. To be able to do so, the harness buckle has to be opened and the straps have to be pulled out. (16)

- To find the right height for your child, move the headrest all the way up, place your child into the seat, and then move the headrest downwards until it sits directly on your child’s shoulders.
- Important for use on the front seat: you should always have a minimum distance of 5 cm between the car’s front shield and the top of the child’s head or headrest, whichever is higher. If your car does not enable this for the highest headrest positions, you need to move the seat to the back seat instead.
Recline angle
- The recline angle can be adjusted to how it is comfortable for your child.
To do so, access the recline handle at the underside of the seat shell. (17)
Leg space
- You can decide with how much leg space you want to install the seat by adjusting the front brace position. This needs to be done before installing the seat. See section “Preparing the child seat for installation”.
Baby shell
- The baby shell must be used from birth and can be used until a stature height of 87 cm. Don’t take the baby shell out before the baby is 61 cm tall and can sit upright by themselves.
- The baby shell can be taken out of the seat shell by guiding the harness through the slots of the baby shell.
- The baby shell can be positioned back in the seat shell by guiding the harness through the slots of the baby shell. Use the baby shell only in the most reclined position of the seat. Make sure the harness is positioned correctly, so the harness can be pulled tight without twisting. (18)

Removing and refitting the cover
- Do take care when you remove the cover, as re-fitting the cover is done in reverse.
- The cover of the headrest can be taken off separately.
- For further instructions, please visit www.besafe.com
- When washing the seat cover, make sure to follow the wash label on the inside of the cover.
Warning: potential misuse
- The child seat MUST NOT be installed in a front passenger seat WITH AN ACTIVATED AIRBAG.

- The child seat MUST NOT be installed in a position where the vehicle belt is equipped with a belt airbag that cannot be deactivated.
- The floor support must always be used. Make sure that the floor support is fully pushed down and in full contact with the vehicle floor.
- Make sure that the vehicle belt is installed tight, the lock-off is closed and tensioned and that both lower tethers are connected with the vehicle and tensioned tight.
Guarantee
- Should this product prove faulty within 24 months of purchase due to materials or manufacturing fault, except covers and harness straps, please return it to the original place of purchase.
- The guarantee is only valid when you use your seat appropriately and with care. Please contact your retailer, they will decide if the seat will be returned to the manufacturer for repair. Replacement or return cannot be claimed. The guarantee is not extended through repair.
- The guarantee expires: when there is no receipt, when defects are caused by incorrect and improper use, when defects are caused by abuse, misuse or negligence.
IMPORTANT: Before disposing the seat at the end of its lifetime
- By ensuring that the product, batteries, and electronic parts are disposed of correctly, you will help to prevent potentially negative consequences for the environment and human health which could be caused by inappropriate waste handling.
- Please contact your local authority for further details about your nearest designated collection point.
Disposal of product
Disposal of product, waste batteries, and electronic parts (applicable in the EU and other countries with separate collection systems)
- This symbol on the product or on accompanying documents indicates that the product, the batteries, and electronic parts should not be treated as general household waste.
- Please remove any waste batteries and electronic parts before the disposal of the child seat. Follow the instructions for removal on the part or on the product.
- This seat has an electronic unit on the inside of the floor support. You find the removal instruction sticker on the backside of the floor support.
- Please hand in any waste batteries and electronic parts at a designated collection point for handling and recycling electrical and electronic waste.
Disassembly & disposal of the child seat
- This product can be dissassembled in different materials for waste handling; please visit www.besafe.com for detailed instructions.
- Please hand in the child seat at a designated collection point for handling non-general household waste.
Disposal of the packaging
- The packaging of this product contains a PE plastic bag and carton, please seperate these materials and hand them in the designated collection points in your area.
HTS BeSafe AS
NO-3535 Krøderen
Norway
Visit us: besafe.com
facebook.com/BeSafe
@besafeinternational




































