makita TM30D Cordless Multi Tool Instruction

SPECIFICATIONS
| Model: | TM30D | ||
| Oscillation per minute | 6,000 – 20,000 min-1 | ||
| Oscillation angle, left/right | 1.6° (3.2° total) | ||
| Rated voltage | D.C. 10.8 V | ||
| Battery cartridge | BL1015, BL1020B | BL1040B | |
| Overall length | 277 mm | 296 mm | |
| Net weight | without dust extraction attachment | 1.1 kg | 1.2 kg |
| with dust extraction attachment | 1.2 kg | 1.3 kg | |
- Due to our continuing program of research and development, the specifications herein are subject to change without notice.
- Specifications and battery cartridge may differ from country to country.
- Weight, with battery cartridge, according to EPTA-Procedure 01/2003
Intended use
The tool is intended for sawing and cutting wood, plastic, gypsum, non-ferrous metals, and fastening elements (e. g. unhardened nails and staples). It is also intended for working soft wall tiles, as well as dry sand-ing and scraping of small surfaces. It is especially for working close to edge and flush cutting.
Noise
The typical A-weighted noise level determined accord-ing to EN60745:
- Work mode: Sanding
- Sound pressure level (LpA): 75 dB(A)
- Uncertainty (K) :3dB(A)
The noise level under working may exceed 80 dB (A). - Work mode: Cutting with plunge cut saw blade Sound pressure level (LpA): 82 dB(A)
- Sound power level (LWA): 93 dB (A)
- Uncertainty (K) :3dB(A)
- Work mode: Cutting with segmental saw blade Sound pressure level (LpA): 81 dB(A)
- Sound power level (LWA): 92 dB(A)
- Uncertainty (K) :3dB(A)
- Work mode: Scraping
- Sound pressure level (LpA): 81 dB(A)
- Sound power level (LWA): 92 dB (A)
- Uncertainty (K) :3dB(A)
WARNING: Wear ear protection.
Vibration
The vibration total value (tri-axial vector sum) deter-mined according to EN60745:
- Work mode: Sanding
- Vibration emission (ah): 2.5 m/s2 or less
- Uncertainty (K) : 1.5 m/s2
- Work mode: Cutting with plunge cut saw blade
- Vibration emission (ah): 10.5 m/s2
- Uncertainty (K) : 1.5 m/s2
- Work mode: Cutting with segmental saw blade
- Vibration emission (ah): 5.5 m/s2
- Uncertainty (K) : 1.5 m/s2
- Work mode: Scraping
- Vibration emission (ah): 9.0 m/s2
- Uncertainty (K) : 1.5 m/s2
NOTE: The declared vibration emission value has been measured in accordance with the standard test method and may be used for comparing one tool with another.
NOTE: The declared vibration emission value may also be used in a preliminary assessment of exposure.
WARNING: The vibration emission during actual use of the power tool can differ from the declared emission value depending on the ways in which the tool is used.
WARNING: Be sure to identify safety measures to protect the operator that are based on an estima-tion of exposure in the actual conditions of use (taking account of all parts of the operating cycle such as the times when the tool is switched off and when it is running idle in addition to the trigger time)
EC Declaration of Conformity
For European countries only
Makita declares that the following Machine(s): Designation of Machine: Cordless Multi Tool
Model No./ Type: TM30D
Conforms to the following European Directives: 2006/42/EC
They are manufactured in accordance with the following standard or standardized documents: EN60745
The technical file in accordance with 2006/42/EC is available from: Makita, Jan-Baptist Vinkstraat 2, 3070, Belgium 24.9.2015
Yasushi Fukaya
Director
Makita, Jan-Baptist Vinkstraat 2, 3070, Belgium
SAFETY WARNINGS
General power tool safety warnings
WARNING: Read all safety warnings and all instructions. Failure to follow the warnings and instructions may result in electric shock, fire and/or serious injury.
Save all warnings and instructions for future reference.
The term “power tool” in the warnings refers to your mains-operated (corded) power tool or battery-operated (cordless) power tool.
Cordless multi tool safety warnings
- This power tool is intended to function for sawing, cutting, grinding and sanding. Read all safety warnings, instructions, illustrations and specifications provided with this power tool. Failure to follow all instructions listed below may result in electric shock, fire and/or serious injury.
- Hold power tool by insulated gripping sur-faces, when performing an operation where the cutting accessory may contact hidden wir-ing. Cutting accessory contacting a “live” wire may make exposed metal parts of the power tool “live” and could give the operator an electric shock.
- Use clamps or another practical way to secure and support the workpiece to a stable plat-form. Holding the work by hand or against your body leaves it unstable and may lead to loss of control.
- Always use safety glasses or goggles. Ordinary eye or sun glasses are NOT safety glasses.
- Avoid cutting nails. Inspect workpiece for any nails and remove them before operation.
- Hold the tool firmly.
- Make sure the application tool is not contact-ing the workpiece before the switch is turned on.
- Keep hands away from moving parts.
- Do not leave the tool running. Operate the tool only when hand-held.
- Always switch off and wait for the blade to come to a complete stop before removing the blade from the workpiece.
- Do not touch the application tool or the work-piece immediately after operation; they may be extremely hot and could burn your skin.
- Do not operate the tool at no-load unnecessarily.
- Always use the correct dust mask/respirator for the material and application you are work-ing with.
- ome material contains chemicals which may be toxic. Take caution to prevent dust inhala-tion and skin contact. Follow material supplier safety data.
- This tool has not been waterproofed, so do not use water on the workpiece surface.
- Ventilate your work area adequately when you perform sanding operations.
- Use of this tool to sand some products, paints and wood could expose user to dust contain-ing hazardous substances. Use appropriate respiratory protection.
- Be sure that there are no cracks or breakage on the pad before use. Cracks or breakage may cause a personal injury.
- Do not use accessories which are not specifi-cally designed and recommended by the tool manufacturer. Just because the accessory can be attached to your power tool, it does not assure safe operation.
- Wear personal protective equipment. Depending on application, use face shield, safety goggles or safety glasses. As appro-priate, wear hearing protectors, gloves and workshop apron capable of stopping small abrasive or workpiece fragments. The eye pro-tection must be capable of stopping flying debris generated by various operations . The dust mask or respirator must be capable of filtrating particles generated by your operation. Prolonged exposure to high intensity noise may cause hearing loss.
- Keep bystanders a safe distance away from work area. Anyone entering the work area must wear personal protective equipment. Fragments of workpiece or of a broken accessory may fly away and cause injury beyond immediate area of operation.
- Never lay the power tool down until the acces-sory has come to a complete stop. The spinning accessory may grab the surface and pull the power tool out of your control.
- Do not run the power tool while carrying it at your side. Accidental contact with the accessory could snag your clothing, pulling the accessory into your body.
- Do not operate the power tool near flammable materials. Sparks could ignite these materials.
- Do not use accessories that require liquid coolants. Using water or other liquid coolants may result in electrocution or shock.
- Always be sure that the tool is switched off and unplugged or that the battery cartridge is removed before carrying out any work on the tool.
- Always be sure you have a firm footing. Be sure no one is below when using the tool in high locations.
SAVE THESE INSTRUCTIONS.
WARNING: DO NOT let comfort or familiarity with product (gained from repeated use) replace strict adherence to safety rules for the subject product. MISUSE or failure to follow the safety rules stated in this instruction manual may cause serious personal injury.
Important safety instructions for battery cartridge
- Before using battery cartridge, read all instruc-tions and cautionary markings on (1) battery charger, (2) battery, and (3) product using battery.
- Do not disassemble battery cartridge.
- If operating time has become excessively shorter, stop operating immediately. It may result in a risk of overheating, possible burns and even an explosion.
- If electrolyte gets into your eyes, rinse them out with clear water and seek medical atten-tion right away. It may result in loss of your eyesight.
- Do not short the battery cartridge:
- Do not touch the terminals with any con-ductive material.
- Avoid storing battery cartridge in a con-tainer with other metal objects such as nails, coins, etc.
- Do not expose battery cartridge to water or rain.
FUNCTIONAL DESCRIPTION
CAUTION: Always be sure that the tool is switched off and the battery cartridge is removed before adjusting or checking function on the tool.
Installing or removing battery cartridge
CAUTION: Always switch off the tool before installing or removing of the battery cartridge.
CAUTION: Hold the tool and the battery car-tridge firmly when installing or removing battery cartridge. Failure to hold the tool and the battery cartridge firmly may cause them to slip off your hands and result in damage to the tool and battery cartridge and a personal injury.
Fig.1: 1. Red indicator 2. Button 3. Battery cartridge
To remove the battery cartridge, slide it from the tool while sliding the button on the front of the cartridge.
To install the battery cartridge, align the tongue on the battery cartridge with the groove in the housing and slip it into place. Insert it all the way until it locks in place with a little click. If you can see the red indicator on the upper side of the button, it is not locked completely.
CAUTION: Always install the battery cartridge fully until the red indicator cannot be seen. If not, it may accidentally fall out of the tool, causing injury to you or someone around you.
CAUTION: Do not install the battery cartridge forcibly. If the cartridge does not slide in easily, it is not being inserted correctly.
Battery protection system
The tool is equipped with a battery protection system. This system automatically cuts off power to the motor to extend battery life.
The tool will automatically stop during operation if the tool and/or battery are placed under one of the following conditions:
Overloaded:
The tool is operated in a manner that causes it to draw an abnormally high current.
In this situation, turn the tool off and stop the application that caused the tool to become overloaded. Then turn the tool on to restart.
If the tool does not start, the battery is overheated. In this situation, let the battery cool before turning the tool on again.
Low battery voltage:
The remaining battery capacity is too low and the tool will not operate. If you turn the tool on, the motor runs again but stops soon. In this situation, remove and recharge the battery.
Indicating the remaining battery capacity
Only for battery cartridges with “B” at the end of the model number
Fig.2: 1. Indicator lamps 2. Check button
Press the check button on the battery cartridge to indi-cate the remaining battery capacity. The indicator lamps light up for few seconds.
| Indicator lamps | Remaining capacity | |
Lighted | Off | |
|
| 75% to 100% | |
|
| 50% to 75% | |
| 25% to 50% | |
|
| 0% to 25% | |
NOTE: Depending on the conditions of use and the ambient temperature, the indication may differ slightly from the actual capacity.
Switch action
CAUTION: Before installing the battery car-tridge into the tool, always check to see that the tool is switched off
Fig.3: 1. Slide switch
To start the tool, slide the slide switch toward the “I (ON)” position.
To stop the tool, slide the slide switch toward the “O (OFF)” position.
Adjusting the orbital stroke rate
Fig.4: 1. Dial
The orbital stroke rate is adjustable. To change the orbital stroke rate, turn the dial between 1 and 5. The higher the number is, the higher the orbital stroke rate is. Preset the dial to the number suitable for your workpiece.
NOTE: The dial cannot be turned directly from 1 to 5 or from 5 to 1. Forcing the dial may damage the tool. When changing the dial direction, always turn the dial moving it through each intermediate number.
Lighting up the front lamp
CAUTION: Do not look in the light or see the source of light directly.
Fig.5: 1. Front lamp
Slide the slide switch toward the “I (ON)” position to light up the front lamp. The lamp keeps on lighting while the switch is the “I (ON)” position.
The light automatically goes out after pressing the rear of the slide switch, and then sliding the slide switch toward the “O (OFF)” position.
Overload protection
When the tool is overloaded and temperature of the tool or the battery cartridge reaches a certain level, the front lamp blinks and the tool automatically stops. Remove a cause of overload, and cool down the tool and the battery cartridge to restart.
ASSEMBLY
CAUTION: Always be sure that the tool is switched off and the battery cartridge is removed before carrying out any work on the tool.
Installing or removing application tool
Optional accessory
WARNING: Do not install application tool upside down. Installing application tool upside down may damage the tool and cause serious personal injury.
NOTE: Install application tool in the correct direc-tion according to your work. Application tool can be installed at an angle of every 30 degree.
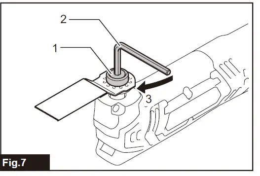
To Install an application tool (optional accessory), put the application tool on the tool flange so that the protru-sions of the tool flange fit in the holes in the application tool. Then secure the application tool by tightening the bolt firmly with the hex wrench.
Fig.6: 1. Protrusions of the tool flange 2. Holes in the application tool 3. Application tool instal-lation bolt
Fig.7: 1. Application tool installation bolt 2. Hex wrench 3. Tighten
To remove the application tool, loosen and remove the application tool installation bolt using a hex wrench and then take off the application tool.
When using the tool as a sander, set a sanding paper on the sanding pad (hook and loop fitting).
Make sure that their shape and dust extraction holes match each other when setting.
Fig.8: 1. Sanding pad 2. Tighten 3. Sanding paper
To remove the sanding paper, raise its end and peel it off.
When using application tools with a different type of installation section, use a correct adapter (optional accessory).
Fig.9: 1. Application tool installation bolt 2. Holes in the application tool 3. Adapter (required for some application tools) 4. Protrusions of the tool flange
Hex wrench storage
Fig.10: 1. Hex wrench
When not in use, store the hex wrench as shown in the figure to keep it from being lost.
OPERATION
WARNING: Before starting the tool and during operation, keep your hand and face away from the application tool.
CAUTION: Do not apply excessive load to the tool which may cause a motor lock and stop the tool.
CAUTION: Do not operate the tool with press-ing the battery cartridge against the tool.
Cutting, sawing and scraping
CAUTION: Do not move on the tool forcibly in the direction (eg. towards either side) of tool application with no cutting edge. It may damage the tool.
Fig.11
Put the application tool on the workpiece.
And then move the tool forward so that the application tool movement does not slow down.
NOTE: Forcing or excessive pressure on the tool may reduce efficiency.
NOTE: Before cutting operation, it is recommended to preset the orbital stroke rate 3-5.
Sanding
CAUTION: Do not reuse a sanding paper used for sanding metal to sand wood.
CAUTION: Do not use a worn sanding paper or sanding paper without grit.
Apply a sanding paper on the workpiece.
Fig.12
NOTE: Using a test material sample to try is recom-mendable to determine a correct orbital stroke rate suitable for your work.
NOTE: Use a sanding paper with the same grit until sanding the whole workpiece is completed. Replacing a sanding paper with different grit sanding paper may not get a fine finish.
Dust extraction attachment
CAUTION: Do not use the dust extraction attachment when sanding metal. Sucking spark and hot particle results in smoking and ignition.
Fig.13:
- Dust nozzle
- Joint
- Dust attachment
- Nozzle band
- Holes in the tool
- Felt ring
- Sanding pad
- Application tool installation bolt
- Install joint, dust nozzle and dust attachment.
- Install the nozzle band on the tool so that its pro-trusions fit in the holes in the tool to secure it.
- Put the felt ring and the sanding pad on the dust attachment and then secure them with the application tool installation bolt.
To perform cleaner operation, connect a vacuum cleaner to the tool. Connect a hose of vacuum cleaner to the dust extraction attachment (optional accessory).
Fig.14
MAINTENANCE
CAUTION: Always be sure that the tool is switched off and the battery cartridge is removed before attempting to perform inspection or maintenance.
NOTICE: Never use gasoline, benzine, thinner, alcohol or the like. Discoloration, deformation or cracks may result.
To maintain product SAFETY and RELIABILITY, repairs, any other maintenance or adjustment should be performed by Makita Authorized or Factory Service Centers, always using Makita replacement parts.
OPTIONAL ACCESSORIES
CAUTION: These accessories or attachments are recommended for use with your Makita tool specified in this manual. The use of any other accessories or attachments might present a risk of injury to persons. Only use accessory or attachment for its stated purpose.
If you need any assistance for more details regard-ing these accessories, ask your local Makita Service Center.
- Segment saw blade
- Round saw blade
- Plunge cut saw blade
- Scraper (rigid)
- Scraper (flexible)
- Serrated seg blade
- General joint cutter
- HM remover
- HM seg saw blade
- HM sanding plate
- Diamond seg sawblade
- Sanding pad
- Adapter
- Abrasive paper delta (red / white / black)
- Fleece delta (medium / coarse / without grit)
- Polishing felt delta
- Hex wrench
- Dust extraction attachment
- Makita genuine battery and charger
NOTE: Some items in the list may be included in the tool package as standard accessories. They may differ from country to country.



















