makita DTM50 Cordless Multi Tool Instruction Manual

SPECIFICATIONS
| Model | DTM40 | DTM50 |
| Oscillation per minute | 6,000 – 20,000 (min-1) | |
| Oscillation angle, left/right | 1.6 ° (3.2 ° total) | |
| Overall length | 307 – 324 mm | |
| Net weight | 1.7 – 2.0 kg | 1.8 – 2.2 kg |
| Rated voltage | D.C. 14.4 V | D.C. 18 V |
- Due to our continuing program of research and development, the specifications herein are subject to change without notice.
- Specifications may differ from country to country.
- The weight may differ depending on the attachment(s), including the battery cartridge. The lightest and heaviest combination, according to EPTA-Procedure 01/2014, are shown in the table.
Applicable battery cartridge and charger
| Battery cartridge | D.C.14.4 V Model | BL1415N / BL1430 / BL1430B / BL1440 / BL1450 / BL1460B |
| D.C.18 V Model | BL1815N / BL1820 / BL1820B / BL1830 / BL1830B / BL1840 / BL1840B / BL1850 / BL1850B / BL1860B | |
| Charger | DC18RC / DC18RD / DC18RE / DC18SD / DC18SE / DC18SF | |
- Some of the battery cartridges and chargers listed above may not be available depending on your region of residence.
WARNING: Only use the battery cartridges and chargers listed above. Use of any other battery cartridges and chargers may cause injury and/or fire.
Intended use
The tool is intended for sawing and cutting wood, plastic, gypsum, non-ferrous metals, and fastening elements (e. g. unhardened nails and staples). It is also intended for working soft wall tiles, as well as dry sand- ing and scraping of small surfaces. It is especially for working close to edge and flush cutting.
Noise
The typical A-weighted noise level determined accord- ing to EN62841:
Work mode: Sanding Sound pressure level (LpA) : 78 dB (A) Uncertainty (K) : 3 dB (A)
The noise level under working may exceed 80 dB (A).
Work mode: Cutting with plunge cut saw blade
Model DTM40
Sound pressure level (LpA) : 82 dB (A) Sound power level (LWA) : 93 dB (A) Uncertainty (K) : 3 dB (A)
Model DTM50
Sound pressure level (LpA) : 84 dB (A) Sound power level (LWA) : 95 dB (A) Uncertainty (K) : 3 dB (A)
Work mode: Cutting with segmental saw blade Sound pressure level (LpA) : 81 dB (A) Sound power level (LWA) : 92 dB (A) Uncertainty (K) : 3 dB (A)
Work mode: Scraping
Model DTM40
Sound pressure level (LpA) : 81 dB (A) Sound power level (LWA) : 92 dB (A) Uncertainty (K) : 3 dB (A)
Model DTM50
Sound pressure level (LpA) : 83 dB (A) Sound power level (LWA) : 94 dB (A) Uncertainty (K) : 3 dB (A)
NOTE: The declared noise emission value(s) has been measured in accordance with a standard test method and may be used for comparing one tool with another.
NOTE: The declared noise emission value(s) may also be used in a preliminary assessment of exposure.
WARNING: Wear ear protection.
WARNING: The noise emission during actual use of the power tool can differ from the declared value(s) depending on the ways in which the tool is used especially what kind of workpiece is processed.
WARNING: Be sure to identify safety mea- sures to protect the operator that are based on an estimation of exposure in the actual conditions of use (taking account of all parts of the operating cycle such as the times when the tool is switched off and when it is running idle in addition to the trigger time).
Vibration
The vibration total value (tri-axial vector sum) deter- mined according to EN62841:
Work mode: SandingVibration emission (ah) : 2.5 m/s2 or less
Uncertainty (K) : 1.5 m/s2 Work mode: Cutting with plunge cut saw blade
Model DTM40
Vibration emission (ah) : 9.5 m/s2 Uncertainty (K) : 1.5 m/s2
Model DTM50
Vibration emission (ah) : 10.0 m/s2 Uncertainty (K) : 1.5 m/s2
Work mode: Cutting with segmental saw blade
Model DTM40
Vibration emission (ah) : 5.0 m/s2 Uncertainty (K) : 1.5 m/s2
Model DTM50
Vibration emission (ah) : 5.5 m/s2 Uncertainty (K) : 1.5 m/s2
Work mode: Scraping
Model DTM40
Vibration emission (ah) : 7.5 m/s2 Uncertainty (K) : 1.5 m/s2
Model DTM50
Vibration emission (ah) : 9.5 m/s2 Uncertainty (K) : 1.5 m/s2
NOTE: The declared vibration total value(s) has been measured in accordance with a standard test method and may be used for comparing one tool with another.
NOTE: The declared vibration total value(s) may also be used in a preliminary assessment of exposure.
EC Declaration of Conformity
For European countries only
The EC declaration of conformity is included as Annex A to this instruction manual.
General power tool safety warnings
WARNING: Read all safety warnings, instruc- tions, illustrations and specifications provided with this power tool. Failure to follow all instructions listed below may result in electric shock, fire and/or serious injury.
Save all warnings and instruc- tions for future reference.
The term “power tool” in the warnings refers to yourmains-operated (corded) power tool or battery-operated (cordless) power tool.
- This power tool is intended to function for sawing, cutting, grinding and sanding. Read all safety warnings, instructions, illustrations and specifications provided with this power tool. Failure to follow all instructions listed below may result in electric shock, fire and/or serious
- Hold power tool by insulated gripping sur- faces, when performing an operation where the cutting accessory may contact hidden wiring. Cutting accessory contacting a “live” wire may make exposed metal parts of the power tool “live” and could give the operator an electric
- Use clamps or another practical way to secure and support the workpiece to a stable Holding the work by hand or against your body leaves it unstable and may lead to loss of control.
4. Always use safety glasses or goggles. Ordinary eye or sun glasses are NOT safety glasses.
- Avoid cutting nails. Inspect workpiece for any nails and remove them before
6. Hold the tool firmly.
- Make sure the application tool is not contacting the workpiece before the switch is turned
8. Keep hands away from moving parts.
- Do not leave the tool running. Operate the tool only when hand-held.
10. Always switch off and wait for the blade to come to a complete stop before removing the blade from the workpiece.
- Do not touch the application tool or the work- piece immediately after operation; they may be extremely hot and could burn your
12. Do not operate the tool at no-load unnecessarily.
- Always use the correct dust mask/respirator for the material and application you are working
14. Some material contains chemicals which may be toxic. Take caution to prevent dust inhalation and skin contact. Follow material supplier safety data.
- This tool has not been waterproofed, so do not use water on the workpiece
16. Ventilate your work area adequately when you perform sanding operations.
- Use of this tool to sand some products, paints and wood could expose user to dust contain- ing hazardous substances. Use appropriate respiratory
18. Be sure that there are no cracks or breakage on the pad before use. Cracks or breakage may cause a personal injury.
- Do not use accessories which are not specifically designed and recommended by the tool manufac- Just because the accessory can be attached to your power tool, it does not assure safe operation.
- Wear personal protective equipment. Depending on application, use face shield, safety goggles or safety glasses. As appro- priate, wear hearing protectors, gloves and workshop apron capable of stopping small abrasive or workpiece fragments. The eye pro- tection must be capable of stopping flying debris generated by various operations . The dust mask or respirator must be capable of filtrating particles generated by your operation. Prolonged exposure to high intensity noise may cause hearing
- Keep bystanders a safe distance away from work area. Anyone entering the work area must wear personal protective equipment. Fragments of workpiece or of a broken accessory may fly away and cause injury beyond immediate area of
- Never lay the power tool down until the acces- sory has come to a complete stop. The spinning accessory may grab the surface and pull the power tool out of your
- Do not run the power tool while carrying it at your side. Accidental contact with the accessory could snag your clothing, pulling the accessory into your
24. Do not operate the power tool near flammable
materials. Sparks could ignite these materials.
- Do not use accessories that require liquid Using water or other liquid coolants may result in electrocution or shock.
26. Always be sure that the tool is switched off and unplugged or that the battery cartridge is removed before carrying out any work on the tool.
Always be sure you have a firm footing. Be sure no one is below when using the tool in high locations.
Important safety instructions for battery cartridge
1. Before using battery cartridge, read all instruc- tions and cautionary markings on (1) battery charger, (2) battery, and (3) product using battery.
- Do not disassemble battery
3. If operating time has become excessively shorter, stop operating immediately. It may result in a risk of overheating, possible burns and even an explosion.
- If electrolyte gets into your eyes, rinse them out with clear water and seek medical atten- tion right away. It may result in loss of your
5. Do not short the battery cartridge:
- Do not touch the terminals with any con- ductive
(2) Avoid storing battery cartridge in a con- tainer with other metal objects such as nails, coins, etc.
- Do not expose battery cartridge to water or
A battery short can cause a large current flow, overheating, possible burns and even a breakdown.
- Do not store the tool and battery cartridge in locations where the temperature may reach or exceed 50 °C (122 °F).
7. Do not incinerate the battery cartridge even if it is severely damaged or is completely worn out. The battery cartridge can explode in a fire.
- Be careful not to drop or strike
9. Do not use a damaged battery.
- The contained lithium-ion batteries are subject to the Dangerous Goods Legislation require-
For commercial transports e.g. by third parties, forwarding agents, special requirement on pack- aging and labeling must be observed.
For preparation of the item being shipped, consult- ing an expert for hazardous material is required. Please also observe possibly more detailed national regulations.
Tape or mask off open contacts and pack up the battery in such a manner that it cannot move around in the packaging.
11. Follow your local regulations relating to dis- posal of battery.
- Use the batteries only with the products specified by Makita. Installing the batteries to non-compliant products may result in a fire, exces- sive heat, explosion, or leak of
Tips for maintaining maximum battery life
1. Charge the battery cartridge before completely discharged. Always stop tool operation and charge the battery cartridge when you notice less tool power.
- Never recharge a fully charged battery car- Overcharging shortens the battery service life.
3. Charge the battery cartridge with room tem- perature at 10 °C – 40 °C (50 °F – 104 °F). Let a hot battery cartridge cool down before charging it.
- Charge the battery cartridge if you do not use it for a long period (more than six months).
Installing or removing battery cartridge
To remove the battery cartridge, slide it from the tool while sliding the button on the front of the cartridge.
To install the battery cartridge, align the tongue on the battery cartridge with the groove in the housing and slip it into place. Insert it all the way until it locks in place with a little click. If you can see the red indicator on the upper side of the button, it is not locked completely
Battery protection system (Lithium- ion battery with star marking
|
- 2: 1. Star marking
Lithium-ion batteries with a star marking are equipped with a protection system. This system automatically cuts off power to the tool to extend battery life.
The tool will automatically stop during operation if the tool and/ or battery are placed under one of the following conditions:
- Overloaded:
The tool is operated in a manner that causes it to draw an abnormally high current.
In this situation, slide the slide switch on the tool toward the “O (OFF)” position and stop the application that caused the tool to become overloaded. Then slide the slide switch toward the “I (ON)” position again to restart. If the tool does not start, the battery is overheated. In this situation, let the battery cool before sliding the slide switch toward the “I (ON)” position again.
- Low battery voltage:
The remaining battery capacity is too low and the tool will not operate. In this situation, remove and recharge the battery.
Indicating the remaining battery capacity
Only for battery cartridges with the indicator
- 3: 1. Indicator lamps 2. Check button
Press the check button on the battery cartridge to indi- cate the remaining battery capacity. The indicator lamps light up for a few seconds.
NOTE: Depending on the conditions of use and the ambient temperature, the indication may differ slightly from the actual capacity.
Switch action
CAUTION:
Before installing the battery cartridge into the tool, always check to see that the tool is switched off
To start the tool, slide the slide switch toward the “I (ON)” position.
To stop the tool, slide the slide switch toward the “O (OFF)” position.
Adjusting the orbital stroke rate
- 5: 1. Dial
The orbital stroke rate is adjustable. To change the orbital stroke rate, turn the dial between 1 and 6. The higher the number is, the higher the orbital stroke rate is. Preset the dial to the number suitable for your workpiece.
NOTE:
- The dial cannot be turned directly from 1 to 6 or from 6 to 1. Forcing the dial may damage the When changing the dial direction, always turn the dial moving it through each intermediate number.
Lighting up the front lamp
- 6: 1. Front lamp
Slide the slide switch toward the “I (ON)” position to light up the front lamp. The lamp keeps on lighting while the switch is the “I (ON)” position. The light automatically goes out after pressing the rear of the slide switch, and then slid- ing the slide switch toward the “O (OFF)” position.
Overload protection
When the tool is overloaded and the tool temperature reaches a certain level, the front lamp blinks and the tool automatically stops. Remove a cause of overload to restart.
Indication lamp
- 7: 1. Indication lamp

- When the remaining battery capacity gets low, the indication lamp
- When the remaining battery capacity gets much lower, the tool stops during operation and the indication lamp lights up about 10
At this time, remove the battery cartridge from the tool and charge it.
ASSEMBLY
CAUTION:
- Always be sure that the tool is switched off and the battery cartridge is removed before carrying out any work on the
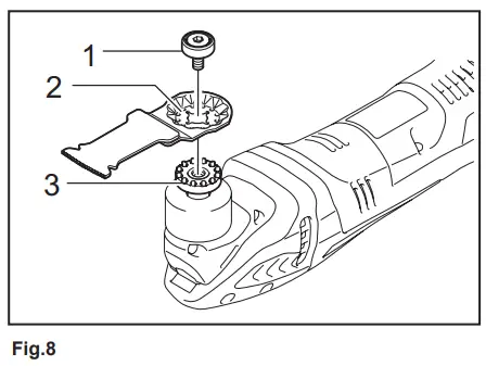
- 8: 1. Application tool installation bolt 2. Holes in the application tool 3. Protrusions of the tool flange

- 9: 1. Application tool installation bolt 2. Hex

wrench 3. Tighten
Put an application tool (optional accessory) on the tool flange so that the protrusions of the tool flange fit in the holes in the application tool and secure the application tool by tightening the bolt firmly with the hex wrench. When using sanding application tool, mount the appli- cation tool on the sanding pad so that it matches the sanding pad direction.
The sanding pad has a hook and loop type fitting system which allows easy and rapid fitting of a sanding paper. As sanding papers have holes for dust extraction, mount a sanding paper so that the holes in a sanding paper match those in the sanding pad.
To remove a sanding paper, raise its end and peel it off. Loosen and remove the application tool installation bolt using a hex wrench and then take off the application tool.
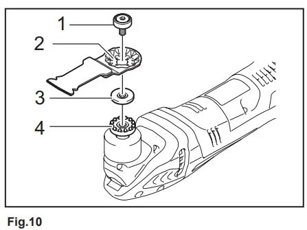
- 10: 1. Application tool installation bolt 2. Holes in the application tool 3. Adapter (required for some application tools) 4. Protrusions of the tool flange

When using application tools with a different type of installation section, use a correct adapter (optional accessory).
Hex wrench storage
When not in use, store the hex wrench as shown in the figure to keep it from being lost
► Fig.12
Put the application tool on the workpiece.
And then move the tool forward so that the application tool movement does not slow down.
► Fig.13
Apply a sanding paper on the workpiece.
NOTE:
- Using a test material sample to try is recom- mendable to determine a correct orbital stroke rate suitable for your
- Use a sanding paper with the same grit until sanding the whole workpiece is completed. Replacing a sanding paper with different grit sanding paper may not get a fine
- 14: 1. Nozzle band 2. Dust nozzle 3. Dust nozzle 4. Dust attachment 5. Felt ring (ø 37 mm) 6. Pad (with OIS marking)

- Application tool installation bolt 8. Holes in the tool 9. Protrusions on the nozzle band
- Spacer 11. Felt ring (ø 47 mm) 12. Pad (with STARLOCK marking)
- Install dust nozzles and dust
- Install the nozzle band on the tool so that its pro- trusions fit in the holes in the tool to secure
- Put the felt ring and the sanding pad on the dust attachment and then secure them with the applica- tion tool installation
► Fig.15
When you wish to perform cleaner operation, connect a vacuum cleaner to your tool. Connect a hose of vac- uum cleaner to the dust extraction attachment (optional accessory).
To maintain product SAFETY and RELIABILITY, repairs, carbon brush inspection and replacement, any other maintenance or adjustment should be performed by Makita Authorized Service Centers, always using Makita replacement parts.
OPTIONAL ACCESSORIES
If you need any assistance for more details regard- ing these accessories, ask your local Makita Service Center.
- Segment saw blade
- Round saw blade
- Plunge cut saw blade
- Scraper (rigid)
- Scraper (flexible)
- Serrated seg blade
- General joint cutter
- HM remover
- HM seg saw blade
- HM sanding plate
- Diamond seg sawblade
- Sanding pad
- Adapter
- Abrasive paper delta (red / white / black)
- Fleece delta (medium / coarse / without grit)
- Polishing felt delta
- Hex wrench
- Dust extraction attachment
- Makita genuine battery and charger
NOTE:
- Some items in the list may be included in the tool package as standard accessories. They may differ from country to


































