zewa UAM-830 Automatic Blood Pressure Monitor
Introduction
You have purchased a quality Zewa Blood Pressure Monitor.
The material and components of this product have especially been designed for your device. The use of this device will be described in detail within the following pages.
Important Warning/Medical Disclaimer
Before using your blood pressure monitor, you should read and understand all instructions and follow all warnings. Information in this manual is provided for informational purposes and this manual and product are not meant to be a substitution for the advice provided by your own physician or another medical professional. You should not use the information contained herein or this product for diagnosing or treating a health problem or disease, or prescribing any medication, if you have or suspect that you have a medical problem, promptly contact your healthcare provider. For specific information about your own blood pressure, including what measurement is considered normal for you, CONSULT YOUR PHYSICIAN.
Commonly Asked Questions About Blood Pressure
SYSTOLIC PRESSURE. When the heart contracts it sends blood out into the body. This pressure is referred to as systolic pressure.
DIASTOLIC PRESSURE. The pressure that is created, as the heart pulls blood back through is called diastolic pressure.
Blood pressure is recorded as systolic over diastolic, as shown here.
JNC7 Classification Table – for adults within the U. S.
SOURCE: The Seventh Report of the Joint National Committee on Prevention, Evaluation and Treatment of High Blood Pressure for Adults, National Heart, Lung and Blood Institute – May 2003.
Why Does My Blood Pressure Fluctuate?
Since blood pressure changes with every beat of the heart, it is in constant fluctuation throughout any given day. In addition to these natural changes, there are other factors that may affect blood pressure such as:
- Temperature
- Fear (too hot or cold)
- Anger
- Humidity
- Anxiety
- Restlessness
- Food and beverage
- Lack of sleep consumption
- Constipation
- Individual physical
- Stress conditions
In addition to these factors you should talk with your physician to see what may be affecting you.
How Do I Know I have High Blood Pressure?
It’s nearly impossible to know if your blood pressure is elevated without having it checked. People have the common misconception that one can
“feel” their blood pressure rise. It is because of this mystery that hypertension has been named “the silent killer”.
Don’t let it sneak up on you! Start monitoring your blood pressure every day with your new CHM blood pressure monitor.
Why Is Important To Control My Blood Pressure?
Left uncontrolled, hypertension may place an incredible amount of stress on your heart and arteries, both of which become forced to work harder to keep blood flowing in a healthy manner throughout the body. Over time, this stress may result in health problems including over-enlargement of the heart, loss of elasticity of the arteries, heart disease, stroke and even death. Making some simple lifestyle changes now may help you stay healthy in the future.
Measurement Method
Zewa blood pressure monitors measure blood pressure and pulse by using what’s called an oscillometric method, meaning they measure the fluctuations in pressure. This is done by first wrapping a fitted cuff around the upper arm (or wrist, depending on the model). The monitor then automatically fills the cuff with air creating pressure around the arteries inside of the arm (or wrist). Mounted inside of the cuff is a special gauge that is capable of sensing the small oscillations (fluctuations) in pressure.
These fluctuations are produced as a result of the pressure the cuff has placed around the arm and are, in a basic sense, the arteries contracting (getting larger and smaller) with each heartbeat. The monitor then measures how high and how quickly these contractions occur and converts that information into a digital value.
Special Features
Pl SYSTEM™
Zewa’s exclusive Pl System™ (Personalized Inflation System) automatically determines the correct inflation pressure needed to take a blood pressure measurement. Personalized inflation results in a faster, more comfortable and more accurate reading.
Low Noise System
The low-noise, rolling motor pump allows this monitor to offer quiet inflation.
Memory Feature
Zewa’s special memory feature allows the monitor to store up to 60 measurements. It also calculates the average for a quick and easy comparison.
Accuracy
Zewa monitors have been clinically tested against a scientific device called a sphygmomanometer considered the standard in blood pressure measurement. All Zewa monitors have performed equivalent to measurements taken with this scientific device and are within the accuracy limits prescribed by the American National Standard for Electronic and Automated Sphygmomanometers.
Part Identification

Battery Installation/ Replacement
- Remove the battery cover from the battery compartment.

- Insert 4 “AA” (1.5V Alkaline) type batteries with polarity as indicated.
Do not use rechargeable batteries.
- Replace the battery cover.
The battery cover is closed tight when you hear a clicking sound.
You need to replace the batteries when:
- A low battery symbol appears on the display
- The Start/Stop button is pushed and nothing appears on the display
- Batteries are hazardous waste. Do not dispose of them together with the household garbage.
- Please remove the batteries when stored for a longer period of time. Leaving the batteries in the compartment for a long time may cause leakage, which may lead to damage of the unit.
Important Reminders
Follow your doctor’s advice on how and when to take your blood pressure. Otherwise, here are some important hints:
Before taking a measurement
- Sit quietly for about 10 minutes. This will allow your body to return to its normal, resting state.
- Take your blood pressure in a comfortable environment – not too cold, not too hot as temperature may affect your measurement.
- Make sure you haven’t just consumed any beverages containing caffeine such as coffee, non-herbal tea or cola. Also don’t smoke just before taking a measurement. It’s advisable to wait 30-45 minutes before taking a measurement. While taking a measurement
- Sit still and quietly while measuring. Talking or moving may elevate measurements.
- For consistency, it is recommended to measure your blood pressure using the same arm and at about the same time each day. If possible, we suggest using your left arm. You can set your alarm to remind you to take your blood pressure.
- When taking multiple measurements right after each other, make sure you wait at least 3 minutes in between. Waiting allows your blood vessels to return to their normal state.
- Sit your legs uncrossed and your feet flat on the floor. Do not touch the cuff or monitor at any time during the measurement. Relax.
Proper Use of the Arm Cuff
- Plug the cuff connection tube into the main unit

- Remove all clothes from your upper arm allowing the cuff to fit directly on the skin.

- Unwrap the arm cuff, leaving the end of the cuff through the D-ring of the cuff.

- Put your arm through the loop, and pull it up to the position of your upper arm.

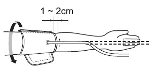
- Position the cuff around your upper arm so that the lower edge of the cuff is about 1 inch (1-3 cm) above your elbow. The tube coming form the cuff runs down inside of your palm.

- Tighten the cuff by pulling on the end of the cuff and attaching it to the fasteners on the other end of the cuff.
Make sure you can not put more than 2 fingers in between your cuff and your arm, which could give you an error reading. If you can fit more than 2 fingers re-tighten the cuff.
- Put your arm on a table so that the cuff is about the same height as your heart and turn your palms lightly up. Relax.

Taking a Measurement
- Press the START/STOP button.
All display symbols appear on the screen. The cuff starts to inflate automatically.
- Inflation and measurement.
The unit will automatically start inflation until the optimum air pressure in the cuff is reached. The device may be re-inflated automatically when the first inflation is not enough. Note: In an emergency press the START/STOP button and the device starts releasing the air in the cuff immediately.
- Finalizing the measurement
After the monitor completes the measurement, it will automatically display your systolic, diastolic measurement and pulse rate. - Memory
The monitor will automatically store your readings. - Turn off the unit
The monitor will turn off automatically after 2 minutes. To turn it off manually push the START/STOP button.
Memory Recall
- This blood pressure monitor can store 60 readings. Once the memory is full (60 readings) it will automatically delete the oldest reading and replace it with the newest one.
- Average function: This monitor will calculate the average of all readings taken. When recalling the memory the first reading displayed is the average, indicated by the “AVG” symbol on the display.
- How to recall the memory after taking a measurement (when the device was not turned off):

- How to recall the memory when the monitor was turned off:

( Clearing Values from Memory)
Press the Memory Button for a couple of seconds until the numbers disappear from the display.
Error Indication
The Following error symbols appear in the display during measurement.
| Symbol | Cause | Correction |
|
|
Inflation is not made appropriately while the motor works. | Check the cuff it is firmly connected to monitor. |
| Check if the cuff is tight around your arm, re-tighten cuff if necessary. | ||
| Check if the cuff is positioned correctly above your elbow, re-position if necessary. The measurement should be performed calmly. | ||
![]()
|
When the batteries are too weak. |
Replace all of the batteries with new ones. |
![]() | Nothing appears on display after pushing the STAR button. | Replace ALL batteries. Check that the batteries are installed correctly (polarity). |
| Measurement values appear too high or too low. | measure your arm size and make sure your circumference is within the range indicated on the cuff. Check the placement of the cuff. |
Cleaning & Maintenance
Care
- Keep the unit in the storage case when not in use.
- Clean the unit with a soft dry cloth. Do not use any abrasive or volatile cleaners.
- Never immerse the unit or any components in water.

Maintenance

- Do not clean the body and cuff with naphtha, thinner or gasoline etc.
- Do not wet the cuff or attempt to dean the cuff with water.

- Store the unit in a dean and dry location. Do not subject the unit to extreme hot or cold temperatures, humidity and direct sunlight.
- Remove the batteries if the unit will not be used for 3 months or longer. Always replace all of the batteries with new ones at the same time.

* Use the unit consistent with the instructions provided in this manual. Use only authorized parts and accessories.
Specifications
| Model No. | UAM-830 | ||
| Display | LCD Digital Display | ||
| Measuring Principle | Oscillometric Method | ||
| Measurement Localization | Upper Arm | ||
| Measurement Range | Pressure | 0 to 299 mmHg (0 – 39.9 kPa) | |
| Pulse | 40 to 199 Pulses/min | ||
| Accuracy | Pressure | ± 3 mmHg (0.4 kPa) | |
| Pulse | ± 5% of reading | ||
| LCD Indication | Pressure | 3 Digits Display of mmHg or kPa | |
| Pulse | 3 Digits Display | ||
| Symbol | Memory/Heartbeat/Low Battery/lHB, etc. | ||
| Inflation | Automatic by Internal Pump | ||
| Deflation | Automatic by Air Valve | ||
| Rapid Air Release | Automatic by Air Valve | ||
| Memory Function | 60 Readings | ||
| Power Source | 4 AA Alkaline Batteries; D.C. 6V | ||
| Automatic Power-Off | In 2 Minutes | ||
| Main Unit Weight | Approx. 290g (Batteries not included) | ||
| Cuff | Soft Arm Cuff | ||
| Accessorial Components | Cuff, Batteries, Instruction Manual, Warranty book, Tape measure, Cuff exchange card, Storage bag | ||
| Operating Environment | Temperature | 10 – 40°C (50 – 104°F) | |
| Humidity | 15 – 90%RH (Noncondensing) | ||
| Barometric Pressure | 105 – 80 kPa | ||
| Storage Environment | Temperature | -20 – 60°C (-4 – 140°F) | |
| Humidity | 10 – 95%RH (Noncondensing) | ||









































