AT-9524RP Front Pipe Polaris RZR XP Turbo
Instruction Manual
AT-9524RP Front Pipe Polaris RZR XP Turbo
TURBO PIPE, 2.5″
2020-UP POLARIS RZR PRO XP
2016-UP POLARIS RZR XP 1000 TURBO
2018-UP POLARIS RZR XP TURBO S

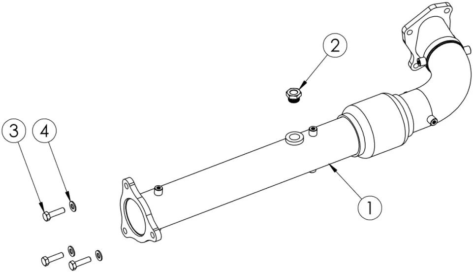
| ITEM NO. | DESCRIPTION | QTY. |
| 1 | TURBO PIPE | 1 |
| 2 | BUNG ADAPTOR | 1 |
| 3 | M8 X 30 HEX BOLT | 3 |
| 4 | M8 WASHER | 3 |
PLEASE READ BEFORE STARTING INSTALLATION
While MBRP Ltd. has made every effort to ensure that all components of this system are of superior quality and properly packaged, it is the installer’s responsibility to ensure the following before removal of the factory exhaust:
- that ALL components shown above are present.
- that ALL mating components fit together.
- that there are no damaged components.
- that the system you have purchased is appropriate for your vehicle year, model and configuration.
- that the system will not interfere with any modifications previously installed or planned.
- that you have read and understand these instructions.
If you have any questions or are uncertain about any aspect of the installation of this system to your vehicle please contact your dealer before commencing installation.
Removal of Stock Exhaust:
* Retain all factory hardware for final installation.
- Remove the rear panel covering the muffler. Refer to Figure 1.

- Remove the three (3) nuts securing the muffler inlet to the exhaust/turbo pipe. Retain the gasket at this connection for reuse.
- Remove the upper and lower springs securing the muffler to the vehicle.
- Remove the muffler by sliding the hangers out of the rubber isolators.
- Remove the sensor from the turbo pipe (it will be reused).
- Remove the heat shields from the front of the turbo pipe and the turbocharger. It is necessary to first remove the panel(s) and shields behind the front seats and above the turbocharger to improve access to the turbocharger. Refer to Figures 2 & 3. Note the location of each shield for reinstallation.


- Remove the four (4) bolts securing the turbo pipe to the turbocharger and remove the turbo pipe. Retain the gasket on the turbocharger for reuse. Refer to Figure 4.

Installation of MBRP Exhaust:
- Install the Turbo Pipe onto the turbocharger, reusing the stock bolts (4) and gasket.
- Reinstall all heat shields.
- Reinstall the muffler by inserting the hangers into the rubber isolators and replacing the upper and lower springs.
- Align the Turbo Pipe flange with the muffler inlet, then insert the gasket and install the three (3) Hex Bolts and Washers to the stock flange nuts.
- Reinstall the sensor into the Turbo Pipe bung. For older model years, first install the Bung Adaptor.
- Reinstall the rear panel.
Congratulations! You are ready to begin experiencing the improved performance and driving excitement of your MBRP SXS Exhaust upgrade. We know you will enjoy your purchase.
AT-9524RP © 12/21



















