

MagnaLatch Gate Latch Child Safety Gate Lock
Installation Guide
MagnaLatch Gate Latch Child Safety Gate Lock
For installation video go to www.ddtech.com
Use MagnaLatch® Gate Latch for child safety gates

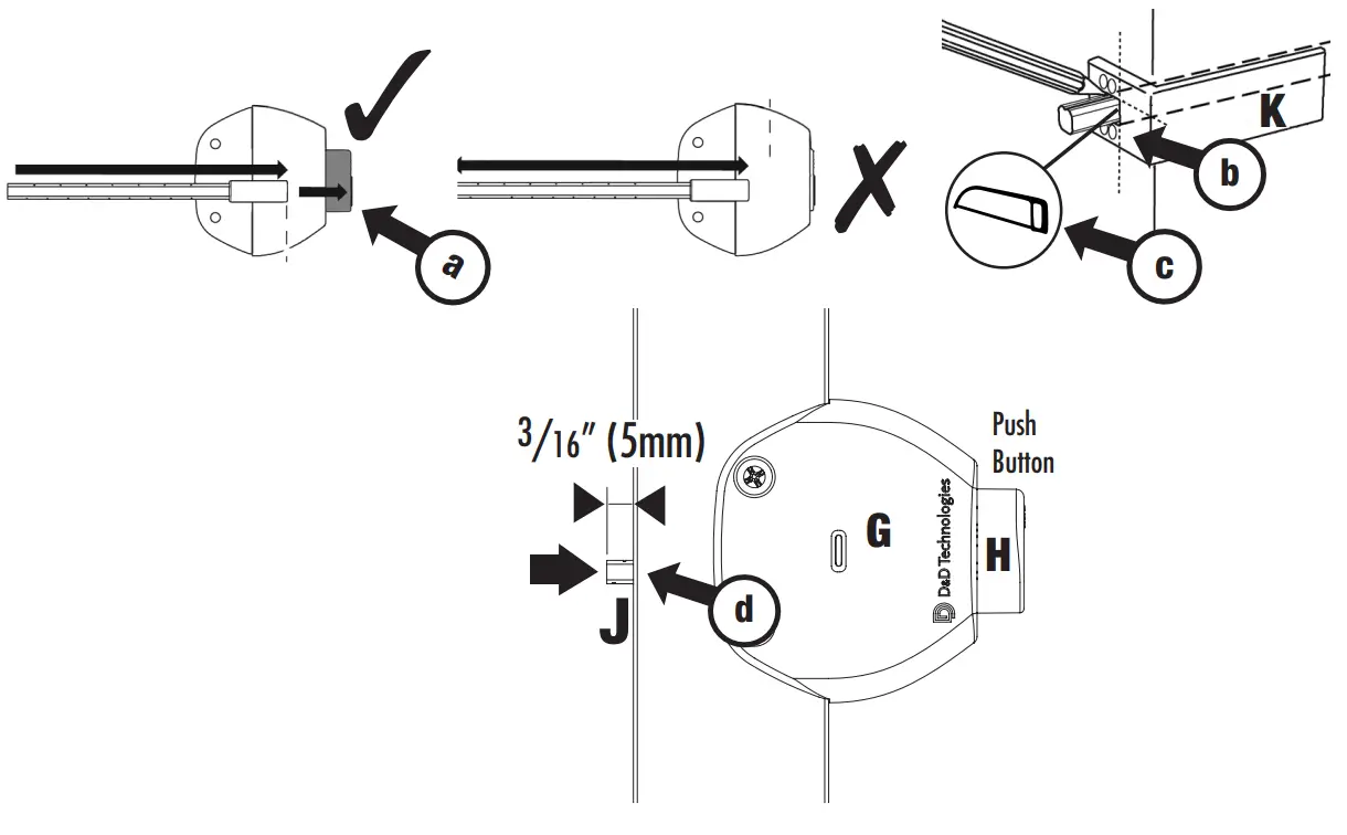
GAP VARIANCE:

- DETERMINE LEFT/RIGHT HANDING
IMPORTANT: Ensure the centre screw ‘D’ is in the correct hole.
IMPORTANT: Ensure silver lock is always at the bottom.
- Position hole in snap-cover over lock tail and then snap C into place.

- a) Mark drill hole location for desired keylock height on front of post using hole #1 on jig K.
b) Draw a line along the side of jig K. Take care in marking out, as it MUST be accurate.
c) Reverse jig K and re-align with the drawn line to mark hole #1 on the back of the post. Check that it is level with the marking on the front of post.
- a) Drill pilot holes on the front and back of the post. Always drill from both sides of the post; never from one side only.
b) Enlarge pilot holes by re-drilling with larger drill size. For wood or vinyl gates see Z1 on back page.
- a) Remove all keys from locks
b) Attach push-rod J to the lock cylinder tail in part G.
Rotate J to ensure the inch or millimeter numbers are facing up.
- Attach to post using screws E.

- a) Push-rod J in towards the post to fully extend the push-button H outwards.
b) Firmly place jig K on the post over rod J. If K will not sit flush, flip part K so that the leg does not collide with component G. (If ‘K’ is too long cut it shorter so it does not collide with ‘G’.)
c) Cut rod so that it is flush with the front face of part K. Be sure to cut squarely.
d) IMPORTANT: Check rod J overhang length is 3⁄16” (5mm).
- IMPORTANT: Attach bush F onto back of latch to ensure correct alignment of Latch and Rod.

- a) Check that the trip plate is not locked and moves freely up and down.
b) Attach latch to post.
- Align striker L to rivet in centre of V shape.

Y. Use hole # 2 on fitting jig K for wood fence posts ONLY when recessing the side fixing legs of the latch is required.
Note: Screws supplied are self-drilling for metal. See your hardware specialist for correct wood screws.


Z1. PVC tube* protects push-rod & locks in vinyl and wood fence posts.* PVC tube not supplied, or required, for Australian-New Zealand version of this product.
Z2.

Insert PVC tube M for vinyl and wood fence posts.

Apply glue completely around edges of PVC tube on both sides of fence post
LIST OF COMPONENTS

Note: Screws supplied are self-drilling for metal. See your hardware specialist for correct wood screws.
* PVC tube ‘M’ not supplied, or required, for Australian-New Zealand version of this product.

International
WARNING: Using LokkLatch® DELUXE on pool gates is permissible in North America but NOT in Australia-New Zealand.
NOTE: If installing the LokkLatch® DELUXE to a gate leading to a swimming pool or spa, consult your local building official for child safety Code requirements in your area.
MAINTENANCE: REMOVE KEY/S FROM LOCK/S AFTER USE. Do not lubricate the latch with petroleum-based lubricants at any time – use only powdered graphite. Ensure all screws are tightened firmly and that the Latch Body and/or Access Kit is kept free of dirt, sand and other debris which could impair reliable performance.
TROUBLESHOOTING TIPS
– A1: Check the push rod has been cut to correct length – see step ‘7’ over page.
– A2: Check that the push-rod has been fitted to the lock-tail horizontally – see step ‘5’ over page.
– A3: Check that the screws holding on the main latch backing bracket are in the correct positions – see step ‘1’
– A4: Check that there is no debris restricting the movement of the push-rod or push-button.
– A5: Check that the holes in the post are in alignment – and level – and that the push-rod operates smoothly.
If you require additional push-rods or have damaged or missing components please telephone your local D&D Office for assistance:
North America: 1800 716 0888 or 714 677 1300, Australia-New Zealand: (02) 9454 7888, Europe: +31 (0)30 291 9847

AUSTRALIA: Unit 6, 4-6 Aquatic Dr, Frenchs Forest NSW 2086
USA: 17531 Metzler Lane, Huntington Beach, CA 92647
www.ddtech.com
EUROPE: Niasstraat 1, 3531 WR Utrecht, The Netherlands.
LLDINSTR004PA 6/7/20


















