
USER’S MANUAL (PART 1)
AIR CONDITIONER FOR ELECTRICAL ENCLOSURES
IP-ACIW / IP-ACOW / IP-ACIR
| Document: UMA-CDZ-PART1IP-00 | ISSUE | Date | Name |
| Description Original user’s manual for air conditioner IP-ACIW / IP-ACOW / IP-ACIR series Language: English | REV. 01 | 1/3/2021 | |
| REV. 02 | |||
| REV. 03 |
Designation: AIR CONDITIONER FOR ELECTRICAL ENCLOSURE UMA-CDZ-PART1IP-00
INTRODUCTION
User’s manual (PART 1 + PART 2) contains the information required for a proper installation and instructions for air conditioner maintenance and use; IP ENCLOSURES recommends that the utmost attention is paid to the following instructions.
Though this manual has been issued with the greatest care, IP ENCLOSURES will not take any responsibility deriving from its use.
The same applies to each person or Company involved in the issuing of this manual.
This document is the exclusive property of IP ENCLOSURES which forbids any reproduction and divulgation, even in part, of the document, unless expressly authorized. IP ENCLOSURES reserves the right to make any formal or functional changes at any moment and without any notice.
The purpose of this manual is to inform the customer about the AIR CONDITIONER functions, informing him about the potential of the product in addiction to warnings concerning the proper installation.
WARNING
- Safety of AIR CONDITIONER is warranted only by proper use of these instruction which must be kept.
- Installation must be done by qualified personnel only after enclosure power supply disconnecting.
- Before any operation, switch off the power supply.
- The appliance is classified as not accessible to the general public
- The air conditioner is not to be used by persons (including children) with reduced physical, sensory or mental capabilities, or lack of experience and knowledge, unless they have been given supervision or instruction.
- Children being supervised not to play with the air conditioner.
- The air conditioner must be installed in accordance with national wiring regulations (IEC 60335-2-40:2018)
- Upstream of the electrical connection, an efficient disconnection system must be provided in compliance with the AS / NSZ 3000 standard
- Internal and external components of electrical enclosure don’t have to affect the proper installation of air conditioner.
- Inside of electrical enclosure there must not be components that could affect the proper ventilation.
- Provide a proper fixing of the electrical enclosure to the floor to prevent accidental tipping due to the supplementary weight of installed AIR CONDITIONER.
- Installation position of AIR CONDITIONER must be selected to ensure good ventilation. Take care that any internal/external components of enclosure don’t obstruct air passage. (see section 3.2 GENERAL CHECKS BEFORE INSTALLATION)
- The heat loss of the components installed inside of the electrical enclosure must be lower than useful cooling power of the AIR CONDITIONER.
- AIR CONDITIONER IP-ACIW and IP-ACOW series must be handled in upright position and protected against accidental tipping over.
- AIR CONDITIONER IP-ACIR series must be handled in horizontal position.
- Do not modify the AIR CONDITIONER structure if it is not specified in these instruction or associated instructions.
- During transportation of enclosures with installed air conditioner a proper bracket must be used to support the cooling unit weight.
- Install only original spare parts and accessories.
- Protection against access to live parts must be warranty by installer.
- The supply connector of the AIR CONDITIONER must only be connected and disconnected when electrical enclosure is electrically disconnected.
- Follow all technical data shown in this manual.
These instructions, as well as User’s manual PART2 and other correlated documents, are an integral part of the product. They must be always available for operating and maintenance personnel.
DESCRIPTION
2.1 GENERAL DESCRIPTION
The IP ENCLOSURE air conditioners IP-ACIR , IP-ACIW , IP-ACOW series are stationary monoblock cooling units especially designed for dissipation of heat loss inside electrical enclosures:
IP-ACIW series: wall mount air conditioners for indoor application
IP-ACOW series: wall mount air conditioners for outdoor application
IP-ACIR series: roof mount air conditioners for indoor application
These air conditioners have different cooling performance. Please refer to User’s manual PART2 especially dedicated to each single model for cooling performance.
IP ENCLOSURE air conditioners are designed only for stationary operations.
Unproper use of the air conditioners may cause dangerous situation.
IP ENCLOSURE must be installed only on electrical enclosures with protection degree at least IP54. Protection degree of enclosure can be respected only if AIR CONDITIONER is installed according to instructions requests.
AIR CONDITIONER is dust protected; however, dust can enter in case of continuous exposure.
AIR CONDITIONER is protected for spray water, but it isn’t protected in case of water jet.
2.2 SUPPLY DESCRIPTION
Keep the proper package positioning according to arrow printed on box side.
The compressor must always remain in an upright position to prevent leakage of lubricant or excessive presence of the same in the compression chamber.
AIR CONDITIONER is supplied fully assembled ready to use, the operator has only to install the unit on the electrical enclosure with included mounting accessories.
Check, before packaging disposing, that inside there are no components or documents related to the product.
PACKAGE CONTENTS
1-Air conditioner
2-User’s manual part1
3-User’s manual part2
4-Accessories bag
4.1-Gasket
4.2-Fixing screws and washers
4.3-Electrical male connector
4.4-Pipe for condensate drain connection (only for wall mount series)
5-Lifting eye bolts (available on request) The proper position of package must be respected also during handling and storage.
2.3 PRODUCT DESCRIPTION
AIR CONDITIONER structures may be different between series. Figure 2 refers to IP-ACIW series, other models may be appeared different, but functions are substantial the same.

DESCRIPTION
- Inlet grill (hot air from enclosure)
- Main connector
- Blind threaded insert for fixing on enclosure wall
- Outlet hole (cold air to enclosure)
- Rating label
- Outlet grill (hot air from condenser coil)
- Intlet grill (air from ambient)
- Thermostat
IP ENCLOSURES air conditioners are designed and manufactured to cooling electrical cabinet IP54 protection level, any other use is not permitted:
- Don’t install AIR CONDITIONER in ambient with excessive moisture and dirt.
- The air conditioner must not be installed and used in publicly accessible areas.
- IP ENCLOSURES air conditioners are designed only for stationary operations.
- The AIR CONDITIONER is built in compliance with safety regulations in force, improper use could generate hazardous situations for unit and third parties.
IMPROPER USE EXAMPLES:
– Air conditioner installation on electrical enclosure with protection degree lower than IP54;
– Air conditioner not installed on electrical enclosure;
– Air conditioner installed in not stationary applications;
– Use of unauthorized spare parts;
IP ENCLOSURES air conditioners are especially designed for dissipation of heat loss inside electrical enclosures with IP54 protection degree.
Air circulation inside the enclosure allows to keep enclosure air volume isolated from external ambient air, it preserves the inside of the enclosure against dirt and humidity which are present in the external air.
The air conditioner is substantially split in two different zones:
- ambient side dedicated to compressor, condenser coil and condenser fan housing. It has IP34 protection degree, in this side the condenser fan draws ambient air and push it through condenser coil fins to increase the heat exchanging from refrigerant to environment air.
- enclosure side dedicated to evaporator coil and evaporator fan housing. It has IP54 protection degree, in this side the evaporator fan draws enclosure air and push it through evaporator coil fins to increase the heat exchanging from enclosure air to refrigerant.
2.4 AIR CONDITIONER FUNCTIONAL DESCRIPTION
The conditioner is typically composed by four elements hermetically linked together by copper pipework filled with refrigerant R134a (CH2FCF3) These four elements are (fig.3):
- compressor;
- condenser coil;
- expansion valve;
- evaporator coil.
The compressor increases refrigerant pressure and temperature which becomes compressed hot gas.
Hot gas goes to heat exchanger (condenser coil) where it transfers heat to external air (ambient), the temperature of the refrigerant drops and it becomes high pressure liquid. Trough the expansion valve the high pressure of liquid decreases and refrigerant becomes cooled liquid; the refrigerant troughs the evaporator coil (heat exchanger) and it absorbs heat from air coming from the electrical enclosure cooling it. The refrigerant evaporates, at this point the gas is sucked by compressor and then a new cycle starts again.
2.4.1 KNOW THE PRODUCT
The mechanical, electrical and refrigeration components of air conditioner are listed and briefly described below. Knowing the machine also means understanding its needs and avoids improper operations that could compromise the operation.
AIR CONDITIONER structures may be different between series. Fig.4 refers to IP-ACIW series, other models may be appeared different, but components are substantial the same.
Housing
The housing (1) is made by galvanised sheet steel. The cover (2) is made by galvanised sheet steel electrostatically powder coated RAL7035.
Compressor
The compressor (3) is rotary or alternative type with safety thermal cut-out in case of overheating.
Condenser coil
The condenser coil (4) is a heat exchanger especially designed to remove heat from refrigerant thanks to ambient air pushed through exchanger fins by condenser fan.
Expansion valve
The expansion valve (5) is a long copper capillary with a very small internal diameter. This component causes a large loss of coolant pressure thus reducing the temperature.
Evaporator coil
The evaporator coil (6) is a heat exchanger especially designed to remove heat from enclosure air pushed through exchanger fins by evaporator fan.
Refrigerant pipework
The refrigerant pipework (7) interconnects system components (compressor, condenser and evaporator), it is made by copper pipes joined by soldering.
Dryer filter
The dryer filter (8) is a copper component integrated into the hermetically sealed cooling circuit. It holds humidity, moisture, acid, dirt particles within the cooling circuit to provide effective protection
Designation: AIR CONDITIONER FOR ELECTRICAL ENCLOSURE UMA-CDZ-PART1IP-00
Condenser fan
The condenser fan (9) is a centrifugal type or axial type fan. It draws air (10) in from the outside and push it through condenser coil fins to increase the heat exchanging from refrigerant to environment air.
Evaporator fan
The evaporator fan (11) is an axial type or a centrifugal type. It draws air (12) from the enclosure and push it through evaporator fins to increase the heat exchanging from enclosure air to refrigerant. It is generally always turn-ON to grant air circulation inside of enclosure.
Thermostat
The thermostat (13) is a gas loaded mechanical thermostat or digital thermostat depending on the type of air conditioner series
It drives the air conditioner functions according to enclosure air temperature.
When the temperature inside of the electrical enclosure is higher than set-point value, the refrigeration cycle starts. Thermostat is factory set at 35°C, adjustable 20°C – 45°C.
Condensate drain pipe
The condensate (14) drainpipe allows to remove condensate produced by the evaporator.
It is very important that the pipe is clean to evacuate the condensate without problems: accidental presence of water inside of enclosure could seriously impair the functioning and safety of internal components.
2.4.2 SAFETY DEVICES
Anti-ice thermostat
Roof mount air conditioners are fitted with controller to prevent the evaporator coil from icing over.
If there is a risk of icing, the compressor and condenser fan switch off and automatically switch back on at higher temperatures.
Thermal protections
Compressor and fans are fitted with thermal safety device to protect the windings against excess current and excess temperatures.
Condensate level alarm
Some roof mounting models are fitted with condensate level alarm. It turns off compressor and condenser fan if condensate rises over a safety level.
2.5 AIR CONDITIONER IDENTIFICATION AND
TECHNICAL REQUIREMENTS CHECKING
The identification code of the product and technical data are shown by a plate pasted on the side of the air conditioner.
2.5.1 RATING LABEL PASTED ON AIR CONDITIONER SIDE
Made in Italy
S/N: serial number year of manufacture
MOD: ordering code of product (it Identifies the product series)
| Designation: | Air conditioner for electrical enclosure |
| Rated voltage: | Voltage rating for electrical supply |
| Dimensions: | Air conditioner dimensions height x width x depth |
| Cooling capacity EN14511 | Cooling capacity shown in two different conditions: A35A35 shows performance at 35°C internal enclosure temperature / 35°C ambient temperature A35A50 shows performance at 35°C internal enclosure temperature / 50°C ambient temperature |
| Delayed fuse (advised) | advised delayed fuse which it must be installed upstream of the air conditioner supply system. It protects the electrical enclosure in case of air conditioner electrical fault |
| Absorbed electric power | Absorbed electric power expressed in two conditions: A35A35 shows performance at 35°C internal enclosure temperature / 35°C ambient temperature A35A50 shows performance at 35°C internal enclosure temperature / 50°C ambient temperature |
| Refrigerant type | refrigerant type with its GWP (global warming potential), charge amount and CO2 equivalent value |
| Max pressure | maximum pressure reached under proper conditions |
| Operating temperature | Temperature range allowed for proper operation of the air conditioner in two different sides (environment and internal enclosure) |
| Protection degree | IP degrees expressed for the two different sides: ambient side (external enclosure side) / enclosure side (internal enclosure side) |
| Weight | air conditioner weight |
| Temperature controller | thermostat set point value factory set |
| Continuity | functional continuity under proper operating condition |
-Contains fluorinated greenhouse gases covered by Kyoto protocol
-Hermetically sealed system
For proper use of the unit, please, during installation, respect the values and specified requests.
INSTALLATION
3.1 PRODUCT HANDLING
- AIR CONDITIONER IP-ACIW and IP-ACOW series must be handled in upright position and protected against accidental tipping over.
- AIR CONDITIONER IP-ACIR series must be handled in horizontal position.
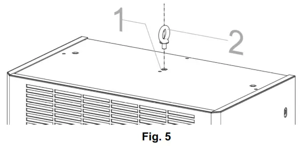
Air conditioners IP-ACIR series are fitted with lifting eye bolts , Air conditioners IP-ACIW and IP-ACOW series are fitted with female blind threaded insert to screw male lifting eye bolts (lifting eye bolts included on request).
The air conditioner handling, when unpacked, can be done thanks to lifting eye bolt. If lifting eye bolts are not included, please provide an adequate M6 male lifting eye bolt (2) and screw it inside blind threaded (1) insert placed on top of the air conditioner (Fig. 5).
Check the proper fixing of eye bolts before lift the air conditioner.
3.2 GENERAL CHECKS BEFORE INSTALLATION
Before the installation make sure that the cabinet is disconnected from the electrical supply.
GENERAL CHECKS
– electrical enclosure must be disconnected from power supply
– electrical data shown on rating label pasted on air conditioner side must be guaranteed
– Air conditioner is manufactured according to recognised safety regulations.
Improper use could generate risks for people safety.
– Air conditioner must be installed according to safety regulations only if it is free from defects or damages. Any damage or malfunctioning must be repaired before to install the unit.
– Electrical enclosure must be sized according to air conditioner dimensions and weight.
– Electrical enclosure must have at least IP54 protection degree
– Internal and external components of electrical enclosure don’t have to affect the proper installation of air conditioner
– The installation site must be free from excessive dirt, aggressive ambient conditions and moisture.
– Wall mount air conditioners must be installed in vertical position, maximum allowed inclination from the vertical: 2º
– The installation site must be free from hot air flows
– The internal side of electrical enclosure must be free from dirt and moisture
– The environment temperature must be within the range specified on label pasted on air conditioner side
– Inside of electrical enclosure there must not be components that could affect the proper ventilation
– the enclosure positioning with installed air conditioner must be carefully selected to ensure good ventilation (clearance between the air conditioner and the adjacent structures must be at least 500 mm in each side).
– Proper disposing of condensate discharge
Ensure that the cold airflow from the cooling unit is not directed at active components
Before installation check no internal devices obstruct air inlet and outlet openings, otherwise the cooling performance will be reduced.
3.3 FITTING
The air conditioner installation is explained in USER’S MANUAL (PART2) which is integral part of documentation available with air conditioner.
USER’S MANUAL (PART 2) explains carefully the air conditioner installation needs, please refer to USER’S MANUAL (PART 2) for air conditioner installation on enclosure.
3.4 CONDENSATE DRAIN HOSE INSTALLATION
Air conditioner produces condensate because the moist air inside of the enclosure meets cold heat exchanger (evaporator) and then it becomes water; water production decreases during air conditioner working because enclosure air becomes dry. Condensate are collected and evacuated to avoid accidental damage to the electrical enclosure.
Install an adequate hose to collect and dispose the condensate in a drain.
The condensate must be properly evacuated to avoid accidental damage to the electrical enclosure
The enclosure must be IP 54 protected, if enclosure is not airtight, condensate production could increase.
The enclosure IP54 degree is guaranteed only if the air conditioner is proper mounted.
Installation of a door limit switch can reduce condensate production when the door is open.
STARTING AND ADJUSTMENT
After conditioner installation, wait approx. 30 min. before starting it (the oil must collect in the compressor to ensure lubrication and cooling).
The air conditioner operates automatically, that is to say, after insertion, the evaporator fan operates continuously making the air inside the cabinet circulate. This way a uniform distribution of temperature inside the cabinet itself is attained. The built-in thermostat drives compressor and condenser fan according to set point value. For starting and proper adjustments please refer to USER’S MANUAL (PART 2), it is especially dedicated to purchased air conditioner.
MAINTENANCE
IP ENCLOSURES air conditioner is designed for use in industrial environments, low maintenance is required but it is important that small measures are met in order to ensure maximum performance and proper operation.
Before any maintenance switch OFF the unit.
5.1 CONDENSER COIL CLEANING
This operation must be done with non-powered air conditioner.
Condenser coil fins are subject to fouling due to the contact with dirty environment air.
5.1.1) Remove the metal cover
5.1.2) Clean the components of the external air circuit with a vacuum cleaner or compressed air if they become visibly dirty.
Any stubborn, oily stains may be removed using a non-flammable detergent, such as
5.1.3) clean the whole unit
5.1.4) Replace the cover.
5.2 CONDENSATE DRAIN HOSE CHECKING
The condensate drain hose allows to remove the condensation water from air conditioner to avoid accidental damages at the enclosure.
Drain hose must be free from any fillings or folds which could affect the proper flow of condensate.
5.3 FILTER MATS CHECKING (IF INSTALLED)
To protect the condenser coil against dust some unit can be fitted with a filter mat fixed on the metal cover of the unit A soiled filter mat can affect the proper function of air conditioner.
Filter mats, if installed, must be cleaned periodically according to environmental dirty. Remove the filter mat from air conditioner and clean it with compressed air, if necessary, please replace the mat with a new one
DISASSEMBLING AND DISPOSAL
The unit disassembling from the electrical enclosure must be exclusively carried out after air conditioner switching off.
6.1) Screw the lifting eyebolts on the top of air conditioner
6.2) keep the unit in safety position by hooking it with a proper lifting device.
6.3) remove the fixing screws to disconnect the unit from electrical enclosure
6.4) remove the unit from enclosure and place it on a stable support
Copper pipes contains pressurized refrigerant, don’t disassemble or cut them. Refrigerant must not be leaked in environment Air conditioner contains refrigerant and oil which must be properly disposed according to regulations in force.
The properly disposing is a right action to protect the environment.
FAULTS, CAUSES, CORRECTIVE ACTIONS
Fails to cool
| 1) No part (fan, compressor,) working | → | Lack of voltage to the unit | → | 1)check that unit is properly powered 2)check that doors and switches are closed (in case of door limit switch or similar) |
| 2) components working | → | Cooling system interrupted or out of gas | → | 1)contact IP ENCLOSURES |
| 3) Compressor and evaporator fan working, condenser fan not working | → | 1)power fan interrupted 2)fan damaged 3)fan capacitor damaged (where present) | → | 1) restore power 2) replace fan 3) replace capacitor |
| 4) Compressor e condenser fan working, evaporator fan not working | → | 1)power fan interrupted 2)fan damaged 3)fan capacitor damaged (where present) | → | 1)restore power 2)replace fan 3)replace capacitor |
| 5) Fans working, compressor not working damaged | → | 1)compressor power interrupted 2)capacitor of compressor 3)compressor thermal protection switches off 4)compressor damaged | → | 1)restore power 2)replace capacitor 3)wait thermal safety device switch on / contact IP ENCLOSURES 4)contact IP ENCLOSURES |
Fails to cool sufficiently
| 1) Compressor and condenser fan working intermittently, evaporator fan working | → | 1)thermostat damaged 2)loose connection to the thermostat | → | 1)replace thermostat 2)restore connections |
| 2) Compressor working intermittently, fans working | → | thermal protection switches off the compressor | → | Potential causes must be deeply evaluated (see point below) |
| 3) Intervention of compressor thermal protection | → | 1)motor windings overheat 2)excessive pressure inside circuit 3)temperature inside the cabinet too high 4)ambient temperature too high | → | 1)replace compressor 2)contact technical IP ENCLOSURES 3)contact technical IP ENCLOSURES 4) ventilate the area |
| 4)Every parts working | → | heat exchange coils dirty | → | clean heat exchange coils |
| 5)High condensate production | → | 1)openings on enclosure, enclosure door opens 2 cabinet with a protection degree lower than IP54 | → | 1)close the openings / close the door |
NOTES………………………………………………………………………………………
Designation: AIR CONDITIONER FOR ELECTRICAL ENCLOSURE
UMA-CDZ-PART1IP-00

















