YOSHIMURA 14161BP220 Alpha Slip-On Exhaust

Information
All Street Series systems are:
- Slip-on/Bolt-on applications that do not require tampering with the vehicle’s emissions control system.
- CARB/EPA tail-pipe emissions compliant.
- Marked with appropriate EPA noise labels.
- Not tested for EPA new vehicle noise compliance.
You must know how to remove and replace your stock exhaust in order to install this product otherwise have it installed by a professional mechanic. Keep all stock parts from your existing system as some components may be necessary to install your new Yoshimura exhaust depending on the application. Read through all instructions before beginning installation. An exhaust system can be extremely hot. Let the motorcycle cool down before beginning installation. Always wear hand and eye protection and take precautionary measures to avoid injury.
NOTE: IN THE STATE OF CALIFORNIA, IT IS ILLEGAL TO MODIFY THE EMISSION CONTROL SYSTEM, WHICH INCLUDES THE CARBURETORS OF ANY VEHICLE.
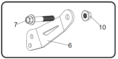
Assembly Diagram

| No. | Item | Description | Qty. |
| 1 | 14161-435 | Yoshimura Tailpipe | 1 |
| 2 | CRYM5106RAD | Carbon Fiber Muffler Assembly | 1 |
| SRYM5106RAD | Stainless Steel Muffler Assembly | ||
| 3 | 03019151 | Barrel Band Clamp | 1 |
| 4 | Muffler Clamp | 1 | |
| MCYM5-DFBX-1 | for use with CF sleeve | ||
| MCYM5-DFBX-X-1 | for use with SS sleeve | ||
| 5 | HT SHLDR77 | Muffler Clamp Heat Insulator | 1 |
| 6 | 14161-BKT | Muffler Bracket | 1 |
| 7 | M10X60H | 10mm x 60mm Flanged Hex Head Bolt | 1 |
| 8 | M8X20H | 8mm x 20mm Flanged Hex Head Bolt | 2 |
| 9 | 8MMNUT | 8mm Flange Nut | 2 |
| 10 | 10MMFNUT | 10mm Flange Nut | 1 |
| 11 | RACE-SPS-1 | Medium Exhaust Spring | 2 |
| ** | ST-200 | Spring Puller Tool | 1 |
| ** | 17100 | Sticker Sheet | 1 |
- Not shown on diagram.
CAUTION: Exhaust system can be extremely hot. Let motorcycle cool down before beginning installation. Always wear hand and eye protection and take precautionary measures to avoid injury.
WARNING: Always properly support vehicle with a stand and/or lift when servicing or performing any work. Unstable vehicles may present dangerous conditions and may cause property damage and/or personal injury.
NOTE: Read through all instructions before beginning installation.
Removal
- Loosen muffler clamp.
- While securely supporting the stock muffler, remove the muffler mount bolt and carefully remove the stock muffler assembly.
- Note: The stock exhaust gasket will not be re-used.
Installation

- Install (No. 6) 14161-BKT, muffler bracket onto backside of the stock muffler mount using (No. 7) M10X60H, 10mm bolt and (No. 10) 10MMFNUT, 10mm flange bolt.

- Install (No. 3) 03019151, barrel band clamp over (No. 1) 14161-435, tailpipe inlet. Do not torque at this time.

- Install (No. 1) 14161-435, tailpipe outlet into (No. 2) muffler, inlet.
- Install (No. 5) HT SHLDR77, muffler clamp heat insulator onto (No. 4) MCYM5-DFBX(-1/-X-1), muffler clamp.
- Install muffler/tailpipe assembly over the stock header outlet.
- Slide (No. 4) MCYM5-DFBX(-1/-X-1), muffler clamp over (No. 2) muffler and align to the frontside of (No. 6) 14161-BKT, muffler bracket. Secure using (No. 8) M8X20H, 8mm bolts and (No. 9) 8MMNUT, 8mm flange nut as shown on the assembly diagram.
- Install (No. 11) RACE-SPS-1, medium exhaust springs between muffler and tailpipe using the supplied ST-200, spring puller tool.
- Torque (No. 3) 03019151, barrel band clamp to 9.5 Nm (0.95 kg-m, 7 ft-lb).
- Before starting vehicle, check for proper clearance between new exhaust system and rear suspension (i.e. tire, swingarm, brakes, rear shock, and etc.) If any problem is found, please carefully follow through the installation steps again. If problem still persists, please call Yoshimura Tech Department at (800) 634-9166 / in CA (909) 628-4722.
- It is recommended that the muffler and tailpipe be wiped down with rubbing alcohol to remove oil and fingerprints. This will help prevent tarnishing of the finish after the exhaust is heated up.
- Note: After starting motorcycle, it is normal for new exhaust system and muffler to emit smoke until oil residue burns off.
Care & Maintenance
Works Finish Care & Maintenance
Before starting vehicle, clean pipe thoroughly using a soft cloth and rubbing alcohol to remove any oil and finger prints. The color of the exhaust will change once the system has gone through a heat cycle of 15 minutes or more. Color will vary depending on lean/rich conditions.
Clean using a soft cloth and soap. Do not use abrasive materials as it will scratch the surface. Surface reconditioning services are available to remove scratches and undesirable discoloration due to extreme heat. Contact Yoshimura Tech Department at (800) 634-9166 / in CA (909) 628- 4722 for more information.
Dear Yoshimura Customer,
Congratulations and thank you for purchasing a Yoshimura Exhaust System. Over six decades of experience in research and development, state of the art machinery, materials and craftsmanship of the highest quality all come together in a product of exceptional quality and performance—in other words, this is the best thing you can put on your bike. We strive to provide you with a product perfect in fit and finish. However, if you have any problems, please give us a call. We have found that most fitment issues can be easily resolved by a conversation with one of our knowledgeable and friendly staff. If the issue cannot be resolved this way, our warranty evaluation program may be the answer. Please take a moment to review our recommendations for the care of your exhaust and our warranty information.
PLEASE NOTE: If you have any doubts about your exhaust: DO NOT START THE MOTORCYCLE! ONCE AN EXHAUST HAS BEEN USED OR MODIFIED, IT CANNOT BE RETURNED FOR CREDIT OR EXCHANGE.
EXHAUST SYSTEM MAINTENANCE
Yoshimura Exhaust Systems require very little care and maintenance; here are a few tips:
- Use mild car/motorcycle soap to clean the exhaust system—do not use any abrasives or degreasers.
- Clean your exhaust with metal/stainless polish every 1-2 months to retain the luster and remove dirt and grime. (DO NOT USE POLISH ON “WORKS FINISH” SYSTEMS)
- Avoid contaminating exhaust surfaces when hot.
- Your exhaust system will change color (blue, magenta, purple, and/or gold) due to heat; this is normal.
- Keep all clamps, bolts and other fasteners tight as exhaust systems are susceptible to vibration damage.
- If you ride in coastal regions or areas that use salt to control ice and snow, wipe the exhaust down after it cools to remove any possible salt residue, which can result in rusting.
- If you are storing your motorcycle for the season, wipe the exhaust system down with rubbing alcohol before storage.
- Head pipes glowing (visible in normal light) may indicate an excessively lean condition that must be corrected.
CARBON FIBER
Carbon fiber equipped exhaust components require special attention. The following addresses wear issues directly related to carbon fiber:
- Keep all clamps, bolts and other fasteners tight. Carbon Fiber is very susceptible to vibration damage.
- Keep all chemicals and solvents away from the carbon fiber, as they will damage the finish.
- High temperatures will cause the resin in the carbon fiber to break down. Visual signs such as an amber hue in the resin may be early signs of heat damage to carbon fiber.
- Upon seeing amber-colored resin, discontinue use. The exhaust system needs to be inspected by a representative from Yoshimura, for repack, and/or repair. Continued use will cause component failure.
STAINLESS STEEL
- Stainless Steel is not rust proof but is less prone to rusting, staining and pitting; but it is prone to oxidation like all metals.
WORKS FINISH
- Works Finish exhaust systems should never be cleaned with abrasives or polishes.
- Yoshimura recommends using “Bar Keepers Friend” cleaner to remove minor stains.
- Surface reconditioning services are available to remove scratches and undesirable discoloration due to extreme heat. Contact Yoshimura Tech Department at (800) 634-9166 / in CA (909) 628-4722 for more information.
RE-PACKING TIPS
To maintain maximum sound and engine performance the muffler packing will need to be replaced at some time during the muffler’s life. Yoshimura recommends repacking your muffler at least once a year. Failure to maintain the muffler packing may cause damage to the muffler and/or void the warranty. Regularly inspect the muffler body for discoloration, cracks, rattling, or other signs of wear caused by depleted muffler packing. If muffler packing is determined to be depleted or worn, a Yoshimura muffler re-pack kit is highly recommended to restore the muffler to optimum maximum performance. Yoshimura offers a 3-5 day turnaround (plus transit time) to inspect and refurbish used and damaged mufflers.
For more information on muffler repacking please visit our website at: http://www.yoshimura-rd.com/muffler-repacking
IMPORTANT TECHNICAL NOTE
Yoshimura recommends on all race exhaust systems, that all spring joints be safety wired. Recommended wire type 304/316 stainless steel with a .032” diameter should be used.
WARRANTY
YOSHIMURA EXHAUST LIMITED WARRANTY
All Yoshimura R&D of America, Inc., exhaust systems carry a one-year limited warranty against defects in workmanship and/or materials.
WHO IS COVERED?
- This warranty is provided to the original purchaser of the exhaust system.
WHAT VOIDS THE WARRANTY?
- Abuse, misuse, improper installation and/or modifications
- Custom applications
- No proof of purchase at the time of warranty. The claimant must provide proof of purchase (original receipt or invoice) and a warranty authorization number (RMA) obtained from Yoshimura.
- Finishes such as plating or painted surfaces with discoloration or rust due to inclement weather conditions, exposure to salt, exposure to chemicals, or lack of maintenance by the customer are not covered.
- International grey-market products purchased through a dealer/distributor not authorized for your country will not be supported by this warranty.
EXTENT OF WARRANTY
Any defective exhaust system properly returned to Yoshimura will be repaired or replaced by Yoshimura. Yoshimura is not responsible for any other expense incurred by the customer under the terms of this limited warranty, nor is Yoshimura responsible for any damages either consequential, incidental, special, contingent or otherwise; or expenses or injury arising directly or indirectly from the use of the exhaust system. Any exhaust system returned to Yoshimura must be sent at the customers expense along with the proof of purchase and warranty authorization (RMA). Yoshimura reserves the right to determine whether the terms of the warranty, set out above, have been properly followed. In the event that the terms are not followed this warranty is void.
Yoshimura is the sole determiner of abuse, misuse, installation errors and modifications should any of these be found, this warranty is void. The duration of any and all implied warranties are limited to the duration of the express warranty. All incidental or consequential damages are herby excluded. The warranty gives you specific legal rights and you may have other rights, which vary from state to state. Some states do not allow the exclusion or limitation of incidental or consequential damages or limitations on how long an implied warranty lasts, so the above limitations and exclusions may not apply to you.
If you have a fitment or other problem, or are missing a part, please double-check this troubleshooting guide first
- Reference your instruction sheet and double-check all drawings and instructions
- Make sure muffler clamps are installed correctly (refer to the instructions diagram). On many models, there is a right and wrong way to install. Also verify part numbers on headers and tail pipe.
- Always make sure to install spring-mounted manifolds and flanges on cylinder head prior to installing headers.
- Always take time to examine problems in detail.
- When all else fails, call our technical support line at (909) 628-4722. The technical line is open 9:00am – 4:30pm Monday through Friday, Pacific Time. Please have the following information handy: Year/Make/Model of motorcycle, date of purchase, place of purchase, batch dates and part numbers (found on header and tail-pipe components).
- Also, feel free to ask through online e-mail at [email protected], or fax your question/problems to (909) 591-2198.
To obtain technical information directly from Yoshimura, call (909) 628-4722.
Contacts
RESEARCH&DEVELOPMENT OF AMERICA, INC.
- 5420 DANIELS STREET STE A, CHINO CA., 91710
- Tel: (800) 634-9166
- (909) 628-4722
- FAX: (909) 591-2198
- www.yoshimura-rd.com



















