YOSHIMURA YZ450F RS4 Slip-On Exhaust System

Signature Series systems are:
- CARB/EPA tail-pipe emissions compliant.
- Marked with appropriate EPA noise labels.
- Independent laboratory tested for EPA new vehicle noise compliance.
CAUTION: The muffler packing on this system MUST be replaced every 6-8 hours of use, or after each moto. Failure to follow recommended muffler re-packing interval can cause muffler damage and may void the warranty.
NOTE: IN THE STATE OF CALIFORNIA, IT IS ILLEGAL TO MODIFY THE EMISSION CONTROL SYSTEM, WHICH INCLUDES THE CARBURETORS OF ANY VEHICLE.
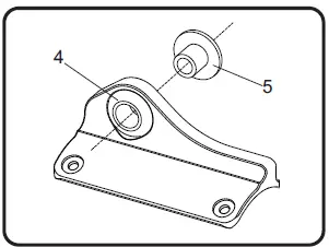
Assembly Diagram

| NO. | DESCRIPTION | QTY | PART # |
| 1 | Yoshimura Muffler Assembly | 1 | 234832D320-RMA |
| 2 | 8mm x 35mm Flanged Hex Head Bolt | 1 | M8X35H |
| 3 | 8mm Large Washer | 1 | 8MMWASHERL |
| 4 | Rubber Grommet (Round) | 2 | Z1022 |
| 5 | Aluminum Spacer | 1 | ALS-002 |
| 6 | Rubber Grommet (Flat) | 1 | Z1023 |
| 7 | Aluminum Spacer | 2 | ALS-043 |
| 8 | Exhaust Clamp | 1 | 03019143 |
| ** | 8″ x 10″ Aluminum Heatshield Foil | 1 | ALFOILHS-8X10 |
| ** | Low Volume Sound Insert (1.50″) | 1 | INS-14-K (Installed) |
| ** | Offroad Endcap Plug | 1 | 347PLUG |
| ** | Yoshimura Vinyl Sticker | 1 | 17100 |
| OPTIONAL REPLACEMENT PARTS | |||
| Repack Kit | REPACK-RS4-PK26 | ||
| Spark Arrester Kit | SA-08-K | ||

CAUTION: Exhaust system can be extremely hot.
Let motorcycle cool down before beginning installation. Always wear hand and eye protection and take precautionary measures to avoid injury.
WARNING: Always properly support vehicle with a stand and/or lift when servicing or performing any work. Unstable vehicles may present dangerous conditions and may cause property damage and/or personal injury.
NOTE
Read through all instructions before beginning installation.
Removal
- Remove the right side panel by removing the three side panel bolts.
- Loosen the stock exhaust clamp at muffler to midpipe connection.
- Remove the forward muffler chassis mount bolt.
- While securely supporting the stock muffler assembly, remove the rear muffler mount bolt and carefully remove muffler from the stock midpipe.
Note- The stock exhaust gasket will not be used with the Yoshimura slip-on exhaust system.
- The stock midpipe heatshield clamp will not be used with the Yoshimura slip-on exhaust system.
Installation
- Install (No. 4) Z1022, round rubber grommet into Yoshimura muffler bracket.

- Install (No. 5) ALS-002, aluminum spacer into (No. 4) Z1022, round rubber grommet as shown.

- 3. Install (No. 6) Z1023, flat rubber grommet into chassis mount bracket and install (No. 7) ALS-043, aluminum spacers into the front side and backside as shown.
Note: Use soapy water to lubricate rubber grommet to ease installation into chassis mount bracket.
- Install (No. 4) Z1022, rubber grommet into muffler resonator bracket as shown.

- Slide (No. 8) 03019143, exhaust clamp over Yoshimura tailpipe inlet.
- Carefully install (No. 1) 234832D320-RMA, Yoshimura muffler assembly over the stock midpipe.
- Secure (No. 1) 234832D320-RMA, muffler assembly to muffler mount using (No. 2) M8X35H, bolt and (No. 3) 8MMWASHERL, washer supplied in the kit. Do not torque at this time.
- Secure Yoshimura forward muffler chassis mount to chassis using the stock bolt. Do not torque at this time.
- Torque (No. 2) M8X35H, rear muffler mount bolt to factory specification.
- Torque the stock forward muffler chassis mount bolt to factory specification.
- Torque (No. 8) 03019143, exhaust clamp to 8.5 Nm (0.86 kg-m, 6 ft-lb).
- Cut out the provided heatshield template along the solid line.
- Using a pen or marker, trace the paper template onto provided adhesive foil.
- Cut out heatshield foil.
- Clean number plate thoroughly with soap and water where heatshield foil will be applied.
- Remove adhesive backing from foil heatshield and apply onto the inside of the number plate.
Note: Be sure number plate is dry and clean prior to applying heatshield foil. Debris may hinder the foil from adhering to the surface.
- Re-install right side panel.
- Before starting motorcycle, check for proper clearance between new exhaust system and rear suspension (i.e. tire, swing arm, brakes, rear shock, and etc.) If any problem is found, please carefully follow through the installation steps again. If problem still persists, please call Yoshimura Tech Department at (800) 634-9166 / in CA (909) 628-4722.
- It is recommended that the muffler and tailpipe be wiped down with rubbing alcohol to remove oil and fingerprints. This will help prevent tarnishing of the finish after the exhaust is heated up.
Note: After starting motorcycle, it is normal for new exhaust system and muffler to emit smoke until oil residue burns off.

Dear Yoshimura Customer,
Congratulations and thank you for purchasing a Yoshimura Exhaust System. Over six decades of experience in research and development, state of the art machinery, materials and craftsmanship of the highest quality all come together in a product of exceptional quality and performance—in other words, this is the best thing you can put on your bike.
We strive to provide you with a product perfect in fit and finish. However, if you have any problems, please give us a call. We have found that most fitment issues can be easily resolved by a conversation with one of our knowledgeable and friendly staff. If the issue cannot be resolved this way, our warranty evaluation program may be the answer. Please take a moment to review our recommendations for the care of your exhaust and our warranty information.
PLEASE NOTE: If you have any doubts about your exhaust: DO NOT START THE MOTORCYCLE! ONCE AN EXHAUST HAS BEEN USED OR
MODIFIED, IT CANNOT BE RETURNED FOR CREDIT OR EXCHANGE.
EXHAUST SYSTEM MAINTENANCE
Yoshimura Exhaust Systems require very little care and maintenance; here are a few tips:
- Use mild car/motorcycle soap to clean the exhaust system—do not use any abrasives or degreasers.
- Clean your exhaust with metal/stainless polish every 1-2 months to retain the luster and remove dirt and grime.
(DO NOT USE POLISH ON “WORKS FINISH” SYSTEMS) - Avoid contaminating exhaust surfaces when hot.
- Your exhaust system will change color (blue, magenta, purple, and/or gold) due to heat; this is normal.
- Keep all clamps, bolts and other fasteners tight as exhaust systems are susceptible to vibration damage.
- If you ride in coastal regions or areas that use salt to control ice and snow, wipe the exhaust down after it cools to remove any possible salt residue, which can result in rusting.
- If you are storing your motorcycle for the season, wipe the exhaust system down with rubbing alcohol before storage.
- Head pipes glowing (visible in normal light) may indicate an excessively lean condition that must be corrected.
CARBON FIBER:
Carbon fiber equipped exhaust components require special attention. The following addresses wear issues directly related to carbon fiber:
- Keep all clamps, bolts and other fasteners tight. Carbon Fiber is very susceptible to vibration damage.
- Keep all chemicals and solvents away from the carbon fiber, as they will damage the finish.
- High temperatures will cause the resin in the carbon fiber to break down. Visual signs such as an amber hue in the resin may be early signs of heat damage to carbon fiber.
- Upon seeing amber colored resin, discontinue use. The exhaust system needs to be inspected by a representative from Yoshimura, for repack, and/or repair. Continued use will cause component failure.
STAINLESS STEEL:
Stainless Steel is not rust proof but is less prone to rusting, staining and pitting; but it is prone to oxidation like all metals.
WORKS FINISH:
- Works Finish exhaust systems should never be cleaned with abrasives or polishes.
- Yoshimura recommends using “Bar Keepers Friend” cleaner to remove minor stains.
- Surface reconditioning services are available to remove scratches and undesirable discoloration due to extreme heat. Contact Yoshimura Tech Department at (800) 634-9166 / in CA (909) 628-4722 for more information.
RE-PACKING TIPS
To maintain maximum sound and engine performance the muffler packing will need to be replaced at some time during the muffler’s life. Yoshimura recommends repacking your muffler at least once a year.
Failure to maintain the muffler packing may cause damage to the muffler and/or void the warranty. Regularly inspect the muffler body for discoloration, cracks, rattling, or other signs of wear caused by depleted muffler packing. If muffler packing is determined to be depleted or worn, a Yoshimura muffler re-pack kit is highly recommended to restore the muffler to optimum maximum performance.
Yoshimura offers a 3-5 day turn around (plus transit time) to inspect and refurbish used and damaged mufflers.
For more information on muffler repacking please visit our website at: http://www.yoshimura-rd.com/muffler-repacking
IMPORTANT TECHNICAL NOTE
Yoshimura recommends on all race exhaust systems, that all spring joints be safety wired. Recommended wire type 304/316 stainless steel with a .032” diameter should be used.
YOSHIMURA EXHAUST LIMITED WARRANTY
All Yoshimura R&D of America, Inc., exhaust systems carry a one-year limited warranty against defects in workmanship and/or materials.
WHO IS COVERED?
This warranty is provided to the original purchaser of the exhaust system.
WHAT VOIDS THE WARRANTY?
- Abuse, misuse, improper installation and/or modifications
- Custom applications
- No proof of purchase at the time of warranty. Claimant must provide proof of purchase (original receipt or invoice) and a warranty authorization number (RMA) obtained from Yoshimura.
- Finishes such as plating or painted surfaces with discoloration or rust due to inclement weather conditions, exposure to salt, exposure to chemicals, or lack of maintenance by the customer are not covered.
- International grey-market product purchased through a dealer/distributor not authorized for your country will not be supported by this warranty.
EXTENT OF WARRANTY:
Any defective exhaust system properly returned to Yoshimura will be repaired or replaced by Yoshimura. Yoshimura is not responsible for any other expense incurred by the customer under the terms of this limited warranty, nor is Yoshimura responsible for any damages either consequential, incidental, special, contingent or otherwise; or expenses or injury arising directly or indirectly from the use of the exhaust system. Any exhaust system returned to Yoshimura must be sent at the customers expense along with the proof of purchase and warranty authorization (RMA). Yoshimura reserves the right to determine whether the terms of the warranty, set out above, have been properly followed. In the event that the terms are not followed this warranty is void. Yoshimura is the sole determiner of abuse, misuse, installation errors and modifications—should any of these be found, this warranty is void. The duration of any and all implied warranties are limited to the duration of the express warranty. All incidental or consequential damages are herby excluded. The warranty gives you specific legal rights and you may have other rights, which vary from state to state. Some states do not allow the exclusion or limitation of incidental or consequential damages or limitations on how long an implied warranty lasts, so the above limitations and exclusions may not apply to you.
If you have a fitment or other problem, or are missing a part, please double-check this troubleshooting guide first:
- Reference your instruction sheet and double-check all drawings and instructions
- Make sure muffler clamps are installed correctly (refer to instructions diagram). On many models, there is a right and wrong way to install. Also verify part numbers on headers and tail pipe.
- Always make sure to install spring-mounted manifolds and flanges on cylinder head prior to installing headers.
- Always take time to examine problems in detail.
- When all else fails, call our technical support line at (909) 628-4722. The technical line is open 9:00am – 4:30pm Monday through Friday, Pacific Time. Please have the following information handy: Year/Make/Model of motorcycle, date of purchase, place of purchase, batch dates and part numbers (found on header and tail-pipe components).
- Also, feel free to ask through online e-mail at [email protected], or fax your question/problems to (909) 591-2198.
To obtain technical information directly from Yoshimura, call (909) 628-4722.
5420 DANIELS STREET STE A, CHINO CA., 91710 · (800) 634-9166 · (909) 628-4722 · FAX (909) 591-2198
www.yoshimura-rd.com
























