
OSP1-08 Portable Air Conditioner
User Manual

![]()
Thank you very much for selecting this new model of Portable Air Conditioner, please read this Use and Care Manual carefully before installing and using this appliance. Please keep this Use and Care Manual properly for future reference.
Safety Instructions
- All wiring must comply with local and national electrical codes and be installed by a qualified electrician. If you have any questions regarding to the following instructions, please contact a qualified electrician.
- The unit must be installed in accordance with national wiring regulations. Check the available power supply and resolve any wiring problems before installation and operation of this unit.
- For your safety and protection, this unit will be grounded through the power cord plug when plugging into a matching wall outlet. If you are not sure whether the wall outlet at your home is properly grounded, please consult an electrician. If the supply cord is damaged, it must be replaced by the manufacturer, its service agent, or a similarly qualified person in order to avoid any hazards.
- This appliance is not intended for people (including children) with reduced physical, sensory or mental capabilities, or lack of experience and knowledge unless they have been given supervision or instruction concerning the use of the appliance by a person responsible for their safety. Young children should be supervised to ensure that they do not play with the appliance.
WARNING
To reduce the risk of fire, electrical shock, or injury when using your air conditioner, follow up these basic precautions:
- Indoor use only, it is prohibited to use this unit outdoors or in humid environments such as bathrooms, etc.
- Do not remove the ground prong.
- Do not use an adapter.
- Do not use an extension code.
- Never share the power outlet with other appliances.
- Never connect or disconnect the power plug with wet hands to avoid electric shocks.
- Never turn off the unit by unplugging.
- Unplug the air conditioner before servicing.
- Never dismantle repair or modify the unit without authorization to avoid bodily injury or property damage, be sure it is repaired by a manufacturer or professionals.
- After the air conditioning installation, please ensure that the wires plug in good condition and securely inserted into the power socket, and always maintain the power cord placement rules orderly, avoid someone stumbling or pulling the plug out.
- Never put any objects into the unit.
- Never cover or obstruct air inlet or outlet to prevent overheating.
- Never hit or shake the unit to prevent damage.
- Never spray water or place the unit near water to prevent electric shocks.
- Never place the unit near gas appliances, fire, or flammable liquids.
- Move and install the unit by two or more people.
- The unit should be far away from the gas, flammable gas, stoves, or another heat source
- This appliance can be used by children aged 8 years and above and persons with reduced physical, sensory or mental capabilities or lack of experience and knowledge if they have been given supervision or instruction concerning use of the appliance in a safe way and understand the hazards involved. Children shall not play with the appliance. Cleaning and user maintenance shall not be made by children without supervision.
Cautions
- Please make sure that the unit is placed on a flat, dry place. Keep the unit between the wall around has more than 0.5meters.
- Keep the unit at least 1 meter away from TV or radios to avoid electromagnetic interference.
- Do not expose the unit under direct sunlight to avoid surface color fading.
- Do not tilt the unit for more than 35 degrees or upside-down while transporting.
- Keep the drain hose in good condition without flexure then connect with the unit.
- Empty the condensed drainage pan before putting the unit in storage to prolong the unit lifetime end of the season.
- Do not use insecticide spraying or other combustible material near the air conditioning.
- Do not use chemical solvents (e.g. Benzene, alcohol-glazer) to clean the unit surface, do not scratch or damage the unit.
- Make sure to cut off the power before disassembling or installing the filter.
- Remark: Do not use this unit in cooling mode if the ambient temperature is higher than 35 ℃.
Function and Technical Specification
- This unit offers cooling, heating, dry, dehumidification, and fan modes.
- This unit is with three fan-speed levels accessible by panel control and remote control.
- The temperature setting range of this unit is 17-30℃.
- This unit is designed with various protection functions such as a 24-hour programmable timer, auto condensate circle, super intelligent temperature sensor, water-full control, and warning, etc.
Features and Identification of Parts
Feature
- New appearance with compact design, more luxury, and upscale.
- Outlet louver swings automatically and winds direction up to consumer needs.
- Beautiful and simple appearance, humanized design for remote control storage, which can be placed in a storage bracket at the back of the unit body.
- Simple operation, LED digital display control panel, and high-end LCD remote control.
- Winding pillars and universal sockets can protect the power cord better.
- 24-hour Timer function, unique on/off reminding music.
- 3-minute re-start delay protection to the compressor and other multiple protection functions.
- Unique exhaust hose and fasteners, convenient installation.
Identification of Parts

| 1. Control panel | 10. Drain hole and cover |
| 2. Horizontal louver | 11. Up filter assemble |
| 3. Front shell | 12. Down filter assembly |
| 4. Universal wheel | 13. Chassis |
| 5. Backshell | 14. Remote control |
| 6. Handle | 15. Exhaust hose assembly |
| 7. Filter | 16. Exhaust hose adapter |
| 8. Universal socket | 17. Window seal-plate assembly |
| 9. Wire winding pillar |
Operation and Settings
Control panel instructions

BUTTONS
A. TIMER BUTTON
Program the time from 1 hour to 24 hours for the unit to turn ON or OFF. When a TIME DELAY is programmed, the Timer indicator light will illuminate.
While the unit is operating:
- Press the TIMER button.
- Press the UP/DOWN arrow buttons to select the number of hours you want the unit to continue to operate before turning it off.
Note: wait approximately 5 seconds for the Turn-Off time to be saved.
While the unit is off:
- Press the TIMER button.
- Press the UP/DOWN arrow buttons to select the number of hours you want the unit to continue to operate before turning it on.
Note: wait approximately 5 seconds for the Turn-On time to be saved.
To clean the timer: press the TIMER button once, the hours remaining will flash, press the TIMER button again and the timer will be canceled.
B. FAN SPEED BUTTON
The fan speed can be adjusted from Low speed to High speed when the unit is either in COOL or FAN mode.
Press the FAN SPEED button to toggle among the two speeds. The corresponding fan speed indicator will illuminate.
Note: The fan speed cannot be adjusted when the unit is in DRY mode.
C. UP AND DOWN ARROW BUTTON
Adjust the temperature or Hours in Time Delay.
To set the temperature:
The temperature can be set between 17 ℃ and 30 ℃ when the air conditioner is in COOL mode.
- Press the MODE button until the COOL mode is selected.
- Press the UP ARROW or DOWN ARROW buttons to select the temperature.
Note: The temperature cannot be set when the air conditioner is in either FAN or DRY mode.
D. MODE BUTTON
Press the MODE button to toggle among the operating options. The corresponding indicator will illuminate.
COOL – Cools the room to the set temperature.
DEHUM – Reduces the humidity in the room.
FAN – Circulates the air in the room without cooling.
E. POWER BUTTON
Turns ON/OFF power to the air conditioner. Turn on the unit by pressing the POWER button, the Power indicator will illuminate.
Note: Turning off the power by pressing the POWER button does not disconnect the appliance from the power supply.
F. CONTROL PANEL DISPLAY
Displays the set temperature in degrees Fahrenheit or degrees Celsius, or the hours remaining in a Time Delay.
The corresponding indicator light will illuminate.
H AUTO SWING
Press the fan speed button and timer button at the same time to open the auto swing function.
Remote Control Operation

1)The operation interface of this remote controller is as follows:
- ON/OFF button: Press this button to start the unit when it is energized or stop the unit when it is in operation;
- Timer button: Press this button to set the unit automatic on and off time;
- Fan button: press this button to select the high, medium, or low speed of the fan running (except dehumidify mode);
- Up button: press this button to increase temperature or timer setting;
- Down button: Press this button to decrease the temperature or timer setting.
- Mode button: press this button to select Heat mode, Cool mode,
Dehumidification mode or Fan mode; - Mute button: whenever in mode, press this button, the fan will be below and quiet.
- Child lock button: press this button to lock all buttons, lock indicator light is on. When you turn on the lock button, other buttons cannot be used.
- Swing: press this button to open or close the auto swing function.
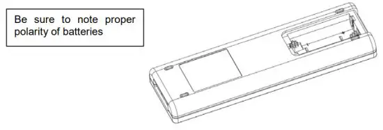
2) Battery installation: Before using your remote, install the AAA batteries into a remote control.
- Press and glide the battery cover on the back of the remote control, then you can remove the cover.
- Insert two new alkaline AAA batteries into the battery compartment. Be sure to note the proper polarity.
- Reattach the battery cover and make sure the locking tab clicks into place.

Notes:
- Use alkaline batteries only. Do not use rechargeable batteries.
- When replacing batteries, always replace both batteries with new batteries, do not mix old and new batteries.
- If the air conditioner will not be used for an extended period of time, remove the batteries from the remote control.
1) Storage of remote control
This machine has a storage area for remote control (photo 4). Please put the remote control in this area to prevent the loss of remote control.

CAUTION
- If the liquid from the batteries gets onto your skin or clothes, wash it well with clean water, do not use the remote control if the batteries have any leakage.
- If you eat the liquid from the batteries, brush your teeth and see a doctor. The chemicals in batteries could cause burns or other health hazards.
Protection functions
- Water-full protect:
Use a Water switch to achieve water-full protection, the water switch is always off, and it will be on when it works. both the water-full indicator and “FL” on the LED window are flashing. - Anti-freeze protection function
Compressor, water spraying motor will turn off when compressors running over 10 minutes and tube temperature (Tp) is continuously ≦2 ℃ for 20 seconds under the cooling mode, E4 will show on the LED display window, the unit initiates the anti-frost protection and all buttons on the control panel (except for the power button) are inactive.
Once the tube temperature ≧8℃, the protection is relieved to recover to its original status, and the compressor applies for 3-minute delay protection. - Delay protection function of the compressor
This unit offers restart protection to the compressor. Except that the compressor may start immediately when the unit is energized for the first time, there is a 3-minute start delay after the compressor is shut down. - Coil and room temperature sensors auto-diagnosis
(1) Sensor test at the first time or power upstate.
(2) When room temperature sensor tests out failure, the unit will be off and display Error Code E2;
When the Coil temperature sensor test out failure, the unit will be off and display Error Code E1.
If sensors test ok, the unit restores the original state of work or enter into standby state when energized.
Handling and Transportation
1. Handle and move the unit
1) Hold handles on side panels to move the unit in an upright position.
Note:
- Do not hold the louver.
- Make the unit in the upright position whatever handling or moving it.
- Drain the water in the unit completely to prevent water leakage and wet the floor or carpet before handling or moving the unit.
- Take out the remote control from the storage area and keep it.

Installation & Adjustment
1. Installation
Warning: Keep this mobile air-conditioner in an upright position at least 2 hours before the first installation.
This air-conditioner may be moved indoors conveniently; keep the unit in an upright position while moving it.
The air-conditioner shall be placed on a flat and hard surface. Do not install or operate this air-conditioner in the bathroom or other wet environments.
Installation of exhaust hose assembly and its adapter

- Take out the exhaust hose assembly and its adapter from a plastic bag.
- Extend the exhaust hose at one end, screw the round end of the adapter into the exhaust hose anticlockwise direction
Installation of window seal-plate
- Open the window in half, put the seal plate into the window, and determine in vertical or horizontal position according to the window’s open direction.
- Extend seal plate parts, adjust them to the length of the window and fix it with screws then.
Remarks:1)Keep two ends of the window seal plate to meet the window edges well, to assure seal effect.
2)Fix the screw in a good position.

Installation of the unit
- Move the unit together with its exhaust hose assembly in front of the window and keep the unit at least 50cm away from the walls or other objects.
- Install the rectangle end of the exhaust hose adapter into the corresponding rectangle hole in the window seal-plate assembly, fix it with a screw and close the window.
A. Align the 4 locks on the window seal plate with the corresponding 4 fasteners on the exhaust hose adapter and set them together, then slide the adapter downwards.
B. Lock self-tapping screw φ4mm into adapter hole. - Remarks:
• Slide the adapter downwards and assure the adapter is installed in a good position.
• Lock the φ4 screw tightly to avoid falling off.
• The exhaust hose can’t be bent or with flexure higher than 45°, in order to keep good ventilation of the exhaust hose.

Important notes:
The exhaust hose is 280mm-1500mm long and is determined by the specification of the air-conditioner (s). Do not use the prolonged hose or replace it with other different hoses as this may affect the functions of the air-conditioner. The exhaust hose must be smooth or it may lead the air-conditioner to overheat and trip because the exhaust hose is obstructed.
Drainage Instruction
This portable air conditioner has two drain ports, a higher one and a lowers one and we can use two drainage methods:
manual drainage and continuous drainage;
- Manual Drain :( In Photo 14 )
This unit is designed with high efficient self-evaporative system and It is suggested to use manual drainage in cooling mode, all condensates will recycle in the unit to ensure enough water to recycle in the unit to cool the condenser and enhance cooling performance advance; however in extreme humidity, water tank at chassis will be full, “FL” will show on the LED display, it needs to be drained manually from lower drain port.

- Put the tray below the water outlet at the back of the unit.
- Screw off the drain cover; unplug the water stopper for water to flow into the tray.
- Plug in stopper and screw the water cover tightly onto water outlet after drainage.
Notes:
- Move the unit carefully to avoid leakage if it is necessary.
- Protect the drain cover and water stopper properly.
- Tilt the unit slightly backward when draining.
- Block the drain hole as soon as possible before the tray is full if it can’t hold all water in the unit to prevent water leakage and wetting the floor or carpet.
- The water stopper and drain cover must be tightly installed, to avoid new condensate to wet the floor or carpet when the unit re-starts working.
Continuous drain :(strongly recommend using this method and draining from the lower drain port under the heating mode, because the self-evaporative cooling system doesn’t work under heating mode)
- Screw off the drain cover.
- Connect drain-hole with φ13mm PVC drain hose, as deep as possible to avoid leakage.
- Pull the drain hose to the bathroom or outdoor.
Notes :
- The drain hose must be installed before the unit starts working.
- It is suggested to use manual drainage when the unit is in cooling mode, to ensure enough water to recycle in the unit to cool the condenser and enhance cooling performance.
- Put the drain hose in an inaccessible place, not higher than the drainage hole, and keep the drain hose straight without any flexure.
- Keep the drain cover and its stopper properly installed when continuous drainage is adopted.

Continuous drain in dehumidification mode: higher drain port is the best.
- Screw off the drain cover and unplug the water stopper.
- Connect drain-hole with φ13mm PVC drain hose, into the depth of 8mm-10mm.
- Pull the drain hose to the bathroom or outdoor.
Notes :
- The drain hose must be installed before the unit starts working.
- Put the drain hose in an inaccessible place, not higher than the water outlet, and keep the drain hose straight without any flexure.
- Keep the drain cover and its stopper properly installed when continuous drainage is adopted.

Maintenance and Service
Turn off the unit and pull out the plug before maintenance or send the unit to the service center.
- Surface cleaning
Clean the unit surface with a wet and soft cloth, but do not use chemical solvents such as alcohol and gasoline to avoid any damage to unit. - Filter cleaning
Clean the filter every two weeks
Note: If the filter is blocked by dust or any other things, it would influence the unit performance.
Clean filter
Grip the filter handle and take it out gently incorrect direction shown by the arrow. 2)Hold hand positions with your hands, and take filters out incorrect direction shown by the arrow.
Note:
- Use even force to take out the filter to avoid any twist or damage to the filter.
- Clean the filters gently in warm water (about 40 ℃) mixed with detergent, and dry in the shade.

Notes:
- Do not squash the mesh.
- Do not hit the mesh with sharp objects or brushes.

Installation of the filter
- Aim at slot and push filters in even force toward into slot gently to avoid any damage.
Clean of handle position and remote control storage area.
- Take out the remote control.

- Clean the handle position and remote control storage area with a wet and soft cloth.
Note: Do not drip water into the unit.
End of Season Storage
- Screw off the drain cover, and then pull out the stopper to drain the water completely.
Note: The tilt angle of the unit must be ≦30. - Keep the unit running in fan mode for half-day to dry inside of the unit completely and prevent it from going moldy.
- Turn off the unit, pull out the plug then wrap the power cord around the wire-winding pillar, insert the plug into the
universal fixing hole at the back panel of the unit, and install the water plug and drain cap. - Remove the heat exhaust hose assembly, clean it, and keep it properly.
Note 1)Hold the exhaust hose assembly with both hands when removal.
2)Push the fasteners aside on the exhaust air outlet using your thumbs, then pull out the exhaust hose assembly. - Pack the air-conditioner properly with a soft plastic bag and put it in a dry place with appropriate dust-proof measures and keep the unit away from children.
- Take out the batteries from the remote control and keep it properly.
Note: Assure the unit is stored in a dry place. All accessories of the unit shall be properly protected together.
Troubleshooting
Please check the unit and suggestions below before asking for professional service, but never dismantle or repair the unit by yourself, it may cause harm to you and your property.
| Trouble | Cause | Remedy |
| The unit fails to start up | Power supply failure | Connect the unit to a live socket and turn it on. |
| Water-full and its indicator lighting up | Drain the water stored in the unit. | |
| Ambient temperature too low or too high | It is recommended to use this unit between 5-35°C | |
| The room temperature is lower than the set temperature in cooling mode. | Change the set temperature | |
| Bad cooling effects | There is direct sunlight | Close the curtain |
| The doors and windows are open, the room is crowded or there are other heat sources | Close the door and window, remove other heat sources, and add new air-conditioners | |
| Dirty filter | Clean or replace the filter. | |
| Air inlet or air outlet clogged | Remove the obstruction | |
| High noise level | The unit is being placed on an uneven surface. | Put the unit in a flat and firm place (may reduce noise) |
| The compressor does not work | Initiation of overheat protection. | Wait for 3 minutes until the temperature decrease, then re-start the unit |
| The remote control does not work | Too long distance | Bring the remote control close to the air-conditioner and ensure airs at the signal receptor on the unit. |
| The remote control didn’t aim at the signal receptor on the unit. | ||
| The batteries have no electricity | Replace the batteries | |
| LED displays error code “El” | Tube temperature sensor failure | Check the tube temperature sensor and related circuits |
| LED displays error code “E2” | Room temperature sensor failure | Check the room temperature sensor and related circuits |
| LED displays error code “E4” | Anti-freeze protection | Restore the functions automatically once anti-freeze protection is over. |
| Water-full indicator lights | The water in the chassis is full | Drain the water and re-start the unit |
One Year Limited Warranty
NEPO USA warrants the accompanying Air Conditioner to be free of defects in material and workmanship for the applications specified in its operation instruction for a period of One (1) year from the date of original retail purchase in the United States.
If the unit exhibits a defect in normal use, NEPO USA will, at its option, either repair or replace it, free of charge within a reasonable time after the unit is returned during the warranty period. As a condition to any warranty service obligation, the consumer must present this Warranty Certificate along with a copy of the original purchase invoice.
THIS WARRANTY DOES NOT COVER:
- Damage, accidental or otherwise, to the unit while in the possession of a consumer is not caused by a defect in material or workmanship.
- Damage caused by consumer misuse, tampering, or failure to follow the care and special handling provisions in the instructions.
- Damage to the finish of the case, or other appearance parts caused by wear.
- Damage caused by repairs or alterations of the unit by anyone other than those authorized by NEPO USA.
- Freight and Insurance costs for the warranty service.
- Filter and Accessories
ALL WARRANTIES, INCLUDING ANY IMPLIED WARRANTY OF MERCHANTABILITY, ARE LIMITED TO THE DURATION OF THIS EXPRESS LIMITED WARRANTY. NO USA DISCLAIMS ANY LIABILITY FOR CONSEQUENTIAL OR INCIDENTAL DAMAGES AND IN NO EVENT SHALL NEPO USA’S LIABILITY EXCEED THE RETAIL VALUE OF THE UNIT FOR BREACH OF ANY WRITTEN OR IMPLIED WARRANTY WITH RESPECT TO THIS UNIT.
This warranty covers only new products purchased from our authorized dealers or retailers. It does not cover used, salvaged, or refurbished products.
As some states do not allow the limitation or exclusion of incidental or consequential damages or do not allow limitation on implied warranties, the above limitations and exclusions may not apply to you. This warranty gives you specific legal rights, and you may also have other rights that vary from state to state.
For Technical Support and Warranty Service
Please Call (866) 669-9998
www.oslousa.com
Correct Disposal of this product
This marking indicates that the product should not be disposed of with other household wastes throughout the world. To prevent possible harm to the environment or human health from uncontrolled waste disposal, recycle it responsibly to promote the sustainable reuse of material resources. To return your used device, please use the return and collection systems or contact the retailer where the product was purchased.
They can take this product for environmentally safe recycling.



















