
IMPORTANT SAFETY INSTRUCTIONS FOR HOUSEHOLD USE ONLY
WARNING: To reduce the risk of injury, fire, electric shock, and property damage resulting from improper use of the appliance, carefully observe the following instructions. This unit contains electrical connections and moving parts that potentially present risk to the user.
DANGER OF SCALDING: THE STEAM EMITTED FROM THE STEAM MOP IS VERY HOT AND MAY CAUSE SCALDING. PLEASE USE CAUTION WHEN USING THE STEAM MOP.
- Keep Steam Mop away from children.
- When in use, NEVER turn the Steam Mop over on its side or direct steam toward people, pets, or plants.
- Use the system ONLY for its intended purpose.
- DO NOT use for space-heating.
- DO NOT use outdoors.
- DO NOT leave the Steam Mop unattended when plugged in. ALWAYS unplug the power cord from the electrical outlet when not in use and before servicing.
- DO NOT allow the Steam Mop to be used by children. Close attention is necessary when used near children, pets, or plants.
- Use ONLY as described in this instruction manual.
- Use ONLY manufacturer’s recommended accessories.
- DO NOT use with damaged cord or plug. If the Steam Mop is not working as it should or has been dropped, damaged, left outdoors, or immersed in water, return it to SharkNinja Operating LLC for examination and repair. Incorrect reassembly or repair can cause a risk of electrical shock or injury when the Steam Mop is used.
- To protect against a risk of electric shock, DO NOT immerse the Steam Mop in water or any other liquid.
- DO NOT handle the plug or Steam Mop with wet hands or operate it without wearing shoes.
- DO NOT pull or carry by cord, use cord as a handle, close a door on cord, or pull cord around sharp edges or corners. DO NOT run Steam Mop over cord. Keep cord away from heated surfaces.
- DO NOT unplug by pulling on power cord. To unplug, grasp the plug, not the power cord. DO NOT use extension cords or outlets with inadequate current-carrying capacity.
- DO NOT put any objects into the steam nozzle openings. Discontinue use if the steam nozzle is blocked.
- DO NOT put hands or feet under the Steam Mop. It gets very hot.
- Use ONLY on flat, horizontal surfaces. DO NOT use on walls, counters, or windows.
- DO NOT use on leather, wax- polished furniture, synthetic fabrics, velvet, or other delicate, steam-sensitive materials.
- DO NOT add cleaning solutions, vinegar, scented perfumes, oils, or any other chemicals to the water used in the Steam Mop as this may damage it or make it unsafe for use. If you live in a hard-water area, we recommend using distilled water in your Steam Mop.
- NEVER store or leave Steam Mop in one spot with Dirt Grip® pad attached, as this may damage surfaces.
- Before removing Dirt Grip pad, unplug the Steam Mop and allow it to cool.
- Unplug the Steam Mop before cleaning. Use a dry or damp cloth to clean the exterior. DO NOT pour water on Steam Mop, or use alcohol, benzene, or paint thinner to clean.
- Extreme caution should be exercised when using the Steam Mop to clean stairs.
- NEVER use Steam Mop without the Dirt Grip pad attached.
- Keep your work area well lit.
- Store Steam Mop indoors in a cool, dry place.
- To avoid circuit overload, DO NOT operate another appliance on the same socket (circuit) as the Steam Mop.
- To avoid scalding injuries, ALWAYS unplug the Steam Mop and allow it to cool before removing or changing mop heads, accessories, or Dirt Grip pads.
- Your Steam Mop is designed to clean hard floor surfaces that will withstand high heat. DO NOT use on unsealed wood or unglazed ceramic floors. On surfaces that have been treated with wax and on some no-wax floors, the sheen may be removed by the heat and steam action. We recommend testing an isolated area of the surface to be cleaned before proceeding. We also recommend that you check the use and care instructions from the floor manufacturer.
POLARIZED PLUG
To reduce the risk of electric shock, this Steam Mop has a polarized plug (one blade is wider than the other). As a safety feature, this plug will fit into a polarized outlet ONLY one way. If the plug does not fit fully into the outlet, reverse the plug. If it still does not fit, contact a qualified electrician. DO NOT force into outlet or try to modify to fit.
GETTING TO KNOW YOUR SHARK® STEAM MOP
WELCOME!
Congratulations on your purchase. Use this instruction manual to learn about your new Steam Mop’s great features. From assembly to use to maintenance, you will find it all in here.
NOTE: When assembling your Steam Mop there may be a little water in or around the water tank. This is because we thoroughly test all of our Steam Mops before you buy them, so you get a quality Shark* Steam Mop.

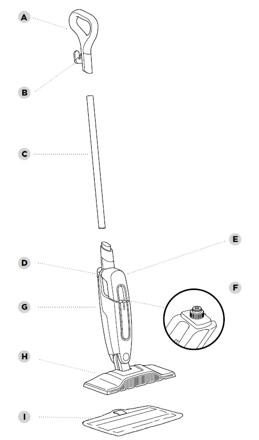
MAIN UNIT
- A: Steam Mop Handle
- B: Upper Cord Wrap
- C: Pole
- D: Lower Cord Wrap
- E: Removable Water Tank
- F: Water Tank Cap
- G: Steam Mop Body
- H: Mop Head
- I: Dirt Grip® Pad
ASSEMBLING YOUR STEAM MOP
WARNING: ALWAYS make sure the Steam Mop is UNPLUGGED when not in use. NEVER fill the Steam Mop when it is plugged into an electrical outlet. Unplug from the electrical outlet and allow the unit to cool before you fill the water tank, or attach or remove the mop head. Make sure you add only water to the tank. Chemicals or cleaning solutions (including vinegar) may damage the Steam Mop and could be unsafe for you and your family.

- Align the mop handle and mop pole so the arrow symbols inside them face forward. Insert either end of the pole into the handle until it clicks securely into place.
- Align the assembled steam mop pole and the steam mop body so their arrow symbols both face forward. Insert the pole into the top of the mop body, sliding it in until it clicks into place.
- Place the Dirt Grip® cleaning pad on the floor with the quick fastener strips facing up. Align the mop head directly over the pad, then press the mop head down onto the pad. The quick fastener strips will secure the pad to the mop head.
USING YOUR STEAM MOP
- To remove the tank, lift it up and away from the Steam Mop body. Make sure to unplug the Steam Mop before removing the water tank.

- To remove the water tank cap, twist counterclockwise. Fill tank completely with distilled water or tap water.

- Replace cap on water tank and turn cap clockwise to seal.

- To replace the water tank, align it so the cap faces down. Place the cap into the hole in the Steam Mop body and slide tank down until it clicks securely into place.


- Pull and twist the quick release cord holder to unwrap the power cord completely. When Steam Mop is plugged into an electrical outlet, the power light will illuminate. It takes approximately 30 seconds for the mop to heat up and the steam to be ready.
- Pump the handle a few times in a downward motion. This pumping action will release steam as you mop and allows you to customize the amount of steam you want. Begin mopping with a forward and backward motion. The natural motion of mopping will produce steam.

- When the water tank is empty, the Steam Mop will stop producing steam. Make sure to unplug the Steam Mop before refilling the water tank. Follow the water tank refilling instructions on pages 7-8.
TO SANITIZE* WITH YOUR STEAM MOP
- Start with a clean pad.
- Pump the handle a few times in a downward motion.
- Start mopping on an appropriate sealed hard-floor surface with a forward and backward motion. After three minutes, your unit is ready to be used to sanitize.
- Using a forward and backward motion, move the unit over the area you seek to sanitize. Repeat at least 15 times.
ACCESSORIES
The Quick Start Guide shows the select accessories that are included with your model.
To purchase additional accessories, visit sharkaccessories.com

DIRT GRIP® WASHABLE PAD
These easy-to-attach, reusable pads feature a super-absorbent microfiber for locking in moisture and dirt, and scrubbing material for breaking up tough, stuck-on stains.
PAD CARE INSTRUCTIONS
Machine-wash the Dirt Grip pads separately with warm water using liquid detergent.
NEVER USE BLEACH, POWDERED DETERGENT, OR FABRIC SOFTENERS as they may damage or leave a coating on the Dirt Grip pads that will reduce their cleaning performance and absorbency. Dirt Grip pads should be line-dried or tumble-dried on a low setting, as this will extend the life of the microfiber fabric. Loose fibers can indicate wearing of the microfiber fabric. DO NOT pull the loose fibers, as this can cause the weave to come undone. Simply trim the loose fibers with scissors. For best cleaning results, we recommend replacing your Dirt Grip pads every 3 to 4 months following normal use. As with any fabric, dirt particles, grease, friction, and repeated washing can cause the fibers to break down, and you may notice an increase in the effort needed to push or pull the mop.
MAINTAINING YOUR STEAM MOP

AFTER USE AND STORAGE
- Unplug the cord from the wall outlet, and wrap the cord around the cord hooks. Lock the Steam Mop in an upright standing position by raising the handle until the pole is standing straight up, perpendicular to the ground.
- After cleaning, wait 2 to 3 minutes to let the Dirt Grip® pad cool before touching it. When cool, remove pad from mop head to avoid damage to your floors. Remove the pad by stepping on the tab and lifting off the mop head, or by carefully pulling the pad off the mop head.
- With the unit locked in the upright standing position, store it in a closet or the corner of a room.
TROUBLESHOOTING GUIDE
The Steam Mop will not turn on.
- Your Steam Mop should be securely plugged into an electrical outlet.
- Check the fuse or circuit-breaker.
- If your unit still doesn’t work, give us a call at: 1-800-798-7398.
The Steam Mop will not make steam.
- Make sure there is water in the tank. To add water, follow the instructions on pages 7 and 8.
- If the water tank is full, prime the mop by pumping the handle in a downward motion a few times to release steam.
The Steam Mop leaves water on the floor.
- DO NOT leave the Steam Mop on the floor with a damp or wet cleaning pad attached.
- If you are using tap water, we recommend switching to distilled water.
- Make sure that the cap is securely placed on the water tank.
The Steam Mop leaves white spots on the floor.
- DO NOT leave the Steam Mop on the floor with a damp or wet cleaning pad attached.
- If you are using tap water, we recommend switching to distilled water.
Floors are cloudy, streaky, or spotty after steaming.
- The Dirt Grip® pad might be dirty. Change to a new pad.
- If you washed the pad with powder detergent then the pad might have residual detergent left on it. Wash it again with liquid detergent.
- If you are cleaning in a kitchen area where there might be a buildup of grease, then use a degreasing agent such as an all-purpose cleaner or dish soap and paper towels to clean the area first.
- You might have left the mop in the same spot for too long.
- Do you have hard water? If you do, you might want to switch to distilled water.
- This might be residue on the floor from previous cleanings. Clean with the Steam Mop a few more times to remove any residue.
The Steam Mop is hard to push.
- Make sure the Dirt Grip pad is properly attached.
ONE (1) YEAR LIMITED WARRANTY
The One (1) Year Limited Warranty applies to purchases made from authorized retailers of SharkNinja Operating LLC. Warranty coverage applies to the original owner and to the original product only and is not transferable. SharkNinja warrants that the unit shall be free from defects in material and workmanship for a period of one (1) year from the date of purchase when it is used under normal household conditions and maintained according to the requirements outlined in the Owner’s Guide, subject to the following conditions and exclusions:
What is covered by this warranty?
- The original unit and/or non-wearable parts deemed defective, in SharkNinja’s sole discretion, will be repaired or replaced up to one (1) year from the original purchase date.
- I n the event a replacement unit is issued, the warranty coverage ends six (6) months following the receipt date of the replacement unit or the remainder of the existing warranty, whichever is later. SharkNinja reserves the right to replace the unit with one of equal or greater value.
What is not covered by this warranty?
- Normal wear and tear of wearable parts (such as foam filters, HEPA filters, pads, etc.), which require regular maintenance and/or replacement to ensure the proper functioning of your unit, are not covered by this warranty. Replacement parts are available for purchase at sharkaccessories.com.
- Any unit that has been tampered with or used for commercial purposes.
- Damage caused by misuse (e.g., vacuuming up water or other liquids), abuse, negligent handling, failure to perform required maintenance (e.g., not cleaning the filters), or damage due to mishandling in transit.
- Consequential and incidental damages.
- Defects caused by repair persons not authorized by SharkNinja. These defects include damages caused in the process of shipping, altering, or repairing the SharkNinja product (or any of its parts) when the repair is performed by a repair person not authorized by SharkNinja.
- Products purchased, used, or operated outside North America.
How to get service
If your appliance fails to operate properly while in use under normal household conditions within the warranty period, visit sharkclean.com/support for product care and maintenance self-help. Our Customer Service Specialists are also available at 1-800-798-7398 to assist with product support and warranty service options, including the possibility of upgrading to our VIP warranty service options for select product categories. So we may better assist you, please register your product online at registeryourshark. com and have the product on hand when you call. SharkNinja will cover the cost for the customer to send in the unit to us for repair or replacement. A fee of $24.95 (subject to change) will be charged when SharkNinja ships the repaired or replacement unit.
How to initiate a warranty claim
You must call 1-800-798-7398 to initiate a warranty claim. You will need the receipt as proof of purchase. We also ask that you register your product online at registeryourshark.com and have the product on hand when you call, so we may better assist you. A Customer Service Specialist will provide you with return and packing instruction information.
How state law applies
This warranty gives you specific legal rights, and you also may have other rights that vary from state to state. Some states do not permit the exclusion or limitation of incidental or consequential damages, so the above may not apply to you.
PLEASE READ CAREFULLY AND KEEP FOR FUTURE REFERENCE.
This Owner’s Guide is designed to help you keep your Steam Mop running at peak performance.
SharkNinja Operating LLC
US: Needham, MA 02494
CAN: Ville St-Laurent, QC H4S 1A7
Illustrations may differ from actual product. We are constantly striving to improve our products; therefore the specifications contained herein are subject to change without notice. For SharkNinja U.S. Patent information, visit sharkninja.com/uspatents























