ICE KING RL114W.E Undercounter Larder Fridge

REFRIGERATOR SAFETY
- Your safety and the safety of others is very important. We have provided many important safety messages in this manual. Always read and obey all safety instructions.
- Danger: Danger means that failure to heed this safety statement may result in severe personal injury or death.
- Warning: Warning means that failure to heed this safety statement may result in extensive product damage, serious personal injury or death.
- Caution: Caution means that failure to heed this safety statement may result in minor or moderate personal injury, property or equipment damage.
- The safety instructions will alert you to the potential hazards, tell you how to reduce the chance of injury and advise what can happen if the instructions are not followed.
IMPORTANT INFORMATION
Before the refrigerator is used, it must be properly installed as described in this manual, so please read the manual carefully. To reduce risk of fire, electric shock or injury when using the appliance, follow basic precautions as follows:
Danger
- Plug into an earthed 3-pin socket ONLY, DO NOT remove the earth pin or wire,
- DO NOT use an adaptor and DO NOT use an extension cable.
- It is recommended that you use a single socket for the refrigerator alone. Use a socket which can be turned off by a separate switch.
- Never clean the appliance with flammable fluids. The fumes can create a fire hazard or cause explosion. DO NOT store petrol or other flammable fluids in the vicinity of the appliance to avoid these hazards.
- Before undertaking cleaning or maintenance, ensure that the power cable is disconnected. DO NOT connect or disconnect the appliance when your hands are wet.
- Unplug the appliance or disconnect the power before cleaning or servicing. Failure to do so can result in electric shock and potentially be fatal.
- Do not attempt to repair or replace any part of your refrigerator unless it is specifically recommended in this manual. All other servicing should be referred to a qualified technician.
Warning
- FOLLOW THE WARNING MESSAGES BELOW ONLY IF APPLICABLE TO YOUR MODEL
- The refrigerator should be installed and moved by 2 people to avoid injury.
- To ensure proper ventilation for the appliance, the front of the unit must be completely unobstructed.
- Choose a well-ventilated area with temperatures above 16°C and below 38°C. The area should be protected from the elements (wind, rain, etc.) and water spray or drips.
- The refrigeration should not be installed next to ovens, grills, or other heat sources.
- The appliance must be installed in accordance with all UK regulations for electrical connection, water, and drains. A standard UK electrical supply is required (220-240v AC only, 50Hz), following UK and European standards.
- Do not kink or trap the power cable of the refrigerator. The fuse (or circuit breaker) should be 13amp.
- The appliance must be leveled in order for it to function correctly – use the leveling legs to adjust accordingly.
- Installation should be in accordance with the local plumbing requirements.
- Ensure that the pipes are not kinked, trapped, or damaged during installation.
- Never allow children to operate, play with or crawl inside the refrigerator.
- Due to transit and storage time, the first batch of ice cubes should be discarded.
- Do not use solvent-based or abrasive cleaning agents on the interior.
- These cleaners may damage or discolor the interior.
- Do not use this appliance for anything other than its intended purpose.
- THIS APPLIANCE IS NOT INTENDED FOR USE BY YOUNG CHILDREN OR INFIRM PERSONS UNLESS THEY ARE ADEQUATELY SUPERVISED BY A RESPONSIBLE ADULT TO ENSURE THAT THEY CAN USE THE APPLIANCE SAFELY. YOUNG CHILDREN MUST BE SUPERVISED TO ENSURE THAT THEY DO NOT PLAY WITH THE APPLIANCE.
PARTS & FEATURES
- Glass shelf
- Glass Shelf
- Levelling Legs
- Lamp
- Thermostat controller
- Dairy Compartment
- Bottle Rack
- bottleneck
- Crisper
IMPORTANT SAFETY INSTRUCTIONS
Warning
- TO REDUCE THE RISK OF FIRE, ELECTRICAL SHOCK, OR INJURY WHEN USING THE APPLIANCE FOLLOW THESE BASIC PRECAUTIONS:
- Read all instructions before using the refrigerator.
- WARNING: Child entrapment and suffocation are still a danger. Old or abandoned refrigerators are still dangerous even though they are not being used.
- Before you throw away your old refrigerator: Remove the doors but leave shelves in place so that children cannot climb inside.
- Never allow children to operate, play with or crawl inside the refrigerator.
- Never clean refrigerator parts with flammable fluids. The fumes can create a fire hazard or an explosion. Do not store petrol or any other flammable liquids in the vicinity of this or any other refrigerator. The fumes can create a fire hazard or an explosion.
- If the power cable is damaged, it must be replaced by the manufacturer, its service agent, or a similarly qualified person in order to avoid a hazard.
INSTALLATION INSTRUCTIONS
Before Using The Appliance
- Remove the exterior and interior packaging.
- Check to ensure that you have the following parts: 2 shelves and the instruction manual.
- Before connecting the unit to the power source and switching it on, let it stand upright for approximately 2 hours. This will reduce the risk of a malfunction in the cooling system from movement during transportation.
- Clean the interior surface with lukewarm water using a soft cloth.
Installing The Appliance
- This appliance is designed to be free-standing only and should not be recessed or built-in.
- Place your unit on a floor that is strong enough to support the unit when it is fully loaded. To level your unit, adjust the leveling legs at the bottom of the unit.
- Allow 125mm of space between the back and sides of the unit which allows sufficient air circulation to cool the compressor and the condenser.
- Locate the unit away from direct sunlight and sources of heat (stove, heater, radiator, etc.). Direct sunlight may affect the acrylic coating and heat sources may increase electrical consumption. Extreme cold ambient temperatures may also cause the unit not to perform properly.
- Avoid locating the unit in moist areas.
- Plug the unit into an exclusive, properly earthed wall socket. DO NOT, under any circumstances, cut or remove the 3rd pin from the plug or earth wire from the power cable. Any questions concerning earthing should be directed to a qualified electrician or authorized service company.
- After plugging the appliance into a wall socket, allow the unit to cool down for 2-3 hours before placing food inside the refrigerator.
Electrical Connection
WARNING
- IMPROPER USE OF THE EARTHED PLUG CAN RESULT IN THE RISK OF AN ELECTRIC SHOCK. IF THE POWER CABLE IS DAMAGED, HAVE IT REPLACED BY AN AUTHORISED SERVICE COMPANY OR A QUALIFIED ELECTRICIAN.
- This unit should be properly earthed for safety reasons. The power cable is fitted with a 3-pin plug, which is correct for UK wall sockets, to minimize the risk of electric shock.
- DO NOT, under any circumstances, cut or remove the 3-pin plug from the power cable supplied. For personal safety, this appliance must be properly earthed. This unit requires a standard 220-240v AC/50Hz electrical outlet with a 3-pin UK socket.
- Have the socket and circuit checked by a qualified electrician to ensure that the socket is properly earthed?
- To prevent accidental injury, the cable should be secured behind the unit and not left exposed or dangling.
- The unit should always be plugged into its own individual electric socket with a voltage rating matching the rating label on the appliance. This ensures the best performance and also prevents the overloading of household circuits which could cause a fire hazard if they overheated. NEVER unplug the unit by just pulling on the power cable.
- Always switch off at the electric point first, then grip the plug firmly and pull it out from the socket. Repair or replace ( with the help of a qualified electrician) all power cables that have become frayed or otherwise damaged. Do not use a cable that shows cracks or abrasion damage along its length or at either end. Take care not to damage the power cable when moving the appliance.
Extension Cable
- Because of potential safety hazards under certain conditions, it is strongly recommended that you DO NOT use an extension cable with this unit. However, if you must use an extension cable, it is absolutely essential that it is a 3-pin earthed extension cable with a UK standard plug and socket, and that the electrical rating of the extension cable is 220-240v with a 13amp fuse.
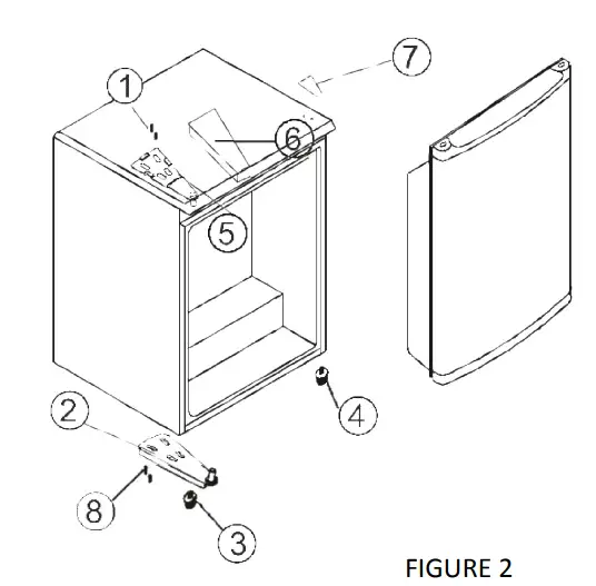
Reversing the Door
- This larder fridge has been fitted with the door hinges on the right. If you wish to change the opening side of the door, follow the instructions below:
- Remove the upper hinge cover (6).
- Remove the three screws (1) that hold the upper hinge (5) to the frame. Remove the upper hinge (5).
- Remove the door by lifting it and placing it on a padded surface to prevent scratching.
- Remove the two screws (8) that hold the lower hinge (2) and then remove the lower hinge (2).
- Swap over the leveling legs.
- Remove the hole cover plate (7) and place it on the opposite side.
- Attach the lower hinge (2) on the opposite side with the two screws (8).
- Set the door in its place, making sure it sits on the door seat at the lower hinge (2).
- Re-attach the upper hinge (5) on the opposite side using the screws (1). Do not tighten the screws until the top of the door is level with the countertop.
- Place the upper hinge cover (6) on the upper hinge.

FIGURE 1 Door opening from the l side
- Screws
- ower hinge
- Leveling legs
- Upper hinge
- Upper hinge cover
- Hole cover plate
- Screws

Door opening from the right side
OPERATING THE UNIT
- Se ng the Temperature Control
- The unit only has one control for regulating the temperature of the refrigerator. The temperature control is located on the inside of the appliance (top right).
- The first time you turn the unit on, set the temperature control to position “6”.
- The range of the temperature control is from position “0” to “6”. After 24-48 hours adjust the temperature control to the setting that best suits your needs. Setting “3” should be appropriate for home or office use.
- To turn the appliance off, turn the temperature control to ”0 ”.
NOTE: Turning the temperature control to the “0” position stops the cooling cycle but does not shut off the power to the unit. If the unit is unplugged, has lost power, or is turned off, you must wait for 3 to 5 minutes before restarting the unit. If you attempt to restart before this time delay, the unit will not start.
CARE AND MAINTENANCE
Caution
- DO NOT USE BOILING WATER BECAUSE IT MAY DAMAGE THE PLASTIC PARTS. IN ADDITION, NEVER USE A SHARP OR METALLIC INSTRUMENT TO REMOVE FROST AS IT MAY DAMAGE THE COOLING SYSTEM AND WILL VOID THE WARRANTY. IF NECESSARY, USE A PLASTIC SCRAPER.
Cleaning The Unit
- Turn the temperature control to “0”, unplug the unit and remove any food and the shelves.
- Clean the inside surfaces with warm water and baking soda solution. The solution should be about 2 tablespoons of baking soda to 1.13 liters of water.
- Clean the shelves with a mild detergent solution.
- Squeeze excess water out of the sponge or cloth before cleaning the controls or any electrical parts. Clean the outside of the cabinet with warm water and mild liquid detergent. Rinse well and wipe dry with a clean soft cloth.
Replacing the Bulb
- The LED lamp is used by the refrigerator for lighting, which features low energy consumption and long service life. In case of any abnormality, please contact the after-sales personnel for visiting service. The lamps can only be replaced by the manufacturer,together with a part of the appliance.
Caution
- FAILURE TO UNPLUG THE UNIT COULD RESULT IN AN ELECTRICAL SHOCK OR PERSONAL INJURY.
Power Failure
- Most power failures are corrected within a few hours and should not affect the temperature of your unit if you minimize the number of times the door is opened. If the power is going to be off for a longer period of time, you need to take the appropriate steps to protect your food.
Holidays
- Short Holidays: Leave the unit operating during holidays of less than 3 weeks.
- Long Holidays: If the appliance will not be used for several months, remove all food and unplug from the socket. Clean and dry the interior thoroughly. To prevent odour and mould growth, leave the door slightly open for ventilation, wedging it open if necessary.
- Moving The Unit
Remove all the food.
- Securely tape down all loose items inside the unit.
- Turn the leveling legs up to the base to avoid damage.
- Tape the door shut.
- Make sure the unit stays secure in an upright position during transportation.
- Ensure to protect the outside of the unit with a blanket or a similar item.
Energy Saving Tips
- The unit should be located in the coolest area of the room, away from heat-producing appliances and out of direct sunlight.
- Let hot foods cool to room temperature before placing them in the unit. Overloading the unit forces the compressor to run longer.
- Be sure to wrap foods properly and wipe containers dry before placing them in the unit. This minimizes frost build-up inside the unit.
- The compartment of the appliance should not be lined with aluminum foil, wax paper, or paper towels. Liners interfere with cold air circulation, making the unit less efficient.
- Organize and label food to reduce door openings and extended searches. Remove as many items as
needed at one time and close the door as soon as possible.
TROUBLESHOOTING GUIDE
You can easily resolve many problems yourself. First, try the suggestions below to see if a service call is really necessary.
| PROBLEM | POSSIBLE CAUSE(S) |
| The unit does not operate. | Not plugged in. The circuit breaker tripped/blew the fuse. The unit temperature control is set to “OFF”. |
| Turns on and off frequently. | The room temperature is hotter than normal. A large amount of food has been recently added to the unit. The door is opened too often. The door is not closed properly. The temperature control is not set correctly. The door gasket does not seal properly. The unit does not have the correct clearances. |
| Vibrations | Ensure that the unit is level. |
| The unit seems to make too much noise. | The rattling noise may come from the flow of the refrigerant which is normal. As each cycle ends, you may hear gurgling sounds caused by the flow of refrigerant in the unit. Contraction and expansion of the inside walls may cause popping and crackling noises. The unit is not level. |
| The door will not close properly. | The unit is not level. The door was reversed and not properly installed. The gasket is dirty or bent. The shelves or baskets are out of position. |
WIRING DIAGRAM
Precautions:
If the appliance is to be discarded/recycled, you must remove the lid/door. This will reduce the possibility of danger to children. The flammable foaming needs to be disposed of by a professional company/person or your local council.
Declaration of Conformity:
- The manufacturers of the product(s) described herein, to which this description refers, declare on their sole responsibility that the product(s) meet the relevant fundamental safety, health, and protection requirements of the relevant UK, ROI & EU laws and that the corresponding test reports are available for examination by the relevant authorities and can be requested from the seller of the appliance, especially with regard to CE Declaration of Conformity issued by the manufacturer’s approval.
- Moreover, the manufacturer declares that the parts of the appliance described in this instruction manual, which come into contact with fresh or frozen food, do not contain any toxic substances.
- The manufacturer works constantly on the further development of all products. Please, therefore, bear this in mind as the form, set up and technology are subject to change, without prior notice.
Important Note:
- This appliance is marked according to the European directive 2002/96/EC on Waste Electrical and Electronic Equipment (WEEE). By ensuring this product is disposed of correctly, you will help prevent potential negative consequences for the environment and human health, which could otherwise be caused by inappropriate waste handling of this product.
- The symbol on the product, or on the documents accompanying the product, the Crossed Out Wheelie Bin, indicates that this appliance may not be treated as household waste. Instead, it shall be handed over to the applicable collection point for the recycling of electrical and electronic equipment. Disposal must be carried out in accordance
- with local environmental regulations for waste disposal. For more detailed information about the treatment, recovery, and recycling of this product, please contact your local authority, your household waste disposal service, or the retailer where you purchased the product.
- We continuously try to improve our products for the benefit of our customers. For this reason, we reserve the right to make changes to any product at any time, without notice.
Guarantee
YOUR 2-YEAR MANUFACTURER’S GUARANTEE
THIS DOES NOT AFFECT YOUR STATUTORY RIGHTS
Your new ICE KING appliance carries a free guarantee which protects you against the cost of repairs during the first 24 months from the date of purchase provided that any claim is accompanied by evidence of the model reference, model serial number, and proof of purchase, such as a Sales Receipt, showing that the appliance was purchased within the 24 months prior to the date of claim.
YOUR GUARANTEE IS VALID ONLY IN THE UK & REPUBLIC OF IRELAND
To register your appliance, simply complete the card in your appliance pack and return it with a stamp affixed, or alternatively, you can register online at www.repairtechuk.com
Service Helpline
Should your appliance develop a fault, please call the Iceking Service Helpline on 01527 888133
Please remember to have all your product details available, including the model number, serial number, date of purchase, and your retailer’s details before registering a fault.
Your service call cannot progress without this information.
WHAT IS NOT COVERED UNDER THE GUARANTEE:
- Any appliance not correctly installed and operated in accordance with the manufacturer’s instructions
- Any appliance that is used for anything other than domestic purposes.
- Any defect caused by accident, misuse, unauthorized modification, or inexpert repair.
Guarantee
- Cost of callout where a fault cannot be found with the appliance.
- Cost of callout for work covering routine maintenance, such as but not exclusively, cleaning of filters or defrosting.
- Cost of callout for work required to correct the alignment of doors following door reversal procedures carried out by you.
- Use of the appliance by anyone other than the Householder.
- Use in any commercial environment.
- Consumable items, such as, but not exclusively, fuses in plugs, bulbs, and breakable items which require routine replacement.
- Repair costs incurred that have not been authorized by the Repairtech and/or carried out by a non-approved Repairtech engineer.
Insurance! Any warranty provided with this product does not cover the loss of fridge/ freezer content. Any claim for loss, damage, costs or expenses of an indirect or consequential nature including any economic loss or damage to foodstuffs or any other goods is excluded. We recommend that you inspect your fridge/freezer regularly to check that it is working correctly, losses can result from deterioration following a breakdown or accidental failure of the appliance, fuses, plugs or public electricity supply, these can be covered by your standard home insurance or might require extra cover. Check with your insurance provider.
Important Note:
This appliance is marked according to the European directive 2002/96/EC on Waste Electrical and Electronic Equipment (WEEE). By ensuring this product is disposed of correctly, you will help prevent potential negative consequences for the environment and human health, which could otherwise be caused by inappropriate waste handling of this product.
Special for new European standard
The ordered parts in the following table can be acquired from customer services.
| Ordered Parted | Provided By | Minimum Time Required For provision. |
| Thermostats | Professional maintenance personnel | At least 7 years after the last model is launched on the market |
| Temperature Sensor | Professional maintenance personnel | At least 7 years after the last model is launched on the market |
| Printed Circuit board | Professional maintenance personnel | At least 7 years after the last model is launched on the market |
| Light Source | Professional repairers and final users | At least 7 years after the last model is launched on the market |
| Door Handles | Professional repairers and final users | At least 7 years after the last model is launched on the market |
| Door Hinges | Professional repairers and final users | At least 7 years after the last model is launched on the market |
| Trays | Professional repairers and final users | At least 7 years after the last model is launched on the market |
| Baskets | Professional repairers and final users | At least 7 years after the last model is launched on the market |
| Door gaskets | Professional repairers and final users | At least 10 years after the last model is launched on the market |
Product Data Sheet concerning (EU) 2019/2019
- The product data sheet for your appliance can be found online if you wish to download a copy.
- Go to https://eprel.ec.europe.eu and enter the model identifier for your appliance to download the datasheet.
- Alternatively, you can download it from www.ice-king.co.uk by going to the relevant product page.
- The model identifier for your appliance can be found on the rating plate at the rear/ inside of the appliance.





















