ULINE Shrink Tunnel User Manual

SPECIFICATIONS
| MODEL | PP 1606-20 |
| Chamber Size | Width: 16″ |
| Height: 6″ | |
| Length: 20″ | |
| Volts | 110 |
| Amperage | 20 |
| Phase | Single 1/0 |
| Weight | 250 lbs. |
PLACEMENT:
Determine where to place the shrink tunnel. Here are some things to keep in mind:
- A power source with low voltage protection. Machine will not operate properly if voltage is too low.
- Avoid drafty areas. Heat may be drawn away from machine and affect performance.
WARNING! Only authorized or trained personnel should operate the Shrink Tunnel. Do not tamper with electrical wiring. Always switch off machine and disconnect power before maintenance, cleaning or repairs.
Keep hands away from moving conveyors and other moving parts.
DO NOT operate this machine without all covers and guards in place. Severe injury may result. Heat-sealing arms and jaws become hot after a period of use. Keep hands away while machine is in operation.
Do not modify this machine in any way. Modifying the Shrink Tunnel will void any warranties. Some plastic films used for sealing and shrinking may release hazardous fumes at high temperatures. Provide adequate
ventilation at all times. Unplug the Shrink Tunnel when not in use.
IMPORTANT! Read this manual carefully to familiarize yourself with the controls and operation of this Shrink Tunnel before installation or use. Keep this manual in a safe place for future reference.
OPERATOR CONTROLS

OPERATION
- Cut the two strappings from rollers prior to first use.
- Turn power switch on. This starts machine and cooling fan.
- Turn heater switch on. This starts the blower, conveyor motors and heater.
- Set conveyor speed. Set the conveyor knob between 1 and 3 until user determines the exact conveyor speed needed, based on package size and sealer speed. Factory setting is 2.
- Set shrink temperature. Use the temperature control to set desired temperature. Adjust the temperature higher or lower as needed. Machine requires about 30 minutes to reach the set temperature. Factory setting is 325ºF.
NOTE: The appropriate conveyor speed and heat setting for shrink wrapping your product will vary based on type, thickness and brand of shrink film. We recommend shrink wrapping with the manufacturer settings first and adjusting to suit needs.
CAUTION! When turning the tunnel off, remember to turn off heater switch FIRST. The tunnel automatically shuts off at about 180ºF. Then user can turn the power switch OFF.
TEMPERATURE CONTROL

- PV (Present Value) = Shows current operating temperature of the machine.
- SV (Set Value) = Shows the temperature you set for the machine.
- Moves indicator on SV display so you can set the temperature.
- and adjust the number up or down
- Set button selects the temperature as the set value.
TO ADJUST THE SET TEMPERATURE:
- Press the key. SV display flashes in 1st column. While number is flashing, use the or keys to your first desired number
- Press the key to move the indicator 1 place to the left. While number is flashing, use the or keys to your second desired number
- Press the key to move the indicator 1 place to the left. While number is flashing, use the or keys to your third desired number.
- Once the desired temperature is displayed, press the key. This saves the temperature you entered as the Set Temperature.
MAINTENANCE
To keep the Shrink Tunnel operating efficiently perform the following:
- Monthly – Lubricate the conveyor chains with high temperature oil. Apply with a brush or spray with conveyor running slowly.
- Regularly inspect the silicone covering on the tunnel rollers. Make sure no film is wrapped around rollers, this could cause packages to stick.
TO CLEAN
- Run conveyor until the affected rollers are inside the heat chamber.
- Let the heater soften the film residue on the rollers.
- Advance the conveyor to stop the rollers outside the heat chamber.
WARNING! Make sure conveyor is stopped before placing hands or tools in the conveyor area. - Remove the film residue with a dull blunt-edged tool such as plastic putty knife. DO NOT use sharp tools or instruments, you may nick the silicone covering and have to replace it.
INSTALLING LEG KIT USING FORKLIFT

- Remove outer corrugated box from pallet. (See Figure 1)

- Using 13 mm socket, remove two bolts that secure shrink tunnel to pallet. (See Figure 2)

- Place forklift in front of shrink tunnel with the forks close together. (See Figure 3)

- With two people, lift and slide tunnel onto the forks. Once unit is secured, raise the forks upward to a comfortable working height. (See Figure 4)

INSTALLING LEG KIT USING FORKLIFT CONTINUED
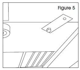
- Using 10 mm socket, remove two metal straps that secured the tunnel to pallet. (See Figure 5)

- Using 10 mm socket, remove four rubber bumpers. (See Figure 6)

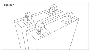
- Remove leg set and included hardware from box. (See Figure 7)

- Hold one leg up to the bottom of tunnel. Make sure the leg panel is facing outward and along the width of tunnel. (See Figure 8)

- Secure leg to tunnel with six bolts, three in each corner. (See Figure 9)

- Repeat step 8 and 9 with the other leg.
- Lower forklift till shrink tunnel is resting on the ground. Remove forks from unit.
- Finished unit with legs. (See Figure 10)

INSTALLING LEG KIT WITHOUT FORKLIFT
NOTE: You will need two 2 x 4″ wood planks for this process.
- Remove outer corrugated box from pallet. (See Figure 11)

- Using 13 mm socket, remove two bolts that secure shrink tunnel to pallet. (See Figure 12)

- Place corrugated flat sheet or blanket on the sheet or blanket on the floor toward the backside of shrink tunnel. (See
- Place two 2 x 4″ wood planks perpendicular to the tunnel as shown. (See Figure 13)

- Rest the shrink tunnel on the planks, exposing the bottom of tunnel. (See Figure 14)

- With tunnel resting on its backside, make sure power cord is free from damage. (See Figure 15)

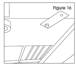
- Using 10 mm socket, remove two metal straps that secured the tunnel to pallet. (See Figure 16)

- Using 10 mm socket, remove four rubber bumpers. (See Figure 17)

INSTALLING LEG KIT WITHOUT FORKLIFT CONTINUED
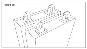
- Remove leg set and included hardware from box. (See Figure 18)

- Place leg on top of pallet. Make sure the leg panel faces outward and along the width of tunnel. (See Figure 19)

- Secure leg to tunnel with six bolts, six washers and six lock washers. Use three on each corner. (See Figure 20)

- Repeat steps 10 and 11 with the other leg.
- With two people, lift shrink tunnel upright.
- Finished unit with legs. (See Figure 21)

TROUBLESHOOTING
OPERATING ISSUE | CAUSES | RECOMMENDATIONS |
| Conveyor not working | Machine not powered correctly. | Check power switch is ON and power cord is plugged into or wired to power. Check that main power is ON. Check fuse: Remove Top Panel (12 screws). Check fuse (F5 1 Amp fuse) between wires 11 and 16. Check fuse with fuse tester or multi-meter. Replace fuse if bad. |
| No air flow | Bad fuse. | Check fuse: Remove top panel (12 screws). Check fuse (F1 20 Amp fuse) betweeen wires 4 and 6. Check fuse with fuse tester or multi-meter. Replace fuse if bad. |










































