THE HOME DEPOT IDF-3457WH-PT Steffingham 42 Inch Square White and Espresso Faux Marble Top with Wood Frame

TOOLS REQUIRED
Allen Wrench (Included)
2 – People Recommended
ASSEMBLY RATING![]()
EASY—– DIFFICULT
The Assembly Rating is a 5-point system showing the level of effort needed to assemble a specific product.
CHECK BEFORE STARTING
- Are you missing anything?
Double-check all parts, hardware and accessories listed are all accounted for. - Should we send any replacements?
Are there any irregularities or flaws in the parts? We can send replacements! - Check out our Quick Tips!
We recommend reviewing the pre-assembly handouts. Even experts need a refresher now and then! - Prep Time!
Please review the assembly instructions and all diagrams prior to assembling.
PRE ASSEMBLY INTRODUCTION
We understand building ready-to-assemble furniture can be a challenging experience for some. To help avoid confusion, we have provided some helpful tips that may speed up the process.
Teamwork
ALWAYS have at least two people to help with transporting and assembling the product to avoid potential injury and/or damage.
Suitable Location
Assembling near the area of the intended location is highly recommended.
Sufficient Space
Make sure you have enough space to move around during the assembly.
Avoid Scratches
Use cardboard, blankets or a carpeted area while assembling furniture to prevent to prevent scratches and damages.
Flat Surface
Make sure the furniture rests on a flat and level surface with each leg evenly touching the floor.
ASSEMBLY AND CARE ADVICE
FAILURE TO FOLLOW THE GUIDELINES BELOW MAY RESULT IN INJURY AND/OR PROPERTY DAMAGE.
Position each part correctly and insert screws or bolts into their respective holes.
Use the appropriate hand tools or power tools for assembly. Select steps, such as tightening screws and/or bolts, may require hand tools to avoid causing damage during assembly.
Turn clockwise to tighten and only tighten when step is completed or when instructed to do so.
Save the instructions and store any supplied tools for later maintenance.
After two weeks, check and tighten any loose hardware and repeat again every six months thereafter.
IT IS THE USER’S RESPONSIBILITY TO MAINTAIN THE FURNITURE. THE HARDWARE MAY LOOSEN OVER TIME AND MAY CAUSE THE FURNITURE TO BE WOBBLY AND UNABLE TO SUPPORT ITS INTENDED WEIGHT CAPACITY. THIS MAY LEAD TO COLLAPSE AND MAY CAUSE SERI OUS INJURY.
TABLE
- Pleas e keep instructions for fut1,1re reference.
- Check the quantity and irregularity of parts and hardware before you start.

PARTS
HARDWARE


ASSEMBLY INSTRUCTIONS
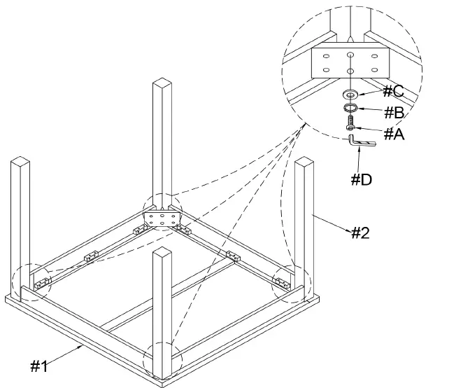
- Align legs (#2) to the top (#1 ), then secure by using bolts (#A) with washers (#8,C).
- Part#1 x1pc
- Part#2 x4pcs
- Hardware#A xspcs
- Hardware #B xspcs
- Hardware #C x8pcs


ASSEMBLY COMPLETED
Please ensure the furniture rests on an even and flat surface. If the product wobbles or feels loose, double-check all bolts and/or screws are properly tightened and secured.
- Keep this handy!
Please retain this instruction manual and any order-related information for future reference. - Lift, don’t drag!
To avoid damage to product please always LIFT the product when transporting of adjusting the placement.

2 – People Recommended
Teamwork
Suitable Location
Sufficient Space
Avoid Scratches
Flat Surface
Position each part correctly and insert screws or bolts into their respective holes.
Use the appropriate hand tools or power tools for assembly. Select steps, such as tightening screws and/or bolts, may require hand tools to avoid causing damage during assembly.
Turn clockwise to tighten and only tighten when step is completed or when instructed to do so.
Save the instructions and store any supplied tools for later maintenance.
After two weeks, check and tighten any loose hardware and repeat again every six months thereafter.














