1418FM-23-259 Freestanding Faux Marble Surround Electric Fireplace

Product Information
Item #: 1007512383
Model #: 1418FM-23-259
Product Name: Northglenn 36 in Freestanding Faux Marble Surround
Electric Fireplace in Cashmere
Contact Number: 1-877-527-0313
Retailer: HomeDepot.com
Manufacturer: StyleWell
Product Type: Electric Fireplace Console
Safety Information
Modifications not approved by the party responsible for compliance could void user’s authority to operate the equipment.
This Class B digital apparatus complies with Canadian ICES-003.
When using electrical appliances, basic precautions should always be followed to reduce the risk of fire, electric shock, and injury to persons, including the following:
Danger
Read all instructions before using this heater. If the information in this manual is not followed exactly, an electric shock or fire may result causing property damage, personal injury or loss of life.
Warning
- If possible, ALWAYS unplug this appliance when not in use.
- DO NOT operate any heater with a damaged cord or plug or after the heater malfunctions. DO NOT operate any heater if it has been dropped or damaged in any manner. Disconnect power at service panel and have the heater inspected by a reputable electrician before reusing.
- Any repairs to this fireplace should be carried out by a qualified service person.
- Under no circumstances should this fireplace be modified. Parts having to be removed for servicing must be replaced prior to operating this fireplace again.
- DO NOT use outdoors.
- This heater is not intended for use in bathrooms, laundry areas, and similar indoor locations. NEVER place the heater where it may fall into a bathtub or other water container.
- To disconnect this appliance, turn controls to the off position, then remove the plug from the outlet.
- ONLY connect to properly grounded outlets.
- This appliance, when installed, must be electrically grounded following local codes and the National Electrical Code, ANSI/NFPA N0.70.
- To prevent a possible fire, DO NOT block air intakes or exhaust in any manner. DO NOT use on soft surfaces, like a bed, where opening may become blocked.
- The heaters MUST NOT be located immediately below a socket-outlet.
Warranty
The product is covered by a warranty. For more information on the warranty, please refer to the warranty section in the user manual.
Pre-Installation
Before installing the Northglenn 36 in Freestanding Faux Marble Surround Electric Fireplace in Cashmere, please read the safety information and important instructions provided in this manual carefully.
Planning Installation
Please ensure that you have enough space to install the fireplace console. The dimensions of the product are 36 inches in width. The fireplace should be installed on a flat surface that can support its weight.
Tools Required
The following tools are required to assemble and install the fireplace console:
- Phillips Head Screwdriver
- Flat Head Screwdriver
- Hammer
- Level
- Measuring Tape
Product Usage Instructions
Before using the Northglenn 36 in Freestanding Faux Marble Surround Electric Fireplace in Cashmere, please read the safety information and important instructions provided in this manual carefully.
Assembly Instructions
Please follow the assembly instructions provided in the user manual carefully to assemble the fireplace console.
Turning On/Off the Fireplace
To turn on the fireplace, plug it into a properly grounded outlet. Press the power button on the console or use the remote control to turn on the fireplace. To turn off the fireplace, press the power button on the console or use the remote control.
Adjusting the Flame and Heat Settings
The fireplace console comes with adjustable flame and heat settings. Use the remote control or the controls on the console to adjust the flame and heat settings according to your preference.
Cleaning and Maintenance
Before cleaning or performing any maintenance on the fireplace console, ensure that it is turned off and unplugged from the outlet. Use a soft, damp cloth to clean the exterior of the console. Do not use abrasive cleaners or solvents. Regularly check and clean the air intakes and exhaust to prevent a possible fire. If you experience any issues with the fireplace console, please refer to the troubleshooting section in the user manual or contact a qualified service person for assistance.
Safety Information
Please read and understand this entire manual before attempting to assemble, operate or install the product.
This equipment has been tested and found to comply with the limits for Class B digital devices, pursuant to Part 15 of the FCC rules. These limits are designed to provide reasonable protection against harmful interference in a residential installation. The equipment generates, uses and can radiate radio frequency energy and, if not installed and used in accordance with the instructions, may cause harmful interference to radio or television reception, which can be determined by turning the equipment off and on. The user is encouraged to try and correct the interference by one or more of the following measures:
- Reorient or relocate the receiving antenna
- Increase the separation between the equipment and the receiver
- Connect the equipment into an outlet on a circuit different from that to which the receiver is connected.
- Consult the dealer or an experienced radio/TV technician for help.
This device complies with Part 15 of the FCC rules. Operation is subject to the following two conditions:
- This device may not cause harmful interference, and
- This device must accept any interference received, including interference that may cause undesired operation.
Modifications not approved by the party responsible for compliance could void user’s authority to operate the equipment.
This Class B digital apparatus complies with Canadian ICES-003.
IMPORTANT INSTRUCTIONS
When using electrical appliances, basic precautions should always be followed to reduce the risk of fire, electric shock and injury to persons, including the following:
DANGER
- Read all instructions before using this heater.
- If the information in this manual is not followed exactly, an electric shock or fire may result causing property damage, personal injury or loss of life.
WARNING
- This appliance is hot when in use. To avoid burns, DO NOT let bare skin touch hot surfaces. Keep combustible material, such as furniture, pillows, bedding, papers, clothes and curtains at least 3 feet from this appliance and keep them away from the sides and rear.
Extreme caution is necessary when any heater is used by or near children or individuals with disabilities and whenever the fireplace is left operating and unattended. - DO NOT run cord under carpeting. DO NOT cover cord with throw rugs, runners, or similar coverings. DO NOT route cord under funiture or appliances. Arrange cord away from traffic areas and where it will not be tripped over.
- DO NOT insert or allow foreign objects to enter any ventilation or exhaust opening as this may cause an electric shock or fire, or damage the appliance.
- This appliance has hot and arcing or sparking parts inside. DO NOT use it in areas where gasoline, paint or flammable vapors or liquids are used or stored. This fireplace should not be used as a drying rack for clothing. Christmas stockings or decorations should not be hung in the area of it.
- Use this appliance only as described in the manual. Any other use is NOT recommended by the manufacturer and may cause fire, electric shock or injury to persons.
- Unit must be placed on a level surface or leveled with included hardware (when applicable).
- Do not sit or stand on or allow children to climb, sit or stand on the assembled product.
- For safety reasons, it is imperative that this unit be mounted on the wall or floor.
- Unit can tip over causing severe injury or death.
- Never open more than one drawer at a time.
- Do not exceed the recommended weight limits.
- Before cutting, drilling or hammering into any wall or floor surface, verify the location of electrical, plumbing and gas lines. Cutting may cause serious injury.
CAUTION
- If possible, ALWAYS unplug this appliance when not in use.
- DO NOT operate any heater with a damaged cord or plug or after the heater malfunctions. DO NOT operate any heater if it has been dropped or damaged in any manner. Disconnect power at service panel and have heater inspected by a reputable electrician before reusing.
- Any repairs to this fireplace should be carried out by a qualified service person.
Under no circumstances should this fireplace be modified. Parts having to be removed for servicing must be replaced prior to operating this fireplace again. - DO NOT use outdoors.
“WARNING – Death or serious injury may occur when children climb on audio and/or video equipment furniture. A remote control or toys placed on the furnishing may encourage a child to climb on the furnishing and as a result the furnishing may tip over on to the child.”
This heater is not intended for use in bathrooms, laundry areas and similar indoor locations. NEVER place heater where it may fall into a bathtub or other water container. - To disconnect this appliance, turn controls to the off position, then remove plug from outlet.
- ONLY connect to properly grounded outlets.
- This appliance, when installed, must be electrically grounded in accordance with local codes, with the current CSA C22.1 Canadian Electrical Code or follow U.S.A. Installations, follow local codes and the National Electrical Code, ANSI/NFPA N0.70.
- To prevent a possible fire, DO NOT block air intakes or exhaust in any manner. DO NOT use on soft surfaces, like a bed, where opening may become blocked.
- The heaters MUST NOT be located immediately below a socket-outlet.
- ALWAYS plug heaters directly into a wall outlet / receptacle. NEVER use with an extension cord or re-loadable power tap (outlet / power strip).
- There is a thermostat limiter inside the item. If the inner temperature overheats or abnormal heating occurs, the thermostat protective device will cut off power supply to prevent damage or risk of fire.
- DO NOT slide insert on top of wood to avoid scratching wood surface.
- DO NOT place any object on top of the insert or block the air intakes / vents as this can cause the unit to overheat and could cause a fire.
Electrical Connection
- A 15-Amp, 120-volt, 60 Hz circuit with a properly grounded outlet is required. Preferably, the fireplace will be on a dedicated circuit as other appliances on the same circuit may cause the circuit breaker to trip or the fuse to blow when the heater is in operation. The unit comes standard with 6-ft. three-wire cord, exiting from the rear of the fireplace. DO NOT exceed the current rating of the current tap.
Grounding Instructions
- This heater is for use on 120 volt.The cord has a plug as shown below. See illustration or grounding instruction. An adapter as shown at C is available for connecting three-blade grounding type plugs to two-slot receptacles. The green grounding plug extending from the adapter must be connected to a permanent ground such as a properly grounded outlet box. The adapter should not be used if a three-slot grounded receptacle is available.
SAVE THESE INSTRUCTIONS

Warranty
This item is warrantied by the manufacturer to be free of material and manufacturing defects for the time period of one year from the purchase date. This is subject to the following limitations and conditions:
This mantel must be installed and operated in accordance with the installation instructions that were provided with the product. Unauthorized repairs or alterations, accidents, willful abuse and misuse of the product will nullify this warranty.
This warranty is non-transferable and is offered to the original owner in so long as the product was purchased from a licensed and authorized supplier and re-seller of the product.
The warranty is limited to the repair or replacement of part(s) that have been determined to be defective in material or workmanship. This is provided that the part(s) have been subjected to “normal” conditions of use once the defect is agreed upon through the manufacturers inspection process.
Any costs or related expenses that have arised from the transportation, construction, labor or otherwise of same that have arisen from repairs, replacement, defective part(s) or otherwise the same is not covered by this warranty, nor shall the manufacturer assume the cost.
The manufacturer may, at its discretion, fully discharge all obligations with respect to this warranty by refunding the wholesale price of defective part(s).
The owner/user assumes all other risks, if any, including the risk of any direct, indirect or consequential loss or damage arising out of use, or inability to use the product, except as provided by law. All other warranties — expressed or implied — with respect to the product, its components and accessories, or any obligations/liabilities on the part of the manufacturer are hereby expressly excluded.
The manufacturer neither assumes, nor authorizes any third party to assume on its behalf, any other liabilities with respect to the sale of the product.
The warranties as outlined within this document do not apply to non-accessories used in conjunction with the installation of this product.
This warranty gives you specific legal rights, and you may also have other rights which vary from state to state.
This warranty is void if:
- The fireplace is subjected to prolonged periods of dampness or condensation.
- Any unauthorized alteration, willful abuse, accident, or misuse of the product.
- You do not have the original receipt.
Contact the Customer Service Team at 1-877-527-0313 or HOMEDEPOT.COM
Pre-Installation
PLANNING INSTALLATION
Before beginning assembly of product, make sure all parts are present. Compare parts with package contents list and hardware contents list. If any part is missing or damaged, do not attempt to assemble the product.
Estimated Assembly Time: 50 minutes.
Tools Required for Assembly (not included): Phillips screwdriver.
TOOLS REQUIRED

HARDWARE INCLUDED
NOTE: Hardware not shown to actual size.

| Part | Description | Quantity |
| AA | Wooden Dowel | 18 |
| BB | Short Screw | 2 |
| CC | Locknut | 13 |
| DD | Connecting Rod | 13 |
| EE | Long Screw | 8 |
| FF | Touch-up Pen | 1 |
| GG | Tip Restraint Hardware | 2 |
PACKAGE CONTENTS

| Part | Description | Quantity |
| A | Top | 1 |
| B | Left Side Panel | 1 |
| C | Left Front Panel | 1 |
| D | Center Front Panel | 1 |
| E | Right Front Panel | 1 |
| F | Right Side Panel | 1 |
| G | Base | 1 |
| H | Insert | 1 |
| I | Remote Control | 1 |
Installation
Install front panel
Set center front panel (D) down on a non-scratch surface. Insert four wooden dowels (AA) into holes on left and right sides of center front panel (D). Align the holes on center front panel (D) with the corresponding holes on left front panel (C) and right front panel (E). Adjust the metal plate on the center front panel (D) to align with the corresponding holes on the left front panel (C) and right front panel (E), securing with two short screws (BB).

Screw connecting rod
Screw six connecting rods (DD) into the designated plastic bushings on the back of the left front panel (C) and right front panel (E). Fully tighten with a Phillips screwdriver.

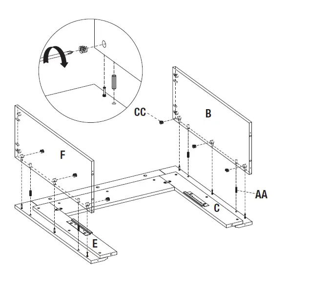
Install left and right panel
Insert four wooden dowels (AA) into the holes on the back of the left front panel (C) and right front panel (E). Attach the left side panel (B) to the left front panel (C), secure with screwing three locknuts (CC) by Phillips screwdriver.
Repeat for the right side panel (F).
Install base
Insert six wooden dowels (AA) into the holes of base (G), align and attach the assembly from step 3 to the base (G), securing from underneath with eight long screws (EE).
Screw the connecting rod
Screw seven connecting rods (DD) into designated plastic bushings on the back of the top (A). Fully tighten with a Phillips screwdriver.
Install top
Insert four wooden dowels (AA) into the top outer holes on both side panels (B, F). Attach top (A), securing from underneath with screwing seven locknuts (CC) by Phillips screwdriver.

Remove insert brackets
From behind the assembly, remove the preassembled insert brackets from the middle area. Save brackets and screws for future use.
Install insert
- NOTE: Before proceeding to the next step, with the help of another person, move the mantel close to the final desired location. DO NOT plug insert (H) into power outlet yet.
- CAUTION: DO NOT slide insert on top of wood to avoid scratching wood surface.
With the help of another person, position insert (H) into middle opening of mantel assembly.
Re-install insert brackets
Re-attach insert brackets with previously removed screws to secure insert (H).
Assembly is now complete. With the help of another person, move the assembly to the final desired location. Once in final position, you may plug the insert (H) into the power outlet.
WARNING: You must install the tip restraint hardware to help prevent any accidents or damage to the unit. We strongly recommend attaching the tip restraint hardware to a wall stud and your unit. For all other wall types, please visit your local hardware store to obtain the proper hardware.
Assembly is now complete. With the help of another person, move the unit to the final desired position. Once in the final position, you may attach the tip restraint hardware to the wall. You may now plug the heater into the power outlet.

Operating Instructions

Power Button
- Pressing the power button will turn ON or OFF the unit. brightness effect with the last settings.
- When the unit is in ON mode, the power icon indicator light will be shown green and turn ON the heating level and flame brightness effect with the last settings
- When the unit is in OFF mode, the power icon indicator light will be shown red.
NOTE: The unit has a memory function with last settings for heating level and flame brightness effect, unless the main power to the unit has been interrupted. - Mode Button
Press the mode button to cycle through the different functions. Each time the mode button is pressed, the mode will enter the next function – Temperature, Timer or Flame Brightness. - UP Arrow Button
Use up arrow button to increase the setting of the selected function. - Down Arrow Button
Use down arrow button to decrease the setting of the selected function
Temperature Mode
- The temperature mode controls the heater’s thermostat setting.
- Use Up arrow button or Down arrow button to scroll through the pre-set temperature setting. The temperature setting range is 65ºF (18ºC) to 90ºF (32ºC), HI (High) and OF (OFF).
- Hold down the Up arrow button and Down arrow button for 5 seconds to toggle between 5°F (3°C) increments and 1°F (1°C) increments when setting the temperature. The unit will beep to indicate that the change has taken place. The factory default temperature is 5°F (3°C) increments.
NOTE: This option is only available if using the control panel. - Hold down the mode button for 3 seconds to toggle between Fahrenheit and Celsius. A small “F” or “C” will display next to the temperature.
NOTE: This option is only available if using the control panel - When the ambient temperature is higher than the set temperature, heater will turn off automatically.
Timer Mode
- The timer mode should be used to set the countdown for the unit’s main power.
- Use Up arrow button or Down arrow button to scroll through the timer settings, 0.0, 0.5,1.0, 1.5, 2.0, 2.5, 3.0, 3.5, 4.0, 4.5, 5.0, 5.5, 6.0, 6.5, 7.0, 7.5, 8.0, 8.5, 9.0.
- When the timer reaches zero, the heater and power will turn off automatically.
Flame Brightness Mode
- The flame brightness mode should be used to set the flame brightness.
- Use Up arrow button or Down arrow button to scroll through the flame brightness settings: F0 (lowest), F1, F2, F3, F4, F5 (brightest).
Additional Function
- Heater Lock: When the unit is ON, press and hold the POWER button for 10 seconds to activate a lock feature on the heater. The unit will flash “E3” 3 times and the heater function will lock; all other buttons/functions will work as normal. To unlock the heater, simply press and hold the POWER button for another 10 seconds.
NOTE: This option is only available if using the control panel.
Care and Maintenance
- Make sure the unit is turned OFF and unplugged whenever you are cleaning the heater or fireplace.
- Dust the fireplace regularly with a soft, non-lint producing cloth or household dusting product.
- Clean the fireplace with a gentle non-abrasive household cleaner. Make sure to dry the fireplace immediately with a soft cloth or towel
- Tips for using touch-up pen (FF): For scratches, stroke in direction of scratch. For worn areas, stroke in the direction of wood grain.
- Rub excess colorant promptly with a soft cloth.
- The motors used on the fan and the flame generator assembly are pre-lubricated for extended bearing life and require no further lubrication. However, periodic cleaning/vacuuming of the fan/heater is recommended
Replacing the Remote Control Battery
When the remote control (I) stops operating or its range seems reduced, it is time to replace the battery.
NOTE: The battery should be removed if the product is to be left unused for a long time.
CAUTION: Non-rechargeable battery is not to be recharged. Exhausted battery is to be removed from the product.
- The battery compartment is located on the back end of the remote control (I).
- Press the small tab inward as you slide the battery door open and remove the old battery.
- Insert a new CR2025 lithium battery (not included), ensuring the polarities of the battery match the inside of the battery compartment.
- Re-insert the battery door.

Disposal of Used Battery
A battery may contain hazardous substances that could be endangering to environment and human health.
- This symbol marked on the battery and/or packaging indicates that used battery shall not be treated as municipal waste. Instead it shall be left at the appropriate collection point for recycling.
- By ensuring the used battery is disposed of correctly, you will help prevent potential negative consequences for the environment and human health. The recycling of materials will help to conserve natural resources.
- Do not dispose of battery in fire. Battery may explode or leak.
- Harmful if swallowed.
For more information about collection and recycling of used batteries, please contact your local municipality, your waste disposal service or the point of sale where you purchased this item.
Troubleshooting
| Problem | Possible cause | Solution | |
| Error E1 displayed on control panel. | The overheat sensor has been engaged. | Unplug unit, wait 5-10 minutes, then the sensor will reset itself. Plug the unit back in and turn on the heater. If the problem persists, call customer service. | |
| NOTE: The other functions will work normally. Until the problem is solved, the error will only appear/sound when the heater button is pressed. | |||
| Error E2 displayed on control panel. | The thermostat sensor is broken or not working correctly. | Unplug unit, wait 5-10 minutes, then the sensor will reset itself. Plug the unit back in and turn on the heater. If the problem persists, call customer service. | |
| NOTE: The other functions will work normally. Until the problem is solved, the error will only appear/sound when the heater button is pressed. | |||
| Error E3 displayed on control panel. | The Heater is locked. | To unlock the heater, simply press and hold the POWER button for 10 seconds. (Refer to page 14.) | |
| No power; logs do not glow. | The unit does not have power. | Check the power cord is securely plugged into a standard 120V outlet. Then check to make sure the unit is powered on. | |
| are glowing. | |||
| Heater and blower do not power on but rest of functions are working. | The Heater is locked. | To unlock the heater, simply press and hold the POWER button for 10 seconds. (Refer to page 14.) | |
| Power cord gets warm to the touch. | Normal operation. | This is normal for a heater appliance as it requires more current to operate. Check the connections of the appliance cord and the outlet. and outlet frequently to determine if it is HOT; if so, discontinue use of the overheating outlet(s). | |
| Remote control does not work. | Weak or failing battery. | Replace with a new battery. (Refer to page 15.) | |
| Remote control signal is weak and only works sometimes. | Pressing the buttons too quickly. | Press the buttons slowly and steadily to ensure the transmitter recognizes the request. | |
| Using the remote control too far away or at an off angle. | Move closer to the insert; the remote control will only work within a distance of 20 feet and 45 degrees to either side from the front of the fireplace insert. | ||
| Fan motor continues to blow after unit is powered off. | Normal operation. | This is a standard feature; the blower runs for an additional minute to cool off heater tubes. | |
Service Parts
MODEL TYPE


| Part | Description | Part # |
| A | Top | 1418FM-23-259-TOP |
| B | Left Side Panel | 1418FM-23-259-LEFT SIDE PANEL |
| C | Left Front Panel | 1418FM-23-259-LEFT FRONT PANEL |
| D | Center Panel | 1418FM-23-259-CENTER PANEL |
| E | Right Front Panel | 1418FM-23-259-RIGHT FRONT PANEL |
| F | Right Side Panel | 1418FM-23-259-RIGHT SIDE PANEL |
| G | Base | 1418FM-23-259-BASE |
| H | Insert | 2320C-PB |
| I | Remote Control | SP2320PB-001 |
| GG | Tip Restraint Hardware | ANTI- TIP HARDWARE SET |
| HH | KD Hardware Pack | PH-1418FM-23-259 |
| II | Insert Bracket (with screw) | INSERT-SIDE-MB |
Questions, problems, missing parts?
Before returning to the store, call Customer Service
8 a.m. – 7 p.m., EST, Monday – Friday, 9 a.m. – 6 p.m., EST, Saturday
Tel: 1-877-527-0313
HOMEDEPOT.COM
Retain this manual for future use.














