HUBSAN Ace Pro+ 4K 
DISCLAIMER & WARNING
All users must read product operating instructions and liability disclaimer before using and operating any HUBSAN products. By using a HUBSAN product(s), users accept the terms and conditions of HUBSAN liability and operational guidelines. This product is not suitable for minors under 14 years of age. When operating a HUBSAN product(s), users also accept all liability and responsibility for their own behavior, actions as well as any consequences resulting thereof while using a HUBSAN product(s). These products may only be used for purposes that are in accordance with local laws and regulations, and any applicable policies / guidelines HUBSAN may make available. Users agree to comply with these terms and conditions, along with any and all relevant policies / guidelines set forth by HUBSAN. Part of the details of this document may change with the upgrade of the product software version. Please read the upgrade details carefully before upgrading the software version.
INSTRUCTIONS
Some of the product flight functions are restricted in certain areas. Once you use this product, you must strictly read and follow the relevant ICAO regula-tions, local airspace and UAV regulations. You are liable for any non-compli-ance with the foregoing, and are responsible for the consequences of your actions as well as any indirect and / or direct liability that arises as a result of these limitations.
FLIGHT ENVIRONMENT REQUIREMENTS
- Select an open area to fly. Avoid high rise buildings and tall obstacles (such as trees and poles). Near buildings and obstacles, flight control signals and GPS signals are severely affected; GPS functions such as GPS mode and Return to Home may not function properly.
- Do not fly in bad weather conditions (such as in wind, rain or fog).
- Fly the aircraft in ambient temperatures of 0-40 ℃.
- When flying, please stay away from obstacles, people and crowds, high voltage lines, trees, water, etc.
- To avoid remote control signal interference, do not fly in strong electro-magnetic environment (such as venues with radio stations, power plants and Phone antenna and TV towers).
- The aircraft cannot be used at or near the Arctic circle or Antarctica.
- Do not fly in no-fly zones.
- Do not operate the aircraft near high pressure lines, airports or areas with severe magnetic interference.
IMPORTANT SAFETY INFORMATION
OPERATION
Be extremely cautious and responsible when using the aircraft. Small electronic components can be damaged due to crashes or exposure to moisture / liquid. To avoid any injuries, do not use the aircraft with damaged components.
MAINTENANCE
Do not try to open or repair the units by yourself. Contact HUBSAN or HUBSAN authorized dealers for service. For more information, please visit the official website at www.hubsan.com
BATTERY
Do not disassemble, squeeze, impact, burn, drop or trample the battery. Do not short-circuit or put the battery terminal in contact with metal. Do not expose the battery to temperatures above 60 ° C. Fully Charge the aircraft battery prior to flight. Use only HUBSAN dedicated supplied charger for charging. Keep the battery out of the reach of children and away from any kind of moisture.
FLIGHT
Please be mindful of personal safety and the safety of others when operating and flying your drone.
- Do not fly in bad weather conditions.
- Do not attempt to catch the aircraft while it is in flight.
- This product is intended for experienced pilots over the age of 14.
- After every flight, completely disarm the aircraft motors and power off the drone. Then, power off the remote control.
READ THE DISCLAIMER AND SAFETY GUIDELINES FIRST BEFORE USE.
Symbol Explanation: 
HUBSAN Safety Notice for Intelligent battery
- If you do not plan to use the product for a long period of time, make sure to discharge the battery voltage to above 11.7V. If the voltage is higher than 11.7V, the battery voltage will automatically start to discharge to 11.7V after two days without pressing the battery button. Maintaining and storing the battery voltage with 11.7V can increase battery life.
- Please use only HUBSAN chargers or HUBSAN Charging Hub for battery charging.
- Discharge the battery at 5C current or below. To avoid discharge related battery damage, do not discharge for longer period of time than advised.
- Do not charge in a flammable and explosive environment to prevent fire.
- Batteries need to be recharged if unused for over 3 months.
- Do not disassemble or reassemble the battery.
- Do not short-circuit the battery.
- Do not use or charge near sources of heat.
- Do not put the battery in contact with water or any kind of liquid.
- Do not charge batteries under sunlight or near fire.
- Do not puncture or subject the battery to force of any kind.
- Do not discard unused batteries to regular trash.
- Never charge a battery that has been damaged, become deformed or swollen.
- Do not solder on or near the battery.
- Do not reverse charge or over discharge the battery.
- Do not reverse charge or reverse the battery polarities.
- Do not connect the battery to a car charger / cigarette lighter or any kind of unconventional power source.
- This battery is prohibited to use with non-designated devices.
- Do not mix other types of batteries with lithium batteries.
- Do not exceed the specified charging time.
- Do not place the battery in a microwave or in areas of high pressure.
- Do not expose the battery to the sun or excessive heat.
- Do not fly in places with strong interference( high-voltage line, power stations, base stations, high-speed rail lines, signal towers, etc.).
- Do not use or charge in temperatures below 0 ℃ and above 45 ℃.
- Warning: Prohibited charging the battery without turning off the battery on the aircraft first !
- If a newly purchased battery showing, leaks, possesses a bad smell or other abnormalities, contact and return the battery immediately to the vendor.
- Keep away from the reach of children.
- Use a dedicated battery charger only and follow all charging guidelines.
- Adults must supervise minors, if allowed to charge the batteries even when using dedicated HUBSAN chargers.
Aircraft
Aircraft Spare Part 
- Propeller A
- Propeller B
- Motor
- Tripod (With Antenna)
- Body shell
- Battery power switch
- 4K HD Camera
- 3-axis gimbal
- Gimbal Protection Guard
- Micro-USB Port
- Image indicator
- Battery level indicator
- Intelligent Battery
- Forward Vision System
- rear camera

- Bind button
- Video transmission indicator
- TF Slot
- Battery buckle

- Cooling fan
- Downward Vision System
- Infrared Assisted Altitude System
- Auxiliary Light
Note: The aircraft generates heat during operation. Please avoid direct touch the ventilated rib on the bottom of the aircraft after the flight.
Aircraft Battery
- Aircraft Battery Charging
Aircraft Lithium Battery Capacity: 3800mAh, 11.4V lithium 3S intelligent battery equipped with a standard charger, charging time is about 2.5 hours.- Connect the power adapter to AC power (100V-240V, 50-60Hz), insert the adapter’s DC head into the DC female port marked “IN” on the smart charging module.
- Connect the Intelligent Battery and the intelligent charging module with Intelligent Battery. Make sure the battery is turned off.
- Intelligent Battery Level indicator will flash and indicate the current battery level under charging.
- Intelligent Battery is fully charged when power indicator lights are all off. Please remove the Intelligent Battery and power adapter.
- Please make sure to charge the battery at an ambient temperature between 0-40°C.
Note: After using the battery, please recharge it in time (at least to 60%) to maintain a good battery life.
- Aircraft Battery Installation
- Take a fully charged battery
- Insert the battery into battery compartment, while pressing the ef t and right edges of the battery (As shown in illustration) push in, until the battery buckles are fully locked. You should hear buckle locking sound
- Battery and aircraft top should be flush that confirms battery is in place.

- Intelligent Battery Functions
- Power display: The battery has a power indicator, which can display the current battery power levels.
- Auto-Discharging Function: If the battery voltage is greater than 12.8v, It will discharge to the end of 12.8v after one day. If the battery voltage is less than 12.8v and greater than 11.7v,It takes six days to discharger the battery voltage to 11.7v, which is beneficial to store and protect.
- Balanced Charging:During charging,the voltages of the battery cells are automatically balanced.
- Overcurrent Protection:The battery stops charging if an excess current is detected.
- Overcharge Protection: The battery stops charging automatically once fully charged.
- Over-discharge Protection: Discharging stops automatically to prevent excess discharge.
- Short Circuit Protection: The power supply is automatically cut if a short circuit is detected.
- Battery Cell Damage Protection: HUBSAN App displays a warning message when a damaged battery cell is detected.
- Hibernation Mode: When the battery is in the on state, if there is no connected device, the battery will automatically shut down within 3 minutes;When the power is less than 1%, short press the battery switch at this time. If the minimum power indicator flashes and the battery cannot be turned on, the battery can wake up by charging again.
- Communication: Information about the battery’s voltage, capacity, and current is transmitted to the aircraft.
Battery switch Short press to check the battery level, it will turn off after 3 seconds Short press first and then long press to turn on / off, the indicator light turns on / off
- Precautions for Low Temperature
- If the battery is used in a low-temperature environment (-10℃ to 5℃), please fully charge the battery and keep it warm (over 10°C.)
- Using the battery in an environment below -10 ° C may have unpredictable results.
- In a low-temperature environment, the actual discharge of the battery is likely to be different than the theoretical discharge capacity. It is recommended to stop flying and land immediately when the APP prompts a “low battery alarm”.(4) In a low-temperature environment, due to the limitation of battery output power, the wind resistance of the aircraft will be reduced. Please fly with caution.
- Precautions For Battery
Be sure to fully charge each time before using the Intelligent Battery. Charge the intelligent battery only with Hubsan supplied power adapter and intelligent charging modules.- After each flight, battery temperature maybe higher. Allow Intelligent Battery to cool down to normal room temperature before charging.
- The charging temperature range of the intelligent battery is 5 ° C to 40 ° C. If the temperature of the battery cell is not in this range, the battery management system will stop charging. The optimal charging temperature range is 25 ± 3 ° C. Charging in this temperature range can extend the battery life.
- When charging or installing, please do not hot plug the battery, which may cause irreversible damage to the battery, so when pulling out or inserting the battery from the charging head, charge manager or drone, please make sure the battery is turned off properly.
Propellers
Before installing the propeller, please carefully check the letters by the aircraft motors and the letters on the propeller. You must match those letters when installing propellers; If the blade is damaged or needs to be replaced, unscrew the screw counter-clockwise to remove the propeller.
Use only HUBSAN original Propellers, because it comes with loctite applied screws to prevent accidental screw and propellers loose. (HUBSAN Standard accessories come with original screws) 

Camera
The HUBSAN ACE PRO camera uses a Type 1/1.3 CMOS Sensor, supports 2.4um fusion large pixels, and f/1.85 super larger aperture.
- When using the camera for the first time, please tear off the protective film of the camera lens before use.
- If you want to wipe the lens during use, please wipe it gently with a professional optical dust-free wipe.
- Please avoid immersing the camera in water.
- The working temperature of the camera is from 10 degrees Celsius to 50 degrees Celsius, below 10 degrees Celsius or above 50 degrees Celsius, the camera may be blurred or unable to produce pictures normally.
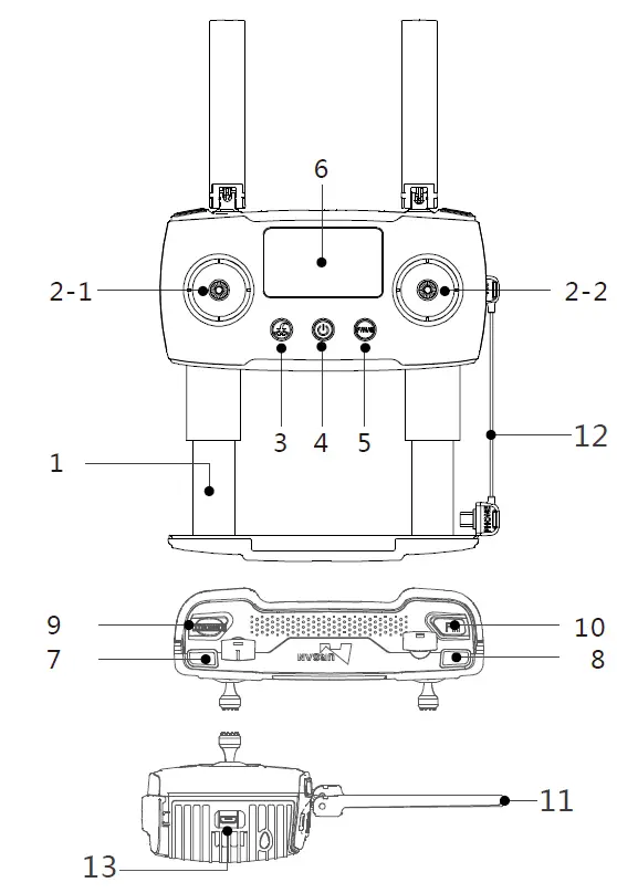
Remote Controller(America Mode 2)
Names Of Remote Controller Components 
- Smartphone / Device holder
- 2-1) Throttle / Rudder Stick
2-2) Forward / backward / left / right flight control levers - Return to Home
- Power
- F / N / S mode:
Movie mode / normal mode /sport mode - Display
- Photo
- Video
- Gimbal Pitch Control dial
- Custom button
- Antenna
- Remote control extension cable
- Charging / Adapter Port

- Lanyard hole of transmitter
- Rocker storage slot
- Cable storage slot
Remote Controller Features
| S/N | Key / Switch | Function |
| (1) | Throttle / Rudder Stick | Move the stick forward or backward to ascend or descend the drone. Move the stick left or right to rotate the drone Clockwise or counter clockwise. |
| (2) | Elevator / Aileron Stick | Move the stick forward or backward to fly the drone forward or backward. Move the stick left or right to fly the drone left and right. |
| 1 | Throttle / Aileron Stick | Move the stick forward or backward to ascend or descend the drone. Move the stick left or right to fly the Drone left and right. |
| 2 | Elevator / Rudder Stick | Move the stick forward or backward to fly the drone forward or backward. Move the stick left or right to rotate the drone clockwise or counter clockwise. |
| 3 | Return to Home | Long press the button to activate Return to home mode. Remote control will beep every 3 seconds during return to home flight. Short press to cancel return to home. |
| 4 | Power Switch | Short Press, then press hold to power on or off |
| 5 | F / N / S mode (Movie / Normal / Sport mode) | Movie mode: Flying speed of the drone is limit- ed to 3m/s Normal mode: Drone flies at the maximum speed set by the APP, Normally 8m/s Sport mode: the maximum flying speed of the drone is 16m/s |
| 6 | Display | Displays the flight parameters |
| 7 | Photo | Short press to take photos. |
| 8 | Video | Long press to start recording video, Short press to stop recording video |
| 9 | Gimbal Pitch control dial | Controls the pitch angle of the gimbal. |
| S/N | Key / Switch | Function |
|
10 |
Custom keys | Long press the Fn+ wheel to adjust the zoom function. Press and hold the Photo+ wheel to adjust the bright- ness of the remote control screen. When the drone is not taking off, press the Fn button and the Video button for more than 3 seconds to activate the remote control code pairing operation. The remote control buzzer beeps when a low battery is triggered or Return to home is activated. Press the F n bu tton for 1 .5 se c on ds, to stop be e pi n g prompts. Long press the Fn button again 1.5 seconds to restart the beeping prompts. Custom keys, set the function on the APP and save it when the APP is not connected, [short press] Fn won’t work. Function one: Exit the current flight mode. In this mode, short press Fn to exit the current flight mode and the aircraft will hover. Function two: short press Fn to execute gimbal return to normal state. Function three: no function (factory default function) |
| 11 | Charging / Adapter Port | Charge the remote control or connect with a mobile device |
| 12 | Low Battery Warning | Low battery warning for remote control: Remote control“Beeps” <25%, di~di~, interval 10s <15%, di~di~, interval 2s <10%, didi~didi~, interval 1s |
| 13 | Standby Protection | If Remote controller is left on and unused, it will start beeping once every 3 seconds and switch to stand by mode. After 3 minutes of beeping, remote control will automatically shut down |
|
14 | Low power mode | When the battery power is lower than 10%, the remote control will enter low power mode, at this time the remote control will cut off the power of the USB Host, the communication between the phone and the remote control will be disconnected, but the communication between the remote control and the drone will not be affected. |
Charging The Transmitter Battery
The remote is charged using the Micro USB cable as shown: 
The remote control charging time is about 2.5 hours.The remote control battery indicator light flashes during charging. When charging is complete,the LEDs will stay on solid.
Remote Control Diagram 
- Aircraft Battery level
- RC Battery level
- Propellers Status
- Aircraft Mode
- Aircraft GPS Satellite
- Aircraft Signals
- Heading Angle
- Character Area
- Flight Height
- Flight Distance
- Compass Calibration
- Aircraft speed
- Photo / Video
Remote Control Antenna Angle
- Adjust the angle of the remote control antenna and try to face the flight direction of the aircraft as much as possible.
- Long-distance state, the distance between the two antennas is properly tightened to maintain the antenna directivity.
- Closer Sate, the two antennas are properly separated to maintain a wide receiving range.
- Do Not Form an occlusion or cross bettern the antennas.

Transmitter Calibration
Start Calibration: Push and hold both sticks to the upper left corner as shown in picture below, and power on the transmitter, the transmitter will enter calibration state and start Beeping; release the power button and sticks. Calibrate Sticks: Rotate both sticks in circles to their maximum travel for at least three times, and release the sticks
Exit and save calibration: long-press any button except the power button until the remote controller stops beeping and the screen lights on 
Flight
Download The X-HUBSAN 2.0 App
Before flying, download and install the X-HUBSAN 2.0 APP. Download the APP for free by scanning the code at right or search in APP Store (IOS) Or Goggle Play.
Main Interface Guide 
Note: This is the interface in Map mode
Pairing The Aircraft
To use the aircraft for the first time, you need to activate the aircraft first :
- Press battery switch to power on the aircraft.
- Press the remote control switch to connect to the mobile phone, and wait for the remote control to connect the aircraft in success.
- Open the mobile phone X-HUBSAN 2.0 APP, it will automatically jump out of the activation interface.
- The new user can register an account as the activation account, and the old user who has logged in to the APP before can directly enter the password to activate it.
- Run X-HUBSAN 2.0 APP, and select the aircraft model.
- Short press, the aircraft power button, then press and hold for a few seconds to turn it on.
- Short press the transmitter power button, then press and hold for a few seconds to turn it on, connect the transmitter to your mobile device with the RC cable.

- Start binding (This step is only required when first binding or replacing the transmitter, you need to do it manually.)
- Long press the aircraft bind button to enter the binding mode.
- Press and hold the FN+ Video button combination to enter the binding mode, put the aircraft close to the remote control to complete the bind.
Tips:
- The binding process has been completed in the factory. The aircraft can take off directly.
- After entering binding mode, the image transmission indicator (green) flash rapidly and become solid(green) after binding is successful.
- Please keep the remote controller at least 1 meter away from drone during binding process.
- The aircraft is unable to activate the binding during flight.
Compass Calibration
When using the drone for the very first time, the compass calibration message will pop up before takeoff. Follow the instructions on your screen, rotate the drone horizontally, then point the drone nose to ground and rotate it clockwise. The compass calibration message will disappear once it is completed. You must complete the compass calibration before flying the aircraft for the first time.
The compass is susceptible to interference from other electronic devices, resulting in abnormal flight data. Regular calibration helps to keep the compass and its readings accurate. select “Compass Calibration” under APP setting interface. 
Starting/Stopping the Motors
Motor starting condition
- The aircraft, remote control, and mobile phone have been connected successfully ;
- The aircraft compass has been calibrated (APP doesn’t prompt to calibrate the compass) ;
- The aircraft must be placed on a horizontally leveled ground ;
- Aircraft has not locked sufficient GPS satellites for positioning. please don’t force take-off ;
- The power of the drone should be ≥15% ;

Starting the Motors
When the motors are running, Push both stick down and outwards again to stop the motors. Release both sticks once motors stop.
Forced Motor Stop
When flying in the air, the motors can be forced to stop in 2 seconds with outer eight bar. Use this function with caution, as it can cause the aircraft to fall and may endanger personal safety.
Aircraft Functions
Flight Control Mode
| Flight Control Mode (The flight controller monitors the GPS signals and switches to the corresponding flight modes) | |
| GPS Mode | Use GPS and downward vision positioning system to achieve precise hovering, stable flight, intelligent flight mode, etc. The vision system works in a well-lit environment . |
| Optical flow mode | this mode works indoors only if the altitude is less than 4 meters. more than 4 meters altitude requires the GPS mode and Attitude mode. In optical flow mode, the maximum flying speed of the aircraft is 2m/s. |
|
Attitude mode | The aircraft automatically changes to Attitude(ATTI) mode when the Vision System are unavailable or disabled and when the GPS signal is weak or the compass experiences interference. It only supports manual flight, and prohibits smart flight modes. In Attitude mode ,the aircraft won’t hold position itself, Fly with caution (this mode is only for experienced Drone pilots) |
| Flight Speed | |
| Movie Mode | Maximum speed 3m/s |
| Normal Mode | Maximum speed is 8 m/s, adjustable in APP settings from 10% -100% |
| Sport Mode | The maximum speed is 16m/s, the sport mode is only available in the GPS mode. |
Aircraft Indicator
| Video Indicator (red) | |
| Camera Error | Red LED flashes slowly (1 time/second) |
| FPV Board Error | Red LED off |
| Working | Red LED solid |
| Upgrading | Red LED flashes quickly (5 times/2 seconds) |
| Image Indicator (green) | |
| Working ( Date link normal ) | Green LED solid |
| Booting | Green LED off |
| Boot and complete | Green LED flash quick and slow |
| Error (System is backing up) | Green LED flashes slowly |
| Binding mode | Green LED flashes quickly |
| Disconnected | Green LED flashes quick and slow |
| Upgrading | The green light flashes quickly and then flashes slowly (when transmitting files)Flash (slow flash when writing flash) |
Return-to-home(Rth)
There are three types of RTH: One-key RTH, Low Battery RTH, and Failsafe RTH. When taking off, and GPS has locked more than 6 satellites, the aircraft will mark take off point as home point. If there is no GPS signal and drone is forced to take-off, Whenever GPS locks more than 6 satellites, it will record that point as home position.
| RTH-Process |
| 1. Record “Home Point” 2. Trigger return to home conditions 3. Adjust the direction of the head 4. Climb to the return altitude set in APP (1) Regardless of the current height of the aircraft, if the aircraft is within 5 meters of the horizontal distance from home point, it will land; (2) When the horizontal distance is greater than 5 meters, the aircraft will rise to the set altitude and then return. 5. Search for the drone apron during the landing process (This feature must be turned on in app before taking off and or landing) |
| One-key RTH |
| APP one-Key RTH / remote control one-Key RTH |
| Low Battery RTH |
| 1. The aircraft will automatically Return to home according to its own power calculations and the distance from the Home Point. 2. Aircraft will land automatically at the same point upon low battery RTH activation, If there is no GPS signal or weak GPS signals 3.When taking off, if it is forced take off with weak GPS signals or GPS signals are not good, the aircraft will automatically return to the place where it achieved, good GPS signal for the first time. 4. When the aircraft battery power percentage is lower than 10%, the aircraft will start landing automatically if there is no joysticks operation. We can cancel it by using the operate the transmitter joystick, and let the aircraft land slowly or climb again. 5. If the battery level is lower than 1%, the aircraft will forced to landing, which cannot be manually canceled or forced to climb again. |
| Failsafe RTH |
| When the aircraft loses connection with the remote control for more ® than 5 seconds, the aircraft automatically returns or land directly. Performance requirements: (1) After the aircraft loses control for 5 seconds, it triggers automatic return; (2) If the drone reconnects, it will continue to perform the returning procedure when Failsafe RTH mode is activated; (3) Landing directly when there is no GPS signal or the signal is not strong. |
Landing Apron Search
When the aircraft is landing or returned to a height of about 10 meters from the ground, it will automatically enter the search for the drone apron function. 
- The gimbal camera points downward to optically search for the drone apron [H], Apron requirements: 1 Sharp contrast, 2 white “H” lettering, 3 Apron without obstruction.
- Once drone locks the apron visually it will descend smoothly on apron. When landing to a height of less than 3 meters, the aircraft camera will switch to forward view and no longer adjust the position of the aircraft. From this altitude aircraft will land quick. If an error is identified or other unexpected circumstances occur, press the stop button to exit the function.
- If aircraft can’t find the apron or battery is critically low, the aircraft will land directly.
- The search for the drone apron function cannot be performed if video is being recorded.
- If you do not need to use this feature, please turn it off in app.
Vision Systems and Infrared Sensing Systems.
HUBSAN ACE PRO is equipped with Forward, Backward, and Downward Infrared Sensing Systems, providing omnidirectional obstacle sensing.The main components of the Forward, Backward,and Downward Vision Systems are two cameras located on the nose, rear side, and the underside of the aircraft. Lateral Vision Systems are two cameras located on either side of the aircraft.
The main components of the Upward and Downward Infrared Sensing Systems are two infrared modules located on the upper and underside of the aircraft, The Downward Vision System and Infrared Sensing System helps the aircraft maintain its current position and hover in place more precisely.
The Auxiliary Bottom Light located on the underside of the HUBSAN ACE PRO aircraft improves visibility for the Downward Vision System in weak light conditions. 
Detection Range
Forward
- Accurate ranging range: 0.5m – 12m; horizontal 62°, vertical 48 °Backward
- Accurate ranging range: 0.5m – 9m; horizontal 62 °, vertical 48 °Downward
- Accurate Hover Range: 0.5m – 5m, Vision Hover Range: 0.5m – 5m
Calibrating Vision System Cameras
The Vision System cameras installed on the aircraft are factory calibrated. When the X-Hubsan 2 prompts Vision Calibration, the aircraft should be connected to the Hubsan Calibration Assistant For Zino Vision Calibration software and refer to the vision calibration tutorial to complete the calibration.
Using the Vision Systems
The Downward Vision System is typically used in indoor environments where GNSS is weak or unavailable. The Downward Vision System works best when the aircraft is at altitudes of 0.5-5m, which is automatically switched on in normal or film mode. 
Forward and Backward Vision Systems manually switched on in normal or film mode (Choose to avoid obstacles or actively brake on X-Hubsan 2). Using the Forward and Backward Vision Systems,the aircraft can actively brake when detecting obstacles in front.The Forward and Backward Vision Systems work best with adequate lighting and clearly marked or textured obstacles.
NOTE:
Vision Systems and Infrared Sensing System have limited ability to sense and avoid obstacles, and the performance may be affected by the surrounding environment. Be sure to maintain line of sight with the aircraft and pay attention to prompts in HUBSAN ACE PRO APP takes no responsibility for any aircraft that is damaged or lost while using Vision Systems.
Without GNSS, the maximum hovering height of the aircraft is 5m when using the vision system in an open and flat field.The Vision System is only effective when the aircraft is at an altitude of 0.5 to 50meters. Please note that the Vision Positioning function may be affected if the aircraft’s altitude is above the limit.
In X-Hubsan 2 you can set the Auxiliary Light (on, off or automatic). If Auto is selected, the Auxiliary Light is automatically enabled when the environment light is too weak. Please note that the Vision System cameras performance may be affected when the auxiliary bottom light is enabled. Fly with caution if the CNSS signal is weak.
The Vision System may not function properly when the aircraft is flying over water or snow-covered areas. Therefore, when the landing function is triggered, the aircraft may not be able to actively avoid the water below. It is recommended that the user maintains full control of the flight and makes reasonable judgements based on the surroundings, without over-reliance on the visual system.
The Vision System cannot work properly over surfaces that DO NOT have clear pattern variations, environments with insufficient or excessive light intensity. Operate the aircraft cautiousl y when in any of the following situations:
- Flying over monochrome surfaces (e.g., pure black, pure white, pure blue, pure red)
- Flying over highly reflective surfaces. (e.g., water surfaces, ice surfaces, glass curtain walls, smooth surfaces, etc.);
- Flying over transparent surfaces. (e.g., transparent glass etc.);
- Flying in an area where the lighting changes frequently or drastically. (e.g., backlighting, etc.);
- Flying over extremely dark or bright surfaces;
- Flying over surfaces that strongly reflect or absorb infrared waves (e.g., mirrors);
- Flying over moving surfaces or objects. (e.g., above the flow of people, above the grass blown by the wind, etc.);
- Flying over surfaces without clear patterns or texture;
- Flying over surfaces with repeating identical patterns or textures(e.g., tiles with the same design);
- Flying over obstacles with small surface areas;
- The safe working temperature of the visual system is 0-50 degrees, or it will influence the stability of Vision System, Please use the Vision Assistance System within the safe temperature. Keep the sensors clean at all times. Do not obstruct the Infrared Sensing System.
If the aircraft experiences a collision, camera calibration is required.
Do not fly on days that are rainy, smoggy, or if there is no clear sight. (less than 100 lux). Check the following every time before takeoff:- Ensure there are no stickers or any other obstructions over the glass of the Infrared Sen sing and Vision System.
- If there is any dirt, dust, or water on the glass of the Infrared Sensing and Vision System, clean
it with a soft cloth. Do not use any cleaner that contains alcohol. - Contact HUBSAN Support if there is any damage to the glass of the Infrared Sensing and Vision System.
Do not obstruct the Infrared Sensing System.
Flight Mode
Creative Video 360° Shooting :
- Select the direction of rotation (clockwise / counterclockwise);
- Set the rotation angle, the range of rotation angle (90 ° -360 ° ,accuracy 1°);
- Set the rotation speed (1-30 ° / sec, accuracy 1);
- Click GO, the aircraft rotates in place hovering at its position, shooting a video during the rotation;
- you can click the exit button any time to exit the mode and save the video.

Comet Mode:
After selecting the center point on the APP, the aircraft will automatically fly along the eclipse track and record video. Please only use it in an open area. APP operation:
- Select the target, the aircraft camera is always aimed at the selected target when shooting
- Select the flying direction (clockwise/counterclockwise)
- Click GO, the aircraft starts recording the video and performs eclipse flight move.

Orbiting
Tap on “Mode Selection” then “Orbit Mode” to set the current location or the position of the mobile device as the center. During Orbit mode, you can adjust the speed and direction by moving the control stick left and right and adjust the orbit radius by moving the control stick forward and backward. 
Waypoint
The aircraft will fly along the set flight path drawn on-screen or saved ,you can adjust the speed of the aircraft during flight .
Waypoint Planning: You can preset the waypoint parameters such as the number of waypoints, the altitude of each waypoints and other parameters. The aircraft will follow the preset parameters after you activate waypoint mode. You can control the flying speed during flight or you can pause or resume the Waypoint mode.
Waypoint Memory: After entering the mode, fly the aircraft and tap on “Memorize Waypoints” on the APP and the aircraft will mark the location. After memorizing all the waypoints, upload and execute, aircraft will fly according to recorded waypoints.
If the aircraft is not in the starting position, the aircraft will fly to the starting waypoint position before starting this function. 
Line Fly Mode
Tap on “Mode Selection” then “Line Fly Mode”.Set the angle,distance and speed of the aircraft.
Performance requirements:
- Set the angle (0 ~ 360 °, accuracy 1 °);
Set the distance (10-6000 meters, accuracy 1 meter);
Set the speed (1-8 m / s, accuracy 0.1); - Once setup is complete, the aircraft will execute Line Fly mode.
During the flight, pilots can take photos or videos manually , or pause /resume / stop the flight at any time.
During the flight, you can control the altitude only. - You can pause/resume/stop the flight at any time.
- When the aircraft is low on battery or lost connection from radio, aircraft will always return to home.

Follow Mode 
Active Tracking 3.0
HUBSAN ACE PRO Active Tracking 3.0 includes Spotlight, Active Tracking, Circle Tracking.
Spotlight: The aircraft remains in the current position, and only adjusts the heading and gimbal camera to lock the target in the middle of the screen. Use the stick to control the movement of the aircraft: the roll stick controls the aircraft to rotate around the target, the pitch stick controls the aircraft to approach or move away from the target, the throttle stick controls the aircraft height, and the yaw stick controls the composition.
Active Tracking 3.0 includes the following modes: Trace and Parallel.
- The aircraft tracks the subject at a constant distance and follows the target as it moves. The maximum flight speed is 8m/s.
- The aircraft tracks the subject at a constant angle and distance from the front and side. The maximum flight speed is 8m/s.The parallel modehas no available obstacle avoidance.
Circle Tracking: The aircraft flies around the target with a set radius and speed and supports static and dynamic targets (dynamic targets refer to people, vehicles, and ships, and the speed should not be too large, and the following height will not change with the dynamic target). The maximum circle speed is 5m/s, and there is no obstacle avoidance function.
Hyperlapse
When you choose Hyperlapse mode,you can choose free and Circle 
Free
The aircraft will take a certain number of photos and compose time-lapse videos automatically according to the parameters set. During the process of shooting, the user can control the flight of the aircraft freely.
- choose free;
- set the shutter interval, the video length, and the maximum flight speed;
- after done, please click‘ GO’ and start shooting.

Circle
The aircraft will take a certain number of photos and compose time-lapse video automatically according to the circle point of interest and the parameters set. During shooting, moving any sticks on controller will automatically quit the task.
- select circle.
- set the shutter interval, video length and maximum flight speed.
- set the circle direction, and position the circle center by adjusting the circle radius and the direction of the aircraft nose.
- click‘ GO’ and start shooting.

Panorama mode
In the panoramic mode, you can choose spherical, 180 ° , vertical shooting and wide angle shooting. In this mode, the aircraft will perform the shoot-ing task automatically. After the shooting done, you can view photos and videos from the TF card, also export photos and videos and compose them. You can quit this mode any time during shooting.
Note: Aircraft will not stitch and compose the final panoramas or spheres, you will need to use after market software to perform the stitching. 
Gimbal Pitch Adjustment
- Please make sure there are no stickers or impurities on the gimbal before take off, and place the aircraft on flat and open ground. Please do not bump the gimbal after the power is turned on.
- The gimbal contains precision parts. If it is hit or damaged, the precision parts will be damaged, which may cause the performance of the gimbal to decrease. Please take good care of the gimbal and camera from physical damage.
- Please keep the gimbal clean and avoid the gimbal from contacting foreign objects such as sand or stone, otherwise it may block the movement of the gimbal and affect its performance.
- If the aircraft is placed on uneven ground or grass, the ground object touches the gimbal, or the gimbal is subjected to excessive external force (such as being bumped or broken) may cause the gimbal motor to be abnormal.
- Do not add any objects to the camera head, otherwise it will affect the performance of the head and even burn the motor.
- Remove the gimbal protection latch before use and then turn it on. Reinstall the gimbal latch to protect the gimbal during storage or transportation.
- Flying in heavy fog or clouds can cause the gimbal to condense, resulting in temporary failure. If this happens, the gimbal can return to normal after drying.
APP Adjustment
Method 1: long press the blank of the video preview interface and the mobile device will vibrate once. When appears (1) at the position which you press, you can adjust gimbal pitch by sweeping your finger up and down the screen. Method 2: you can fine tune the angle of gimbal pitch by clicking up-down button(2) on the gimbal pitch axis slider in app. 
Transmitter Adjustment
You can adjust the angle of gimbal pitch by fiddling with the control thumb-wheel of gimbal pitch.
Tf Card
- support TF card, U3 above 16G/32G/64G/128G;
- hot plug is supported. You can insert the TF card even if drone is powered on. But it is recommended to plug in the TF card when drone is powered off.
FAQ
- The mobile device and remote control cannot be connected
- Check whether the status of the APP control signal icon has changed
- For USB Settings on android phones, check out “Android phone connection tutorial”
- Aircraft ID not available.
- Restart the drone, remote control and X-HUBSAN 2.0 APP
- Update the aircraft firmware
- Check whether the LED next to TF card slot of the drone is on in red, if it flashing, means the aircraft function is abnormal
- FPV transmission freezing, gets stuck or easy to disconnect
- Adjust the antenna Angle and point vertical side of the antennas to the aircraft, without anything blocking between antennas
- Change the flight site, please do not fly near tall buildings, or near signal tower
- Update the latest firmware
- Abnormal aircraft hovering
- Change the flight site, please do not fly near tall buildings and signal towers
- Do the compass calibration and horizontal calibration
- Wind is too strong to affect the flight
- Aircraft GPS accuracy is not precise or cannot pass the GPS accuracy test
- in the open area of the outdoor with GPS over 6 satellite
- Walk around near the aircraft
- Replace the mobile device
- The battery cannot charge Re-plug the charger and battery
- short flight times
Battery overcharge or high temperature environment can easily lead to reduction of battery life, it is recommended to keep the remaining 60% or so, full charge again before use - The tilt Angle of the gimbal is too large or the gimbal show abnormal behavior
- Restart the aircraft and re-calibrate the gimbal
- Check on the APP to see whether the gimbal status is normal
- Gimbal initialization fails
Before starting the aircraft, take off the protective cover of the gimbal and make sure nothing blocks gimbal movement. - The picture is not clear
- Check whether the lens protective film is peeled off
- Fly in a well-lit environment
- Shooting parameters setting in camera Settings of APP
- Video source files are saved in TF card files with suffix AA.
- Lens fogging
- humid climate causes lens fogginess, change aircraft storage location
- Place some desiccant in the protective cover of the gimbal when storing
- Picture or video is lost
- Perform completing recording operation after recording video, otherwise it may lead to video damage or loss
- Check whether the TF card is broken
Limitation of Liability
HUBSAN accepts no liability for damages, injuries or any legal responsibili-ties directly or indirectly from the use of HUBSAN products under the following conditions:
- Damages, injuries or any legal responsibilities when users are drunk, under the influence of drugs or anesthesia, dizzy, fatigued, nauseous and / or affected by other conditions both physical and mental that could impair sound judgment and / or personal ability.
- Subjective misjudgment and / or intentional misoperation of products.
- Any and all mental damage, trauma, impairment, illness, compensation caused / solicited by accidents involving HUBSAN products.
- Product operation in no-fly zones (i.e. natural reserves).
- Malfunctions or problems caused by modification, refit, replacement or use with non-HUBSAN accessories / parts, failure to follow the guidance of the manual in assembly or operation.
- Damages, injuries or any legal responsibilities caused by mechanical failures due to natural wear and tear (aircraft flight time clocking in 100 hours or above), corrosion, aging hardware, etc.
- Continued flight after low voltage protection alarms are triggered.
- Deliberately flying aircraft under abnormal conditions (such as when water, oil, soil, sand or other unknown material are inside the aircraft and / or transmitter are incompletely assembled, the main components have obvious faults, obvious defect or missing accessories, etc).
- Flying in the following situations and / or environments: areas with mag-netic interference (such as high voltage lines, power stations, broadcasting towers and mobile base stations), radio interference, government regulated no-fly zones, if the pilot loses sight of the drone and suffers from poor eyesight or is otherwise unsuited for operating HUBSAN products.
- Aircraft use in or exposure to bad weather, such as a rain, wind, snow, hail, lighting, tornadoes and hurricanes.
- Products are involved in / exposed to collisions, fire, explosions, floods, tsunamis, man made and / or natural structure collapses, ice, avalanches, debris, landslides, earthquakes, etc.
- The acquisition, through use of HUBSAN products (specifically but not limited to aircraft), of any data, audio, video that results in infringement of law and / or rights.
- Misuse and / or alteration of batteries, product / aircraft circuits, hardware protections (including protection circuits), RC model and battery chargers.
- Any malfunction of equipment or accessory, including memory cards, that results in the failure of an image or video to be recorded or to be recorded in a way that is machine readable.
- Users who engage in reckless, unsafe flying (with or without sufficient training).
- Non compliance with precautions, instructions, information and operation guidelines / methods given through official Hubsan website announcements, product quick start guides, user manuals, etc.
- Other losses, damages, or injuries that are not within the boundaries of Hubsan responsibility.
RISK OF EXPLOSION IF BATTERY IS REPLACED BY AN INCORRECT TYPE. DISPOSE OF USED BATTERIES ACCORDING TO THE LOCAL REGULATIONS. HAZARDOUS MOVING PARTS KEEP FINGERS AND OTHER BODY PARTS AWAY. Declaration of Conformity
Hereby, SHENZHEN HUBSAN TECHNOLOGY CO., LTD.,declares this product is in compliance with the essential requirements and other relevant provisions of Directive 2014 / 53 / EU. A copy of the original Declaration of Conformity can be obtained at the following address: Unit 2801, Building F, Xinghe WORLD , Yabao Road, Bantian Street, Longgang District, Shenzhen , China
This product bears the selective sorting symbol for waste electrical and electronic equipment (WEEE). This means that this product must be handled pursuant to European Directive 2012 / 19 / EU in order to be recycled or dismantled to minimize its impact on the environment.
For further information, please contact your local or regional authorities. Electronic products not included in the selective sorting process are potentially dangerous for the environment and human health due to the presence of hazardous substances.
FCC INFORMATION
This equipment has been tested and found to comply with the limits for a Class B digital device, pursuant to Part 15 of the FCC Rules. These limits are designed to provide reasonable protection against harmful interference in a residential installation. This equipment generates, uses, and can radiate radio frequency energy and, if not installed and used in accordance with the instructions, may cause harmful interference to radio communications. However, there is no guarantee that interference will not occur in a particular installation. If this equipment does cause harmful interference to radio or television reception, which can be determined by turning the equipment off and on, the user is encouraged to try to correct the interference by one or more of the following measures:
- Reorient or relocate the receiving antenna.
- Increase the separation between the equipment and receiver.
- Connect the equipment into an outlet on a circuit different from that to which the receiver is connected.
- Consult the local dealer or an experienced radio / TV technician for help.Changes or modifications not expressly approved by the party responsible for compliance could void the user’s authority to operate the equipment. This device complies with Part 15 of the FCC Rules. Operation is subject to the following two conditions: (1) this device may not cause harmful interference, and (2) this device must accept any interference received, including interference that may cause undesired operation.
This equipment complies with FCC radiation exposure limits set forth for an uncontrolled environment. This equipment should be installed and operated with a minimum distance of 20cm between the radiator & your body. This transmitter must not be co-located or operating in conjunction with any other antenna or transmitter.
Electrical and electronic equipment that are supplied with batteries (including internal batteries)
WEEE Directive & Product Disposal
At the end of its serviceable life, this product should not be treated as household or general waste. It should handed over to the applicable collection point for the recycling of electrical and electronic equip-ment, or returned to the supplier for disposal. Internal / Supplied Batteries.
This symbol on the battery indicates that the battery is to be collect-ed separately.This battery is designed for separate collection at an appropriate collection point.
Please read the operating instructions carefully before use!
- Never leave units unattended when charging
- Unplug the charging cable immediately after charging
- Propellers may cause injury
- This product is not a toy
- Not suitable for children under 14 years of age

Product name: HUBSAN ACE PRO
Product Standard Number:Q / HBS 001-2017
Vendor: Shenzhen Hubsan Technology Co., Ltd
Address: Unit 2801, Building F, Xinghe WORLD , Yabao Road, Bantian Street, Longgang District, Shenzhen
Email: [email protected]
WWW.HUBSAN.COM

































