nexvoo N110 NexBar Video Conference System
Package Includes
- NexBar camera and speakerphone unit
- Power adapter
- Wall mounting bracket
- 5m USB-C cable
- Wall mounting hardware
- Remote control
- Documentation
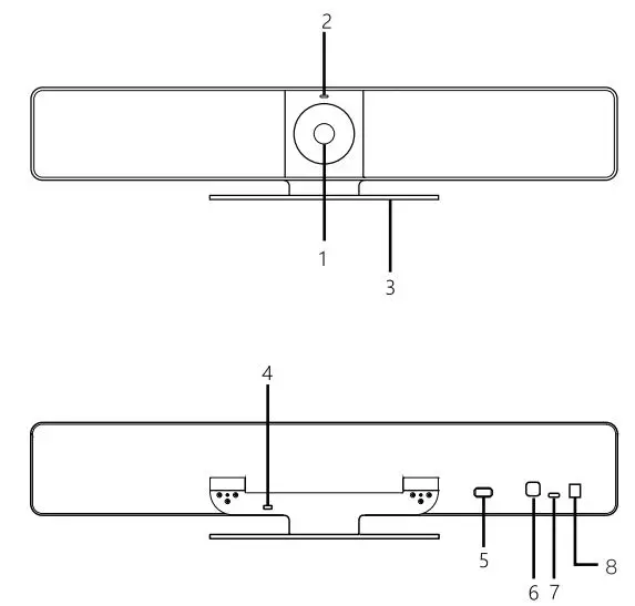
NexBar N110 Introduction 
- Camera
- LED light indicators
- Base bracket
- Security slot
- USB-A, for connecting external extension devices
- Bluetooth key
- USB-C, for connecting PC computers
- Power
LED indicator status
- When the green light is on the camera is working, and when the red light is on the camera is off.
- The device is in mute state When the red light flashes slowly the N110 is in mute state.
- When the green light flashes slowly, the N110 is in the Bluetooth searching state
- When the green light flashes fast
- The device is paired successfully
- Turn off or turn on the AI function
Connection with Bluetooth remote control
- N110 will automatically perform Bluetooth search after power-on. If the remote control is found, the pairing connection will be automatically performed. If the remote control is not found within 3 minutes, the search will be stopped. Please short press the
- Bluetooth button of the device to restart the search.
- If N110 has been paired with the remote control, you can press the Bluetooth button for 3 seconds to delete the pairing information.After deleting the pairing information, you can pair and connect with the new remote control.
- If N110 has been paired but failed to connect with the remote control successfully, short press the Bluetooth button to make the device search for the remote control again.
Remote Control Feature
The following figure and table identify the functions of the keys on the remote control. 
- Microphone mute
- Preset 1
- Preset 2
- Adjust Camera view
- Volume up/down
- Zoom in/out
- Speaker tracking on/off
Note: Only after turning off the AI function, you can use the remote control to adjust camera view and zoom in or out the focal length - BLE auto-connect
LED indicator status
When the red light is on for 3 seconds
- Power on the remote control
- Press and hold the Bluetooth button for 3 seconds to clear the pairing information
- The remote control is paired and connected
Connection with N110
- The powered on remote control will be automatically paired with the NexBar N110.If it is not paired successfully, please short press the Bluetooth button of NexBar N110 and remote control to pair and connect again.
- If the remote control is paired, you can press the Bluetooth button for 3 seconds to delete the pairing information. After deleting the pairing information,the remote can be paired with the new N110 again.
- The remote control is paired but not connected to the N110. After 5 seconds, it enters the sleep state. Please press any key to wake up the remote control and reconnect it.
- The remote control can only be paired and connected by one N110
Placemen
We recommend placing the camera as close to eye level as possible. You can get the best performance.
- Placement on table:
Place on a table or shelf near the monitor. - Mount on the wall:
- Attach bracket to the wall.

Please use the screws which are in the box or appropriate type of screws for your wall type. - Attach the camera to the bracket.

- Place on or under-display:
Adjust the equipment angle to make all participants in the picture
Please contact us to choose Nexvoo optional accessory
- Attach bracket to the wall.
Connection
Connecting NexBar N110 is the same whether you plan on using a dedicated PC or Mac in the room, or your team members bring a laptop to the room to run the meeting. This is normal setup step as below, may have a little different depends on your device.
- Plug N110 into power.

- Connect the USB-C cable from N110 to your PC or Mac.

- If you need to cast a screen, please connect your PC computer or Mac to the display via HDMI or RGB cable

- Diagram of all connections.

- Enter your software settings, then find audio and video equipment. Select Nexvoo N110 as the default device and click “Save”.
Starting A Video Call
After installing NexBar N110 and ensuring it is the default device in your video conferencing application, simply start the application in the normal manner and enjoy the benefits of improved audio and video. Please go to www.nexvoo.com if you want to learn more.
Operating Ambient Temperatures
- Operating temperature: +32 to 104°F (0 to 40°C)
- Storage temperature: -13 to +160°F (-25 to +70°C)
Warrant
Our product warranty is limited only to the unit itself, when used normally in accordance with the operating instructions and the system environment. We are not liable for damage or loss resulting from the use of this product, or for any claim from a third party. We are not liable for problems with Nexvoo device arising from the use of this product; we are not liable for financial damages, lost profits, claims from third parties, etc., arising from the use of this product.
Restriction Of Hazardous Substances Directive (ROHS)
This device complies with the requirements of the EU ROHS Directive. Statements of compliance can be obtained by contacting [email protected].
Safety Instructions
Save these instructions. Read these safety instructions before use!
General Requirements
- Before you install and use the device, read the safety instructions carefully and observe the situation during operation.
- During the process of storage, transportation, and operation, please always keep the device dry and clean, avoid collision and crash.
- Please attempt not to dismantle the device by yourself. In case of any discrepancy, please contact the appointed maintenance center to repair.
- Please refer to the relevant laws and statutes while using the device. Legal rights of others should be respected as well.
Environmental Requirements
- Place the device at a well-ventilated place. Do not expose the device under direct sunlight.
- Keep the device dry and free of dusts.
- Do not place the device on or near any inflammable or fire-vulnerable object, such as rubber-made materials.
- Keep the device away from any heat source or bare fire, such as a candle or an electric heater.
Operating Requirements
- Do not let a child operate the device without guidance.
- Do not let a child play with the device or any accessory in case of accidental swallowing.
- Please use the accessories provided or authorized by the manufacturer only.
- Please use the provided surge protection power socket only.
- Before plugging or unplugging any cable, make sure that your hands are completely dry.
- Do not spill liquid of any kind on the product or use the equipment near water, for example, near a bathtub, washbowl, kitchen sink, wet, and basement or near a swimming pool.
- During a thunderstorm, stop using the device and disconnect it power supply and USB connection line to avoid lighting strike.
- If the device is left unused for a rather long time, disconnect it from the power supply and unplug the power plug.
- When there is smoke emitted from the device, or some abnormal noise or smell, disconnect the device from the power supply, and unplug the power plug immediately.
- Contact the specified maintenance center for repair.
- Do not insert any object into equipment slots that is not part of the product or auxiliary product. Before connecting a cable, connect the grounding cable of the device first.
- Do not disconnect the grounding cable until you disconnect all other cables.
Cleaning Requirements
- Before cleaning the device, disconnect it from the power supply.
- Use a piece of soft, dry and anti-static cloth to clean the device.
- Keep the power plug clean and dry.
Troubleshooting
Q: The unit cannot supply power to Nexvoo device.
A1: There is a bad connection with the plug.
- Clean the plug with a dry cloth.
- Connect it to another wall outlet.
A2: The usage environment is out of operating temperature range.
Use in the operating temperature range.
A3: The cable between the unit and the Nexvoo device is connected incorrectly
Connect the cable correctly.
A4: You cannot connect the cable properly.
- You may have connected a wrong Nexvoo device.
- Use the correct power supply.
A5: Some dust, etc., may be in the port
Clean the port
Contact your dealer or authorized service facility for any further questions.
FCC Caution
This device complies with part 15 of the FCC Rules. Operation is subject to the following two conditions:
- This device may not cause harmful interference, and
- this device must accept any interference received, including interference that may cause undesired operation.
Any Changes or modifications not expressly approved by the party responsible for compliance could void the user’s authority to operate the equipment.
Note:
This equipment has been tested and found to comply with the limits for a Class B digital device, pursuant to part 15 of the FCC Rules. These limits are designed to provide reasonable protection against harmful interference in a residential installation. This equipment generates uses and can radiate radio frequency energy and, if not installed and used in accordance with the instructions, may cause harmful interference to radio communications. However, there is no guarantee that interference will not occur in a particular installation. If this equipment does cause harmful interference to radio or television reception, which can be determined by turning the equipment off and on, the user is encouraged to try to correct the interference by one or more of the following measures:
- Reorient or relocate the receiving antenna.
- Increase the separation between the equipment and receiver.
- Connect the equipment into an outlet on a circuit different from that to which the receiver is connected.
- Consult the dealer or an experienced radio/TV technician for help
RF warning for Mobile device:
This equipment complies with FCC radiation exposure limits set forth for an uncontrolled environment. This equipment should be installed and operated with minimum distance 20cm between the radiator & your body.
Copyright
Except where expressly stated otherwise, no use should be made of the Documentation, Software, Hosted Service, or hardware provided by Nexvoo. All content the documentation, Hosted Service, and the product provided by Nexvoo including the selection, arrangement and design of the content is owned either by Nexvoo or its licensors and is protected by copyright, and other intellectual property laws including the sui generis rights relating to t he protection of databases. You may not modify, copy, reproduce, republish, upload, post, transmit or distribute in any way any content, in whole or in part including any code and software unless expressly authorized by Nexvoo. Unauthorized reproduction, transmission, dissemination, storage, and or use without the express written consent of Nexvoo can be a criminal, as well as a civil offense. Any Changes or modifications not expressly approved by the party responsible for compliance could void the user’s authority to operate the equipment.






























